TOP
|
特許
|
意匠
|
商標
特許ウォッチ
Twitter
他の特許を見る
10個以上の画像は省略されています。
公開番号
2025163980
公報種別
公開特許公報(A)
公開日
2025-10-30
出願番号
2024067664
出願日
2024-04-18
発明の名称
半導体装置及びその製造方法
出願人
株式会社東芝
代理人
弁理士法人iX
主分類
H10D
30/47 20250101AFI20251023BHJP()
要約
【課題】特性を向上可能な半導体装置及びその製造方法を提供する。
【解決手段】実施形態によれば、半導体装置は、第1~第3電極及び半導体部材を含む。半導体部材は、第1半導体領域及び第2半導体領域を含む。第1半導体領域は、Al
x1
Ga
1-x1
N(0≦x1<1)を含み、炭素を含む。第1半導体領域の第6部分領域における第1水素濃度は、第1半導体領域の第5部分領域における第2水素濃度よりも低い。第2半導体領域は、Al
x2
Ga
1-x2
N(x1<x2≦1)を含む。第2半導体領域は、第1半導体部分を含む。
【選択図】図1
特許請求の範囲
【請求項1】
第1電極と、
第2電極であって、前記第1電極から前記第2電極への方向は、第1方向に沿う、前記第2電極と、
第1電極部分を含む第3電極であって、前記第1電極部分の前記第1方向における位置は、前記第1電極の前記第1方向における位置と、前記第2電極の前記第1方向における位置と、の間にある、前記第3電極と、
半導体部材と、
を備え、前記半導体部材は、
Al
x1
Ga
1-x1
N(0≦x1<1)を含み、炭素を含む第1半導体領域であって、前記第1半導体領域は、第1部分領域、第2部分領域、第3部分領域、第4部分領域、第5部分領域及び第6部分領域を含み、前記第1部分領域から前記第1電極への方向は、前記第1方向と交差する第2方向に沿い、前記第2部分領域から前記第2電極への方向は、前記第2方向に沿い、前記第3部分領域から前記第1電極部分への方向は、前記第2方向に沿い、前記第4部分領域は前記第1部分領域と前記第3部分領域との間にあり、前記第5部分領域は前記第3部分領域と前記第2部分領域との間にあり、前記第6部分領域の少なくとも一部は、前記第1方向において前記第1電極部分と前記第5部分領域との間にあり、前記第6部分領域における第1水素濃度は、前記第5部分領域における第2水素濃度よりも低い、前記第1半導体領域と、
Al
x2
Ga
1-x2
N(x1<x2≦1)を含む第2半導体領域であって、前記第2半導体領域は、第1半導体部分を含み、前記第5部分領域から前記第1半導体部分への方向は、前記第2方向に沿う、前記第2半導体領域と、
を含む、半導体装置。
続きを表示(約 1,800 文字)
【請求項2】
前記第1水素濃度は、前記第6部分領域における第1炭素濃度の1/10以下である、請求項1に記載の半導体装置。
【請求項3】
前記第2水素濃度は、前記第5部分領域における第2炭素濃度の1/2以上である、請求項2に記載の半導体装置。
【請求項4】
前記第1電極と前記第1電極部分との間の前記第1方向に沿う第1距離は、前記第1電極部分と前記第2電極との間の前記第1方向に沿う第2距離よりも短い、請求項1に記載の半導体装置。
【請求項5】
前記第2半導体領域は、第2半導体部分をさらに含み、
前記第4部分領域から前記第2半導体部分への方向は、前記第2方向に沿う、請求項1に記載の半導体装置。
【請求項6】
前記第1半導体領域は、第7部分領域をさらに含み、
前記第7部分領域の少なくとも一部は、前記第1方向において前記第4部分領域と前記第1電極部分との間にあり、
前記第7部分領域における第3水素濃度は、前記第4部分領域における第4水素濃度よりも低い、請求項5に記載の半導体装置。
【請求項7】
前記第1電極部分は、前記第1方向において前記第2半導体部分と前記第1半導体部分との間にある、請求項5または6に記載の半導体装置。
【請求項8】
第1電極と、
第2電極と、
第1電極部分を含む第3電極と、
半導体部材と、
を備え、前記半導体部材は、
Al
x1
Ga
1-x1
N(0≦x1<1)を含み、炭素を含む第1半導体領域と、
Al
x2
Ga
1-x2
N(x1<x2≦1)を含む第2半導体領域と、
Al
x3
Ga
1-x3
N(0≦x3<1)を含み、シリコンを含む第3半導体領域と、
を含み、
前記第2電極から前記第1電極部分への第2方向は、前記第1電極から前記第2電極への第1方向と交差し、
前記第3半導体領域は、第1部分、第2部分及び第3部分を含み、
前記第1部分から前記第2電極への方向は、前記第1方向に沿い、
前記第2部分から前記第1電極部分への方向は前記第1方向に沿い、
前記第3部分は、前記第1部分と前記第2部分との間にあり、
前記第1半導体領域は、第1部分領域及び第2部分領域を含み、
前記第1部分領域は、前記第2方向において前記第2部分領域と前記第1電極部分との間にあり、
前記第1部分領域及び前記第2部分領域は、前記第1方向において前記第3部分と前記第2半導体領域との間にあり、
前記第1部分領域における第1水素濃度は、前記第2部分領域における第2水素濃度よりも低い、半導体装置。
【請求項9】
Al
x1
Ga
1-x1
N(0≦x1<1)を含み、水素及び炭素を含む第1半導体領域と、Al
x2
Ga
1-x2
N(x1<x2≦1)を含む第2半導体領域と、を含む半導体部材を準備し、
前記第1半導体領域の第1領域に含まれる水素の一部を除去し、前記第1領域における第1領域水素濃度を、前記第1半導体領域の第2領域における第2領域水素濃度よりも低くし、
前記第2半導体領域及び前記第2領域の一部を除去して凹部を形成し、前記凹部に電極を形成する、半導体装置の製造方法。
【請求項10】
Al
x1
Ga
1-x1
N(0≦x1<1)を含み、水素及び炭素を含む第1半導体領域と、Al
x2
Ga
1-x2
N(x1<x2≦1)を含む第2半導体領域と、を含む半導体部材を準備し、
前記第2半導体領域の一部及び前記第1半導体領域の一部を除去して凹部を形成し、
前記凹部及び前記第2半導体領域の一部に電極を形成し、前記第1半導体領域は、前記電極と重なる第1領域と、前記電極と重ならない第2領域と、を含み、
前記電極をマスクとして前記半導体部材に水素を導入し、前記第1領域における第1領域水素濃度を前記第2領域における第2領域水素濃度より低くする、半導体装置の製造方法。
発明の詳細な説明
【技術分野】
【0001】
本発明の実施形態は、半導体装置及びその製造方法に関する。
続きを表示(約 1,900 文字)
【背景技術】
【0002】
例えば、トランジスタなどの半導体装置において、特性の向上が望まれる。
【先行技術文献】
【特許文献】
【0003】
特開2017-162917号公報
【発明の概要】
【発明が解決しようとする課題】
【0004】
本発明の実施形態は、特性を向上可能な半導体装置及びその製造方法を提供する。
【課題を解決するための手段】
【0005】
本発明の実施形態によれば、半導体装置は、第1電極、第2電極、第3電極、及び、半導体部材を含む。前記第1電極から前記第2電極への方向は、第1方向に沿う。前記第3電極は、第1電極部分を含む。前記第1電極部分の前記第1方向における位置は、前記第1電極の前記第1方向における位置と、前記第2電極の前記第1方向における位置と、の間にある。前記半導体部材は、第1半導体領域及び第2半導体領域を含む。前記第1半導体領域は、Al
x1
Ga
1-x1
N(0≦x1<1)を含み、炭素を含む。前記第1半導体領域は、第1部分領域、第2部分領域、第3部分領域、第4部分領域、第5部分領域及び第6部分領域を含む。前記第1部分領域から前記第1電極への方向は、前記第1方向と交差する第2方向に沿う。前記第2部分領域から前記第2電極への方向は、前記第2方向に沿う。前記第3部分領域から前記第1電極部分への方向は、前記第2方向に沿う。前記第4部分領域は前記第1部分領域と前記第3部分領域との間にある。前記第5部分領域は前記第3部分領域と前記第2部分領域との間にある。前記第6部分領域の少なくとも一部は、前記第1方向において前記第1電極部分と前記第5部分領域との間にある。前記第6部分領域における第1水素濃度は、前記第5部分領域における第2水素濃度よりも低い。前記第2半導体領域は、Al
x2
Ga
1-x2
N(x1<x2≦1)を含む。前記第2半導体領域は、第1半導体部分を含む。前記第5部分領域から前記第1半導体部分への方向は、前記第2方向に沿う。
【図面の簡単な説明】
【0006】
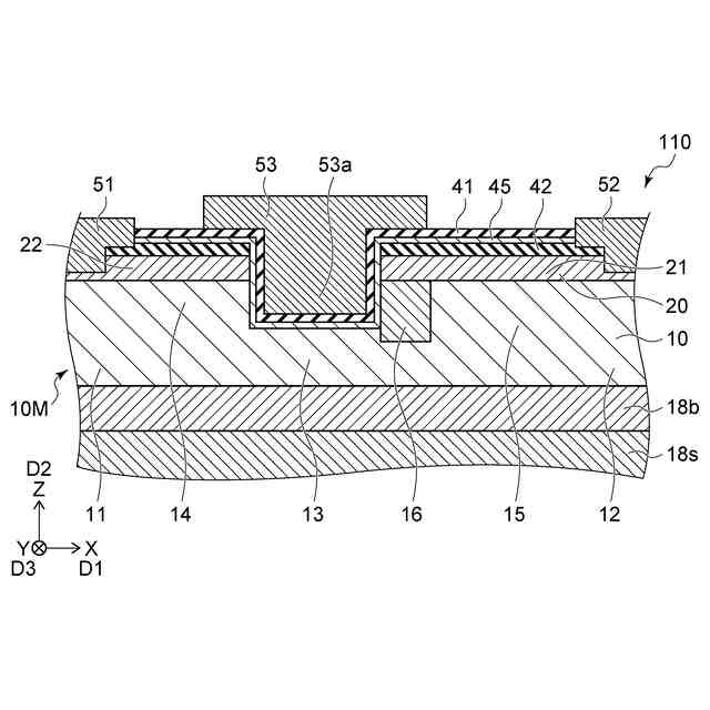
図1は、第1実施形態に係る半導体装置を例示する模式的断面図である。
図2は、半導体装置の特性を例示するグラフである。
図3は、半導体装置の特性を例示するグラフである。
図4は、第1実施形態に係る半導体装置を例示する模式的断面図である。
図5は、第1実施形態に係る半導体装置を例示する模式的断面図である。
図6は、第1実施形態に係る半導体装置を例示する模式的断面図である。
図7は、第2実施形態に係る半導体装置を例示する模式的断面図である。
図8は、第2実施形態に係る半導体装置を例示する模式的断面図である。
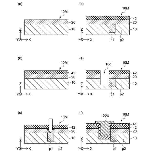
図9(a)~図9(f)は、第3実施形態に係る半導体装置の製造方法を例示する模式的断面図である。
図10(a)~図10(e)は、第3実施形態に係る半導体装置の製造方法を例示する模式的断面図である。
【発明を実施するための形態】
【0007】
以下に、本発明の各実施の形態について図面を参照しつつ説明する。
図面は模式的または概念的なものであり、各部分の厚さと幅との関係、部分間の大きさの比率などは、必ずしも現実のものと同一とは限らない。同じ部分を表す場合であっても、図面により互いの寸法や比率が異なって表される場合もある。
本願明細書と各図において、既出の図に関して前述したものと同様の要素には同一の符号を付して詳細な説明は適宜省略する。
【0008】
(第1実施形態)
図1は、第1実施形態に係る半導体装置を例示する模式的断面図である。
図1に示すように、実施形態に係る半導体装置110は、第1電極51、第2電極52、第3電極53及び半導体部材10Mを含む。
【0009】
第1電極51から第2電極52への方向は、第1方向D1に沿う。図1の例では、第1方向D1は、X軸方向に沿う。X軸方向に対して垂直な1つの方向をZ軸方向とする。X軸方向及びZ軸方向に対して垂直な方向をY軸方向とする。
【0010】
第3電極53は、第1電極部分53aを含む。第1電極部分53aの第1方向D1における位置は、第1電極51の第1方向D1における位置と、第2電極52の第1方向D1における位置と、の間にある。
(【0011】以降は省略されています)
この特許をJ-PlatPat(特許庁公式サイト)で参照する
関連特許
株式会社東芝
センサ
2か月前
株式会社東芝
センサ
2か月前
株式会社東芝
モータ
2か月前
株式会社東芝
電子源
今日
株式会社東芝
端子台
1か月前
株式会社東芝
電子回路
1か月前
株式会社東芝
吸音装置
2か月前
株式会社東芝
電子装置
2か月前
株式会社東芝
金型構造
2か月前
株式会社東芝
除去装置
29日前
株式会社東芝
電子装置
1か月前
株式会社東芝
半導体装置
1か月前
株式会社東芝
半導体装置
1か月前
株式会社東芝
半導体装置
1か月前
株式会社東芝
半導体装置
1か月前
株式会社東芝
半導体装置
1か月前
株式会社東芝
半導体装置
1か月前
株式会社東芝
半導体装置
15日前
株式会社東芝
真空バルブ
1か月前
株式会社東芝
半導体装置
今日
株式会社東芝
半導体装置
1か月前
株式会社東芝
半導体装置
2か月前
株式会社東芝
半導体装置
1か月前
株式会社東芝
半導体装置
1か月前
株式会社東芝
半導体装置
1か月前
株式会社東芝
半導体装置
1か月前
株式会社東芝
半導体装置
1か月前
株式会社東芝
半導体装置
1か月前
株式会社東芝
高周波回路
1か月前
株式会社東芝
半導体装置
1か月前
株式会社東芝
半導体装置
1か月前
株式会社東芝
真空バルブ
1か月前
株式会社東芝
半導体装置
7日前
株式会社東芝
粒子加速器
2か月前
株式会社東芝
半導体装置
2か月前
株式会社東芝
真空バルブ
1日前
続きを見る
他の特許を見る