TOP
|
特許
|
意匠
|
商標
特許ウォッチ
Twitter
他の特許を見る
10個以上の画像は省略されています。
公開番号
2025163966
公報種別
公開特許公報(A)
公開日
2025-10-30
出願番号
2024067644
出願日
2024-04-18
発明の名称
積層圧電アクチュエータ
出願人
株式会社トーキン
代理人
個人
,
個人
,
個人
主分類
H10N
30/05 20230101AFI20251023BHJP()
要約
【課題】高温環境下で長時間使用しても素子内部におけるショートの発生を抑制することのできる積層圧電アクチュエータを提供する。
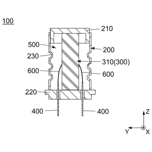
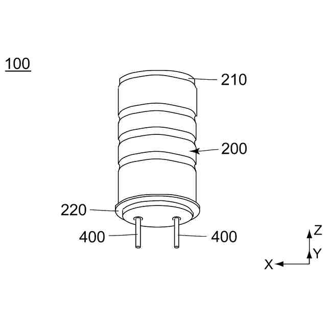
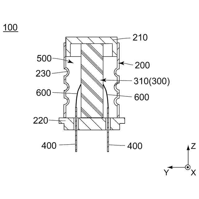
【解決手段】積層圧電アクチュエータ100は、金属ケース200と、金属ケース200の内部に収容された積層型圧電素子300と、積層型圧電素子300に接続されると共に金属ケース200外に引き出された端子400と、金属ケース200の内部に封入されたガス500とを備えている。ガス500における酸素濃度は10%以上50%以下である。
【選択図】図3
特許請求の範囲
【請求項1】
金属ケースと、前記金属ケースの内部に収容された積層型圧電素子と、前記積層型圧電素子に接続されると共に前記金属ケース外に引き出された端子と、前記金属ケースの内部に封入されたガスとを備える積層圧電アクチュエータであって、
前記ガスにおける酸素濃度は10%以上50%以下である
積層圧電アクチュエータ。
続きを表示(約 850 文字)
【請求項2】
請求項1記載の積層圧電アクチュエータであって、
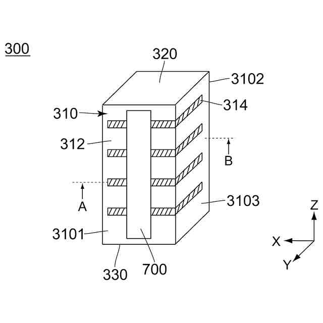
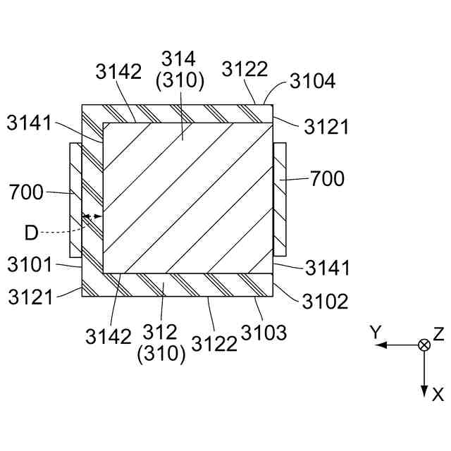
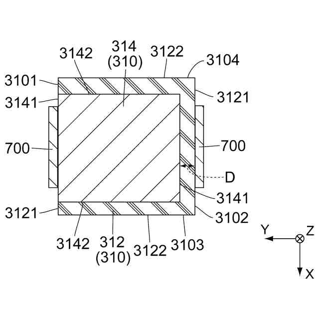
前記積層型圧電素子は、圧電セラミック層と内部電極層とを交互に積層した積層体を備えており、
前記圧電セラミック層は、PbTiO
3
-PbZrO
3
-Pb(Ni
1/3
Nb
2/3
)O
3
で表記される3成分系ジルコンチタン酸鉛(PZT)を主成分とし、添加物として、合量に対してMnOで表される酸化物に換算して0~0.05wt%(0を含まず)のMnを含んでいる
積層圧電アクチュエータ。
【請求項3】
請求項1又は請求項2記載の積層圧電アクチュエータであって、
前記積層型圧電素子は、圧電セラミック層と内部電極層とを交互に積層した積層体を備えており、
前記圧電セラミック層のキュリー温度は200℃以上であり、
前記端子は前記金属ケース外部においてショートした状態で出荷される
積層圧電アクチュエータ。
【請求項4】
請求項1又は請求項2記載の積層圧電アクチュエータであって、
前記積層型圧電素子は、圧電セラミック層と内部電極層とを交互に積層した積層体を備えており、
前記積層体は、積層方向に沿って見た場合に、前記内部電極層が前記圧電セラミック層よりも小さく且つ前記内部電極層の一部の端部は前記圧電セラミック層の端部と一致している一方で前記内部電極層の残りの一部の端部は前記圧電セラミック層の端部から離れている部分電極構造を有しており、
前記内部電極層の前記残りの一部の端部から前記圧電セラミック層の端部までの距離は、0.1mm以上である
積層圧電アクチュエータ。
【請求項5】
請求項1又は請求項2記載の積層圧電アクチュエータであって、
前記ガスの露点は-40℃以下である
積層圧電アクチュエータ。
発明の詳細な説明
【技術分野】
【0001】
本発明は、積層型圧電素子と、その積層型圧電素子を収容する金属ケースとを備える積層圧電アクチュエータに関する。
続きを表示(約 1,500 文字)
【背景技術】
【0002】
湿度の高い環境下で長期間使用した場合にマイグレーションにより電気的短絡が生じることを防ぐため、積層型圧電素子を金属ケースの内部に収容すると共に金属ケースを封止した積層圧電アクチュエータが知られている。この種の積層圧電アクチュエータは、例えば、特許文献1に開示されている。
【先行技術文献】
【特許文献】
【0003】
特開2010-192832号公報
【発明の概要】
【発明が解決しようとする課題】
【0004】
この種の積層圧電アクチュエータは、以前は主として-25℃~85℃といった温度範囲で使用されていたが、近年では、例えば半導体製造装置などのように、150℃以上という高温環境下で使用するような用途も出てきている。このような用途の場合、金属ケース内に封入されるガスとしては窒素が一般的である。
【0005】
しかしながら、上述したような高温環境下で積層圧電アクチュエータに長時間通電すると積層型圧電素子の絶縁抵抗が低下する場合がある。特に、圧電アクチュエータに対して1年程度通電した場合、素子内部においてショートするといった事象も散見される。
【0006】
そこで、本発明は、高温環境下で長時間使用しても素子内部におけるショートの発生を抑制することのできる積層圧電アクチュエータを提供することを目的とする。
【課題を解決するための手段】
【0007】
本発明の発明者は、研究の結果、高温環境下で絶縁抵抗が低下したのは、積層型圧電素子に含まれる圧電セラミック層において酸素欠陥が生じているためであることを突き止めた。そこで、窒素に代えて低湿度で酸素を含むガスを金属ケース内に封入したところ、絶縁抵抗の低下が抑制された。本発明は、かかる知見に基づいてなされたものであり、具体的には、以下に掲げる構成を備えている。
【0008】
即ち、本発明は、第1の積層圧電アクチュエータとして、
金属ケースと、前記金属ケースの内部に収容された積層型圧電素子と、前記積層型圧電素子に接続されると共に前記金属ケース外に引き出された端子と、前記金属ケースの内部に封入されたガスとを備える積層圧電アクチュエータであって、
前記ガスにおける酸素濃度は10%以上50%以下である
積層圧電アクチュエータを提供する。
【0009】
また、本発明は、第2の積層圧電アクチュエータとして、第1の積層圧電アクチュエータであって、
前記積層型圧電素子は、圧電セラミック層と内部電極層とを交互に積層した積層体を備えており、
前記圧電セラミック層は、PbTiO
3
-PbZrO
3
-Pb(Ni
1/3
Nb
2/3
)O
3
で表記される3成分系ジルコンチタン酸鉛(PZT)を主成分とし、添加物として、合量に対してMnOで表される酸化物に換算して0~0.05wt%(0を含まず)のMnを含んでいる
積層圧電アクチュエータを提供する。
【0010】
また、本発明は、第3の積層圧電アクチュエータとして、第1又は第2の積層圧電アクチュエータであって、
前記積層型圧電素子は、圧電セラミック層と内部電極層とを交互に積層した積層体を備えており、
前記圧電セラミック層のキュリー温度は200℃以上であり、
前記端子は前記金属ケース外部においてショートした状態で出荷される
積層圧電アクチュエータを提供する。
(【0011】以降は省略されています)
この特許をJ-PlatPat(特許庁公式サイト)で参照する
関連特許
株式会社トーキン
圧電振動子
1か月前
株式会社トーキン
電流センサ装置
28日前
株式会社トーキン
積層圧電アクチュエータ
28日前
株式会社トーキン
マルチインダクタの製造方法及びマルチインダクタ
8日前
個人
積和演算用集積回路
21日前
サンケン電気株式会社
半導体装置
20日前
エイブリック株式会社
縦型ホール素子
1か月前
エイブリック株式会社
縦型ホール素子
1か月前
日機装株式会社
半導体発光装置
15日前
旭化成株式会社
発光素子
1か月前
ローム株式会社
抵抗チップ
1か月前
富士電機株式会社
半導体装置
1か月前
三菱電機株式会社
半導体装置
29日前
株式会社半導体エネルギー研究所
表示装置
1か月前
三菱電機株式会社
半導体装置
7日前
株式会社東芝
半導体装置
7日前
ローム株式会社
半導体集積回路
29日前
日亜化学工業株式会社
発光装置
1か月前
日亜化学工業株式会社
発光装置
1か月前
TDK株式会社
圧電素子
1か月前
日亜化学工業株式会社
発光素子
1か月前
ローム株式会社
半導体装置
1か月前
株式会社半導体エネルギー研究所
発光デバイス
28日前
ローム株式会社
半導体装置
1か月前
株式会社半導体エネルギー研究所
発光デバイス
15日前
富士電機株式会社
半導体装置の製造方法
1か月前
サンケン電気株式会社
半導体装置
7日前
ローム株式会社
窒化物半導体装置
1か月前
ローム株式会社
窒化物半導体装置
1か月前
ローム株式会社
半導体装置
20日前
株式会社カネカ
太陽電池モジュール
1か月前
日亜化学工業株式会社
発光素子
20日前
大日本印刷株式会社
太陽電池
1か月前
サンケン電気株式会社
発光装置
1か月前
日本電気株式会社
超伝導量子回路装置
1か月前
株式会社MARUWA
発光装置及び照明器具
1か月前
続きを見る
他の特許を見る