TOP
|
特許
|
意匠
|
商標
特許ウォッチ
Twitter
他の特許を見る
公開番号
2025152417
公報種別
公開特許公報(A)
公開日
2025-10-09
出願番号
2024054301
出願日
2024-03-28
発明の名称
超伝導量子回路装置
出願人
日本電気株式会社
代理人
個人
,
個人
主分類
H10N
60/10 20230101AFI20251002BHJP()
要約
【課題】第1のチップのSQUIDループと第2のチップの配線との磁界結合の強度を確保し、量子ビットの性能指標である所望の内部Q値を確保可能とする。
【解決手段】配線層に、SQUID(superconducting quantum interference device)を含む量子ビット回路を含む第1のチップと、第1面に配線層を有し、前記第1面の前記配線層が前記第1のチップの前記配線層に対向して配置された第2のチップと、を備え、前記第1のチップの前記配線層が、前記量子ビット回路の前記SQUIDに併設して開口を備え、前記第2のチップの前記第1面の前記配線層が、一端が端子に接続され、他端がグランドに接続される配線を備え、前記配線は、前記第1のチップの少なくとも前記開口に対向する領域に、前記第1のチップの前記量子ビット回路に沿って延在され、前記他端でグランドパタンに接続される。
【選択図】図7
特許請求の範囲
【請求項1】
配線層に、SQUID(superconducting quantum interference device)を含む量子ビット回路を含む第1のチップと、
第1面に配線層を有し、前記第1面の前記配線層が前記第1のチップの前記配線層に対向して配置された第2のチップと、
を備え、
前記第1のチップの前記配線層が、前記量子ビット回路の前記SQUIDに併設して開口を備え、
前記第2のチップの前記第1面の前記配線層が、一端が端子に接続され、他端がグランドに接続される配線を備え、
前記配線は、前記第1のチップの少なくとも前記開口に対向する領域に、前記第1のチップの前記量子ビット回路に沿って延在され、前記他端でグランドパタンに接続される、超伝導量子回路装置。
続きを表示(約 1,000 文字)
【請求項2】
前記第1のチップにおいて、前記SQUIDは、前記量子ビット回路の超伝導配線に一端が接続され、他端がグランド電極に接続されたジョセフソン接合を含む、請求項1記載の超伝導量子回路装置。
【請求項3】
前記第1のチップにおいて、前記量子ビット回路の前記超伝導配線と、前記グランド電極と、前記超伝導配線と前記グランド電極間に並列に接続された2つの前記ジョセフソン接合が前記SQUIDのループを構成し、
前記グランド電極は、前記量子ビット回路から最も離間して配置される、請求項2記載の超伝導量子回路装置。
【請求項4】
前記第1のチップにおいて、前記開口は、前記グランド電極に隣接して配設されている請求項3記載の超伝導量子回路装置。
【請求項5】
前記第2のチップにおいて、前記配線と、前記配線の他端が接続する前記グランドパタンとが囲む領域は、前記第1のチップの前記SQUIDが配置される領域を含むか、一部で重なる、請求項1記載の超伝導量子回路装置。
【請求項6】
前記第2のチップにおいて、前記配線は、前記第1のチップの前記開口と重なる位置で折れ曲がり、前記第1のチップの前記量子ビット回路の前記SQUIDに並行に前記開口を横断し、前記開口端側に配設される前記グランドパタンに接続される、請求項1記載の超伝導量子回路装置。
【請求項7】
前記第2のチップにおいて、前記配線の他端が接続する前記グランドパタンは、前記第1のチップの少なくとも前記SQUIDが配置される領域を囲み、前記配線の前記折れ曲がりの位置を超えて延在され、前記配線が接続する前記端子側に向けて前記配線に併設されている、請求項6記載の超伝導量子回路装置。
【請求項8】
前記第2のチップにおいて、前記配線の他端が接続する前記グランドパタンは、前記配線の他端との接続部は、一部が前記第1のチップの前記配線層の前記開口の領域と重なる、請求項6記載の超伝導量子回路装置。
【請求項9】
動作時に、前記第2のチップの前記端子には信号源からの信号が供給され、前記配線に流れる電流によって生成される磁界が、前記第1のチップの前記開口を通過し前記量子ビット回路の前記SQUIDのループを貫く、請求項1記載の超伝導量子回路装置。
発明の詳細な説明
【技術分野】
【0001】
本開示は、超伝導量子回路装置に関する。
続きを表示(約 2,500 文字)
【背景技術】
【0002】
超伝導量子回路からなる量子ビットは、一般に、半導体基板表面に蒸着等で形成された超伝導材料の平面回路と、ループに複数のジョセフソン接合を含むSQUID(superconducting quantum interference device, 超伝導量子干渉デバイス)等の非線形インダクタから構成され、SQUIDループに磁場を印加して、量子ビットの状態を制御する。例えば特許文献1には、基板の第1面に量子ビットを備えた第1のチップと、基板の第1面に磁場を発生させるコイル配線(磁場印加用電流路)を備えた第2のチップとを備え、第2のチップのコイル配線の中心軸と、第1のチップの量子ビットのSQUIDループの中心軸とが重なるように位置を合わせて、第1のチップの第1面を、第2のチップの第1面に対向して接合した3次元配線構造の量子デバイスが開示されている。
【先行技術文献】
【特許文献】
【0003】
米国特許第10950654号明細書
【発明の概要】
【発明が解決しようとする課題】
【0004】
上記特許文献1のように、第2のチップのコイル配線の中心軸と第1のチップの量子ビット回路のSQUIDループの中心軸を合わせると、第1のチップと第2のチップが狭い場合、第2のチップのコイル配線の中心軸と第1のチップの量子ビット回路のSQUIDループの間でキャパシタンスが大きくなりやすい。この結果、第1のチップのSQUIDループと第2のチップのコイル配線との磁界結合の強度と、量子ビット回路の性能指標である内部Q値の大きさとがトレードオフの関係となり、これらを両立することは困難である。
【0005】
本開示は、上記課題に鑑みて創案されたものであって、第1のチップの量子ビット回路のSQUIDループと第2のチップの配線との磁界結合の強度を確保し、第1のチップの量子ビット回路の性能指標である所望の内部Q値を確保可能とした超伝導量子回路装置を提供することを目的としている。
【課題を解決するための手段】
【0006】
本開示によれば、超伝導量子回路装置は、配線層に、SQUID(superconducting quantum interference device)を含む量子ビット回路を含む第1のチップと、第1面に配線層を有し、前記第1面の前記配線層が前記第1のチップの前記配線層に対向して配置された第2のチップと、を備えている。前記第1のチップの前記配線層は、前記量子ビット回路の前記SQUIDに併設して開口を備えている。前記第2のチップの前記第1面の前記配線層は、一端が端子に接続され、他端がグランドに接続される配線を備え、前記配線は、前記第1のチップの少なくとも前記開口に対向する領域に、前記第1のチップの前記量子ビット回路に沿って延在され、前記他端でグランドパタンに接続される。
【発明の効果】
【0007】
本開示によれば、第1のチップの量子ビット回路のSQUIDループと第2のチップの配線との磁界結合の強度を確保し、第1のチップの量子ビット回路の性能指標である所望の内部Q値を確保可能としている。
【図面の簡単な説明】
【0008】
(A)、(B)は比較例を説明する図である。
(A)、(B)は比較例を説明する図である。
(A)、(B)は比較例を説明する図である。
(A)、(B)は本開示の一例を説明する図である。
(A)、(B)は本開示の一例を説明する図である。
本開示の一例を説明する図である。
本開示の一例を説明する図である。
本開示の一例を説明する図である。
(A)乃至(C)は本開示の一例を説明する図である。
(A)乃至(C)は本開示の一例を説明する図である。
(A)乃至(C)は本開示の一例を説明する図である。
本開示の一例を説明する図である。
【発明を実施するための形態】
【0009】
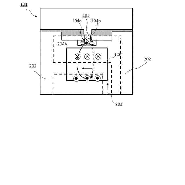
本開示のいくつかの実施形態について説明する。はじめに、本開示の理解のために、比較例として特許文献1に開示された量子デバイスについて本発明者による分析を与える。図1(A)、図1(B)は、特許文献1のFigure 5A、Figure 5B等に開示された量子デバイスを書き直した図面である。図1(A)は、第2のチップ311の配線レイアウトを模式的に示す平面図であり、図1(B)は、第1のチップ301の配線レイアウトを模式的に示す平面図である。図1(A)、図1(B)において、白色の領域は超伝導材料の層が存在する領域に対応し、灰色の領域は超伝導材料が存在せず、チップの基板が露出している場合があり得る領域に対応する。
【0010】
図1(A)を参照すると、第2のチップ311において、超伝導体層から形成されたコイル配線(バイアスコイル)は超伝導体のグランド面501に結合された第1部分504と、デバイスの動作中に制御信号を供給する信号源に結合される第2部分506と、ループ部508とを含む。コイル配線のループ部508は、内側ループエッジ503と外側ループエッジ505を含む。外側ループエッジ505は、ギャップ(間隙)507を介して超伝導体のグランド面501の縁と対向している(グランド面501から分離されている)。図1(A)に示すように、第2のチップ311において、第1部分504および第2部分506の超伝導体材料の幅509は、ループ部508の超伝導体材料の幅511よりも、はるかに狭く設定されている。リターン電流を適切な経路とするため、バイアス線が短絡される部分にはグランド接続が行われる。例えばコイル配線の両側に不図示のバンプ(グランドバンプ)が用いられる。
(【0011】以降は省略されています)
この特許をJ-PlatPat(特許庁公式サイト)で参照する
関連特許
日本電気株式会社
管理装置
18日前
日本電気株式会社
監視装置
18日前
日本電気株式会社
監視装置
18日前
日本電気株式会社
海底分岐装置
19日前
日本電気株式会社
光モジュール
5日前
日本電気株式会社
異常検知装置
10日前
日本電気株式会社
光集積回路素子
23日前
日本電気株式会社
レーザモジュール
24日前
日本電気株式会社
超伝導量子回路装置
24日前
日本電気株式会社
受信器および通信装置
25日前
日本電気株式会社
システム、装置及び方法
24日前
日本電気株式会社
光伝送システムおよび方法
26日前
日本電気株式会社
ラインカード及びイジェクタ
16日前
日本電気株式会社
制御装置、プログラム及び方法
24日前
日本電気株式会社
兆候検知装置および兆候検知方法
26日前
日本電気株式会社
演算処理装置および演算処理方法
26日前
日本電気株式会社
推定装置、推定方法及びプログラム
24日前
日本電気株式会社
交渉装置、交渉方法及びプログラム
5日前
日本電気株式会社
ソーナー装置、通信方法、プログラム
26日前
日本電気株式会社
レコメンド装置およびレコメンド方法
12日前
日本電気株式会社
情報処理装置、制御方法及び記憶媒体
24日前
日本電気株式会社
端末、端末の制御方法及びプログラム
16日前
日本電気株式会社
学習装置、学習方法及び学習プログラム
24日前
日本電気株式会社
安否確認支援装置、方法及びプログラム
19日前
日本電気株式会社
動作認識装置、動作認識方法、プログラム
26日前
日本電気株式会社
追跡支援装置、追跡支援方法及びプログラム
23日前
日本電気株式会社
処理システム、処理方法、およびプログラム
11日前
日本電気株式会社
追跡支援装置、追跡支援方法及びプログラム
23日前
日本電気株式会社
行動推奨装置、行動推奨方法及びプログラム
10日前
日本電気株式会社
合意判定装置、合意判定方法及びプログラム
3日前
日本電気株式会社
情報処理装置、提示方法、およびプログラム
24日前
日本電気株式会社
視聴支援装置、視聴支援方法及びプログラム
3日前
日本電気株式会社
情報処理装置、計算方法、およびプログラム
24日前
日本電気株式会社
処理システム、処理方法、およびプログラム
9日前
日本電気株式会社
情報処理装置、情報処理方法及びプログラム
24日前
日本電気株式会社
健康管理装置、健康管理方法及びプログラム
5日前
続きを見る
他の特許を見る