TOP
|
特許
|
意匠
|
商標
特許ウォッチ
Twitter
他の特許を見る
公開番号
2025166895
公報種別
公開特許公報(A)
公開日
2025-11-07
出願番号
2024071076
出願日
2024-04-25
発明の名称
発光装置
出願人
シチズン電子株式会社
代理人
個人
,
個人
,
個人
,
個人
主分類
H10H
20/853 20250101AFI20251030BHJP()
要約
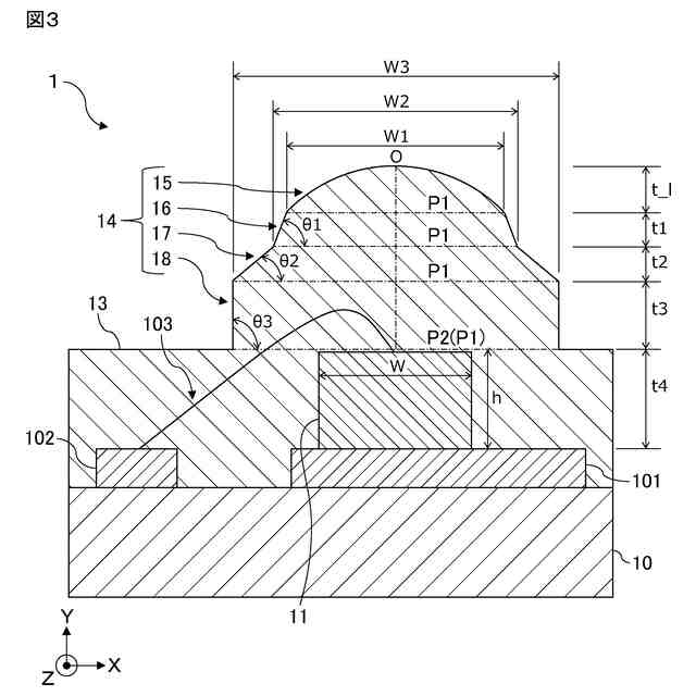
【課題】発光素子が位置ずれして配置され得る場合においても、所定角度に対する放射強度を一定に保つことができる発光装置を提供することを目的とする。
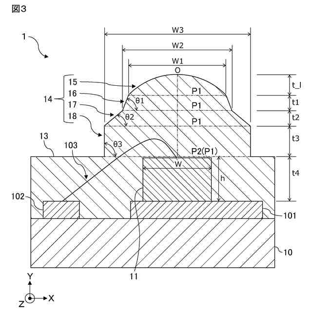
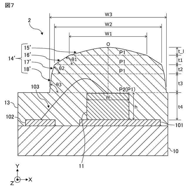
【解決手段】発光装置は、基板と、基板上に配置された発光素子と、発光素子を封止する透光性封止部材と、を有し、透光性封止部材は、一体的に形成された基部及び出射光調整部から構成され、発光素子は、基部の内部に封止され、出射光調整部は、発光素子の上方に配置され、出射光調整部は、最上部のレンズ部、レンズ部と接続された第1テーパー部、第1テーパー部と接続された第2テーパー部、第2テーパー部及び基部と接続された第3テーパー部を有し、基部の上面と第3テーパー部とがなす角度(θ3)は、75度以上且つ90度未満であることを特徴とする。
【選択図】図3
特許請求の範囲
【請求項1】
基板と、
前記基板上に配置された発光素子と、
前記発光素子を封止する透光性封止部材と、を有し、
前記透光性封止部材は、一体的に形成された基部及び出射光調整部から構成され、
前記発光素子は、前記基部の内部に封止され、
前記出射光調整部は、前記発光素子の上方に配置され、
前記出射光調整部は、最上部のレンズ部、前記レンズ部と接続された第1テーパー部、前記第1テーパー部と接続された第2テーパー部、前記第2テーパー部及び前記基部と接続された第3テーパー部を有し、
前記基部の上面と前記第3テーパー部とがなす角度(θ3)は、75度以上且つ90度未満である、
ことを特徴とする発光装置。
続きを表示(約 310 文字)
【請求項2】
前記基板と平行な平面に対して前記第2テーパー部がなす角度(θ2)は、 30度以上且つ90度未満である、請求項1に記載の発光装置。
【請求項3】
前記基板と平行な平面に対して前記第1テーパー部がなす角度(θ1)は、 20度以上且つ90度未満である、請求項2に記載の発光装置。
【請求項4】
前記第1テーパー部、前記第2テーパー部、及び、第3テーパー部は、円錐形状を有する、請求項1~3の何れか一項に記載の発光装置。
【請求項5】
前記基部は直方体形状であり、前記基部は、ダイシングによって形成された側面を有する、請求項1~3の何れか一項に記載の発光装置。
発明の詳細な説明
【技術分野】
【0001】
本発明は、発光装置に関する。
続きを表示(約 1,000 文字)
【背景技術】
【0002】
従来から、赤外線を発光する発光装置が知られている。例えば特許文献1には、赤外線を発光する発光装置において、レンズ成型時に金型からレンズを抜けやすくするため、レンズにテーパー部を設ける構成が開示されている。
【先行技術文献】
【特許文献】
【0003】
特開2017-069587号公報
【発明の概要】
【発明が解決しようとする課題】
【0004】
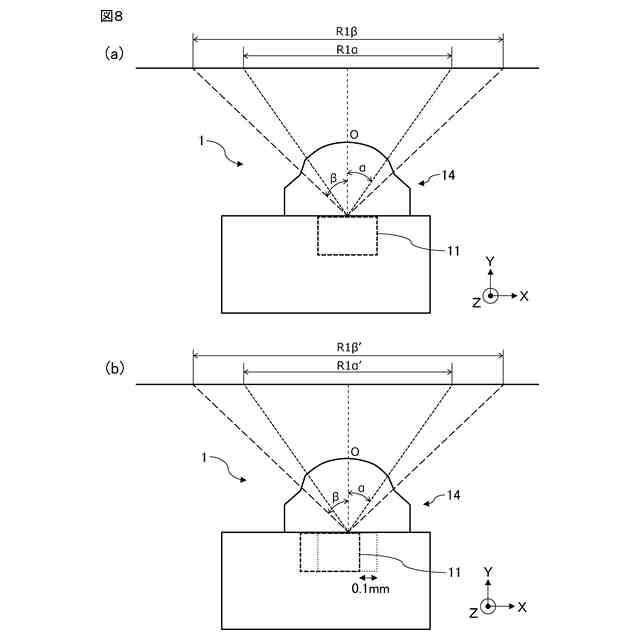
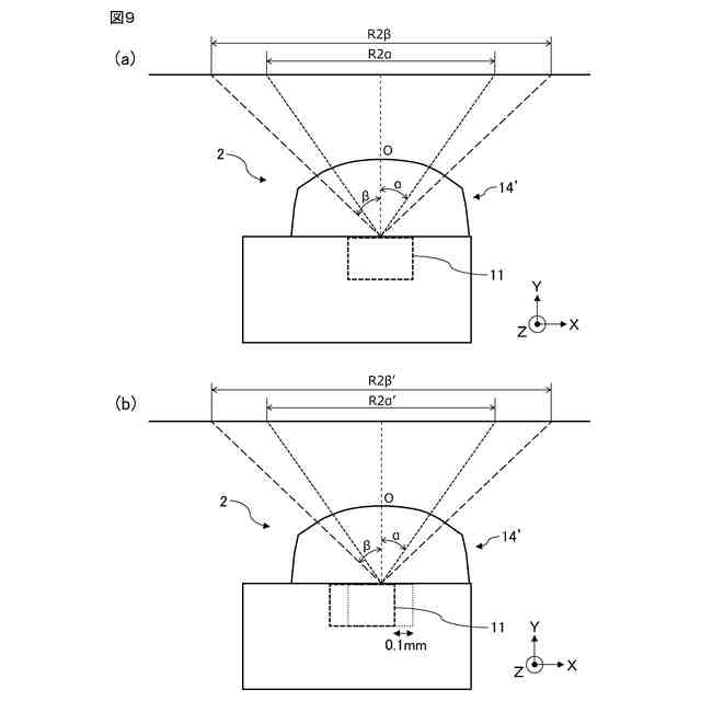
しかしながら、発光装置内に配置される発光素子が、製造上の制約により当初予定していた位置よりもずれて配置され、それに伴って発光装置から出射される赤外線の指向特性が変化してしまう場合があった。
【0005】
本発明は、発光素子が位置ずれして配置された場合においても、指向特性を所定範囲内に維持することができる発光装置を提供することを目的とする。
【課題を解決するための手段】
【0006】
本発明に係る発光装置は、基板と、基板上に配置された発光素子と、発光素子を封止する透光性封止部材と、を有し、透光性封止部材は、一体的に形成された基部及び出射光調整部から構成され、発光素子は、基部の内部に封止され、出射光調整部は、発光素子の上方に配置され、出射光調整部は、最上部のレンズ部、レンズ部と接続された第1テーパー部、第1テーパー部と接続された第2テーパー部、第2テーパー部及び基部と接続された第3テーパー部を有し、基部の上面と第3テーパー部とがなす角度(θ3)は、75度以上且つ90度未満であることを特徴とする。
【0007】
さらに、本発明に係る発光装置では、基板と平行な平面に対して第2テーパー部がなす角度(θ2)は、 30度以上且つ90度未満であることが好ましい。
【0008】
さらに、本発明に係る発光装置では、基板と平行な平面に対して第1テーパー部がなす角度(θ1)は、 20度以上且つ90度未満であることが好ましい。
【0009】
さらに、本発明に係る発光装置では、第1テーパー部、第2テーパー部、及び、第3テーパー部は、円錐形状を有することが好ましい。
【0010】
さらに、本発明に係る発光装置では、基部は直方体形状であり、基部は、ダイシングによって形成された側面を有することが好ましい。
【発明の効果】
(【0011】以降は省略されています)
この特許をJ-PlatPat(特許庁公式サイト)で参照する
関連特許
個人
積和演算用集積回路
3日前
サンケン電気株式会社
半導体装置
2日前
旭化成株式会社
発光素子
12日前
エイブリック株式会社
縦型ホール素子
26日前
エイブリック株式会社
縦型ホール素子
26日前
ローム株式会社
抵抗チップ
17日前
株式会社半導体エネルギー研究所
表示装置
26日前
富士電機株式会社
半導体装置
23日前
三菱電機株式会社
半導体装置
11日前
日亜化学工業株式会社
発光装置
1か月前
日亜化学工業株式会社
発光装置
12日前
ローム株式会社
半導体集積回路
11日前
株式会社半導体エネルギー研究所
発光デバイス
10日前
ローム株式会社
窒化物半導体装置
17日前
ローム株式会社
半導体装置
2日前
富士電機株式会社
半導体装置の製造方法
25日前
ローム株式会社
半導体装置
16日前
ローム株式会社
窒化物半導体装置
26日前
ローム株式会社
半導体装置
18日前
大日本印刷株式会社
太陽電池
19日前
日亜化学工業株式会社
発光素子
2日前
株式会社カネカ
太陽電池モジュール
1か月前
株式会社MARUWA
発光装置及び照明器具
1か月前
サンケン電気株式会社
発光装置
1か月前
ローム株式会社
RAM
1か月前
日亜化学工業株式会社
発光素子
2日前
日亜化学工業株式会社
発光装置
11日前
今泉工業株式会社
光発電装置及びその製造方法
16日前
日亜化学工業株式会社
発光装置
4日前
ローム株式会社
光センサ
24日前
日本ゼオン株式会社
構造体
4日前
住友化学株式会社
発光素子
26日前
ローム株式会社
半導体装置
2日前
日亜化学工業株式会社
発光装置の製造方法及び発光装置
11日前
株式会社東芝
半導体装置及びウエーハ
11日前
ローム株式会社
半導体装置
1か月前
続きを見る
他の特許を見る