TOP
|
特許
|
意匠
|
商標
特許ウォッチ
Twitter
他の特許を見る
10個以上の画像は省略されています。
公開番号
2025151316
公報種別
公開特許公報(A)
公開日
2025-10-09
出願番号
2024052662
出願日
2024-03-28
発明の名称
半導体装置、および通信システム
出願人
ローム株式会社
代理人
弁理士法人 佐野特許事務所
主分類
G06F
13/42 20060101AFI20251002BHJP(計算;計数)
要約
【課題】自身とは異なるプロトコルのデバイスとともに通信システムを効果的に構築することが可能となる半導体装置を提供する。
【解決手段】半導体装置(1)において、第1受信部(11)および第1送信部(12)は、受信データ(RX)に含まれるデバイス(10)のプロトコルに対応したデータ(DDT)を第2バス(BS2)へスルー出力するように構成され、前記受信データに含まれる前記スルー出力の前のフレーム(SYN,RWD,ND1,ND2)におけるスタートビットとストップビットの間のデータビットのビット数である第1ビット数と、前記デバイスに対して前記スルー出力により出力するデータのフレーム(DDTF)におけるスタートビットとストップビットの間のデータビットのビット数である第2ビット数は異ならせることが可能である。
【選択図】図3
特許請求の範囲
【請求項1】
外部の送信装置と第1バスにより接続可能、かつ外部のデバイスと第2バスにより接続可能な半導体装置であって、
前記送信装置から前記第1バスを介してシリアルデータである受信データを受信可能に構成される第1受信部と、
前記デバイスと前記第2バスを介して接続可能に構成される第1送信部と、を備え、
前記第1受信部および前記第1送信部は、前記受信データに含まれるブリッジ選択データが前記第1バスと前記第2バスとの間でビットデータをそのまま出力するスルー出力のオンを示している場合、前記受信データに含まれる前記デバイスのプロトコルに対応したデータを前記第2バスへスルー出力するように構成され、
前記受信データに含まれる前記スルー出力の前のフレームにおけるスタートビットとストップビットの間のデータビットのビット数である第1ビット数と、
前記デバイスに対して前記スルー出力により出力するデータのフレームにおけるスタートビットとストップビットの間のデータビットのビット数である第2ビット数は異ならせることが可能である、半導体装置。
続きを表示(約 620 文字)
【請求項2】
前記第1ビット数と異なる、または同じになるように前記第2ビット数を可変に設定可能である、請求項1に記載の半導体装置。
【請求項3】
前記第2ビット数を設定するための情報を設定可能なレジスタを備える、請求項2に記載の半導体装置。
【請求項4】
前記第1バスおよび前記第2バスは、いずれもUARTに対応する、請求項1に記載の半導体装置。
【請求項5】
前記第1バスはUARTに対応し、前記第2バスはUARTと異なる通信フォーマットに対応する、請求項1に記載の半導体装置。
【請求項6】
前記通信フォーマットは、SPIである、請求項5に記載の半導体装置。
【請求項7】
前記デバイスと前記第2バスを介して接続可能に構成される第2受信部と、
前記第1バスに接続可能に構成される第2送信部と、を備え、
前記第2受信部および前記第2送信部は、スタートビットとストップビットと前記第2ビット数のデータビットとを含むフレームを含む送信データを前記第1バスへスルー出力するように構成される、請求項1に記載の半導体装置。
【請求項8】
請求項1から請求項7のいずれか1項に記載の半導体装置と、前記送信装置と、前記デバイスと、を備える通信システム。
【請求項9】
車両に搭載可能である請求項8に記載の通信システム。
発明の詳細な説明
【技術分野】
【0001】
本開示は、半導体装置に関する。
続きを表示(約 1,700 文字)
【背景技術】
【0002】
シリアル通信機能を備えた半導体装置が種々のアプリケーションで利用されている。
【0003】
なお、シリアル通信に関する回路技術の一例は、特許文献1に開示されている。
【先行技術文献】
【特許文献】
【0004】
特開2017-224946号公報
【0005】
[概要]
ここで、アプリケーションにおいては、自身の半導体装置とともに、自身とは異なるプロトコルを用いてシリアル通信を行う半導体装置(デバイス)を使用して通信システムを構築する場合がある。
【0006】
本開示は、自身とは異なるプロトコルのデバイスとともに通信システムを効果的に構築することが可能となる半導体装置を提供することを目的とする。
【0007】
本開示の一態様に係る半導体装置は、
外部の送信装置と第1バスにより接続可能、かつ外部のデバイスと第2バスにより接続可能な半導体装置であって、
前記送信装置から前記第1バスを介してシリアルデータである受信データを受信可能に構成される第1受信部と、
前記デバイスと前記第2バスを介して接続可能に構成される第1送信部と、を備え、
前記第1受信部および前記第1送信部は、前記受信データに含まれるブリッジ選択データが前記第1バスと前記第2バスとの間でビットデータをそのまま出力するスルー出力のオンを示している場合、前記受信データに含まれる前記デバイスのプロトコルに対応したデータを前記第2バスへスルー出力するように構成され、
前記受信データに含まれる前記スルー出力の前のフレームにおけるスタートビットとストップビットの間のデータビットのビット数である第1ビット数と、
前記デバイスに対して前記スルー出力により出力するデータのフレームにおけるスタートビットとストップビットの間のデータビットのビット数である第2ビット数は異ならせることが可能である構成としている。
【図面の簡単な説明】
【0008】
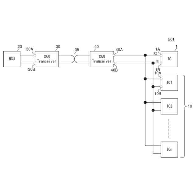
図1は、第1比較例に係る通信システムの構成を示す図である。
図2は、第2比較例に係る通信システムの構成を示す図である。
図3は、本開示の例示的な実施形態に係る通信システムの構成を示す図である。
図4は、本開示の例示的な実施形態に係る半導体装置のブロック図である。
図5は、半導体装置1を対象デバイスとしてWriteあるいはReadを行う場合の受信データRXのデータ構成を示す図である。
図6は、本開示の実施形態に係る通信システムの構成例を示す図である。
図7は、デバイス10を対象デバイスとしてWriteあるいはReadを行う場合の受信データRXのデータ構成を示す図である。
図8は、ブリッジモード情報BRMODEの一例を示す図である。
図9は、デバイス10に対するWriteを行う場合の通信制御を示すタイミングチャートである。
図10は、デバイス10に対するReadを行う場合の通信制御を示すタイミングチャートである。
図11は、本開示の変形例に係る通信システムの構成例を示す図である。
図12は、車両の一例を示す外観図である。
【0009】
[詳細な説明]
以下、本開示の例示的な実施形態について、図面を参照して説明する。
【0010】
<1.通信システム>
図1は、本開示の実施形態との対比のための第1比較例に係る通信システム501の構成を示す図である。通信システム501は、MCU(Micro Controller Unit)20と、CAN(Controller Area Network)トランシーバ30と、CANトランシーバ40と、半導体装置1と、n個(nは1以上の整数)のデバイス10と、を備える。通信システム501は、一例として車載用としており、以下説明する他の通信システムについても同様である。
(【0011】以降は省略されています)
この特許をJ-PlatPat(特許庁公式サイト)で参照する
関連特許
ローム株式会社
光センサ
25日前
ローム株式会社
半導体装置
3日前
ローム株式会社
半導体装置
17日前
ローム株式会社
半導体装置
26日前
ローム株式会社
半導体装置
25日前
ローム株式会社
半導体装置
25日前
ローム株式会社
半導体装置
19日前
ローム株式会社
半導体装置
19日前
ローム株式会社
半導体装置
18日前
ローム株式会社
半導体装置
3日前
ローム株式会社
半導体装置
17日前
ローム株式会社
抵抗チップ
18日前
ローム株式会社
半導体装置
3日前
ローム株式会社
半導体集積回路
12日前
ローム株式会社
窒化物半導体装置
18日前
ローム株式会社
窒化物半導体装置
27日前
ローム株式会社
自己診断システム
20日前
ローム株式会社
半導体メモリ装置
5日前
ローム株式会社
半導体パッケージ
18日前
ローム株式会社
半導体装置、電子機器、車両
12日前
ローム株式会社
半導体装置、電子機器、車両
12日前
ローム株式会社
信号伝達装置、電子機器、車両
27日前
ローム株式会社
パルス幅変調回路およびモータ駆動装置
12日前
ローム株式会社
半導体装置および半導体装置の製造方法
3日前
ローム株式会社
電圧電流変換回路および半導体集積回路
12日前
ローム株式会社
力率改善回路、制御装置、および電子機器
3日前
ローム株式会社
半導体装置、および半導体装置の製造方法
3日前
ローム株式会社
電流生成回路、半導体装置、電子機器及び車両
24日前
ローム株式会社
モータドライバ回路およびハードディスク装置
20日前
ローム株式会社
電源制御装置、DC/DCコンバータ、および車両
13日前
ローム株式会社
三相ブラシレスモータのドライバ回路および駆動方法
5日前
ローム株式会社
圧電アクチュエータ及び圧電アクチュエータの駆動方法
24日前
ローム株式会社
半導体装置
13日前
ローム株式会社
半導体装置
11日前
ローム株式会社
半導体装置
27日前
ローム株式会社
半導体装置
19日前
続きを見る
他の特許を見る