TOP
|
特許
|
意匠
|
商標
特許ウォッチ
Twitter
他の特許を見る
公開番号
2025145533
公報種別
公開特許公報(A)
公開日
2025-10-03
出願番号
2024045747
出願日
2024-03-21
発明の名称
不揮発性半導体記憶装置
出願人
ローム株式会社
代理人
弁理士法人太陽国際特許事務所
主分類
G11C
16/04 20060101AFI20250926BHJP(情報記憶)
要約
【課題】消去対象のメモリセルの記憶内容を消去する際に、消去非対象のメモリセルに誤った記憶内容が書込まれてしまう誤書込みを防止する。
【解決手段】複数のメモリセルのそれぞれは、フローティングゲート20、40の電位を制御するための制御用容量11、31と、フローティングゲート20、40から電荷を引き抜くためのトンネル用容量12、32と、フローティングゲート20、40に電荷を注入するための書込み用容量13、33とを備えている。トンネル用容量12、32に接続されたトンネルラインTLが、複数のブロック毎にそれぞれ1本ずつ接続され、1つのブロック内では複数のメモリセルに対して共通に接続されている。書込み用容量13、33に接続されたデータラインDLが、複数のブロック内の異なるタイミングで書込みが行われる複数のメモリセルに対して共通に接続されている。
【選択図】図7
特許請求の範囲
【請求項1】
他の部分とは電気的に絶縁されたフローティングゲートに電荷が注入されているか否かにより情報を保持する複数のメモリセルにより構成された不揮発性半導体記憶装置であって、
前記複数のメモリセルが、保持情報の書込み・消去を一括して行う単位毎に構成された複数のブロックにより構成され、
前記複数のメモリセルのそれぞれが、フローティングゲートの電位を制御するための制御用容量と、前記フローティングゲートから電荷を引き抜くためのトンネル用容量と、前記フローティングゲートに電荷を注入するための書込み用容量とを備え、
前記トンネル用容量に接続されたトンネルラインが、前記複数のブロック毎にそれぞれ1本ずつ接続され、1つのブロック内では複数のメモリセルに対して共通に接続されている、
前記書込み用容量に接続されたデータラインが、前記複数のブロック内の異なるタイミングで書込みが行われる複数のメモリセルに対して共通に接続されている、
を不揮発性半導体記憶装置。
続きを表示(約 310 文字)
【請求項2】
前記フローティングゲートに電荷が注入されているか否かを読み出すための読出しトランジスタをさらに備え、
前記制御用容量、前記トンネル用容量、及び前記書込み用容量のそれぞれ一方の電極と、前記読出しトランジスタのゲート電極とから前記フローティングゲートが構成される、
請求項1に記載の不揮発性半導体記憶装置。
【請求項3】
前記複数のメモリセルのそれぞれが、お互いに論理が反転した情報を記憶する正セル及び補セルから構成され、
前記データラインは、前記正セル用のデータラインと、前記補セル用のデータラインとから構成される、
請求項1に記載の不揮発性半導体記憶装置。
発明の詳細な説明
【技術分野】
【0001】
本発明は、不揮発性半導体記憶装置に関する。
続きを表示(約 1,800 文字)
【背景技術】
【0002】
フラッシュメモリ等の不揮発性記憶装置では、絶縁膜により他の部分から電気的に絶縁されたフローティングゲートに電荷を注入することにより、情報を記憶するよう構成されている。このような不揮発性半導体記憶装置では、FN(Fowler Nordheim)トンネル効果を用いてフローティングゲートに電荷を注入したり、フローティングゲートから電荷を引き抜いたりする構成のものが存在する(例えば、特許文献1参照。)。
【先行技術文献】
【特許文献】
【0003】
特開2020-120044号公報
【発明の概要】
【発明が解決しようとする課題】
【0004】
しかし、このような不揮発性半導体記憶装置において、電荷を注入したり引き抜いたりするためのトンネル用容量に接続されたトンネルラインが、消去対象ブロックのメモリセルと消去非対象ブロックのメモリセルとに共通に接続されていると、フローティングゲートに電荷が注入されているか否かを読み出すための読出しトランジスタのソース端子からフローティングゲートに電荷が注入されてしまい、消去対象ブロックのメモリセルの消去時に消去非対象ブロックのメモリセルに対して誤書込みが発生するという問題があった。
【0005】
そこで、本発明の目的は、消去対象のメモリセルの記憶内容を消去する際に、消去非対象のメモリセルに誤った記憶内容が書込まれてしまう誤書込みを防止することが可能な不揮発性半導体記憶装置を提供することである。
【課題を解決するための手段】
【0006】
上記課題を解決するために、本発明の不揮発性半導体記憶装置は、他の部分とは電気的に絶縁されたフローティングゲートに電荷が注入されているか否かにより情報を保持する複数のメモリセルにより構成された不揮発性半導体記憶装置であって、
前記複数のメモリセルが、保持情報の書込み・消去を一括して行う単位毎に構成された複数のブロックにより構成され、
前記複数のメモリセルのそれぞれが、フローティングゲートの電位を制御するための制御用容量と、前記フローティングゲートから電荷を引き抜くためのトンネル用容量と、前記フローティングゲートに電荷を注入するための書込み用容量とを備え、
前記トンネル用容量に接続されたトンネルラインが、前記複数のブロック毎にそれぞれ1本ずつ接続され、1つのブロック内では複数のメモリセルに対して共通に接続されている、
前記書込み用容量に接続されたデータラインが、前記複数のブロック内の異なるタイミングで書込みが行われる複数のメモリセルに対して共通に接続されている。
【図面の簡単な説明】
【0007】
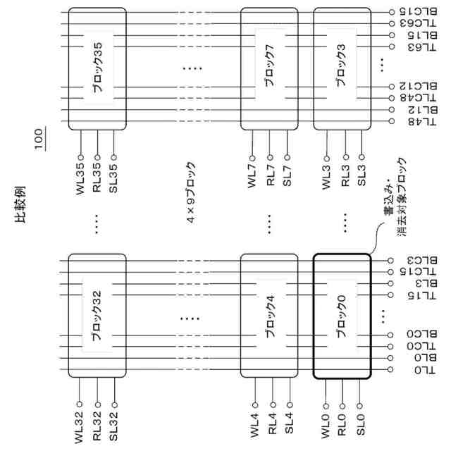
比較例である不揮発性半導体記憶装置100のメモリアレイ構成を示す図である。
図1に示した比較例の不揮発性半導体記憶装置100のメモリセル構成を示す図である。
図1に示した比較例の不揮発性半導体記憶装置100における消去時の動作を説明するための図である。
図1に示した比較例の不揮発性半導体記憶装置100における書込みの動作を説明するための図である。
本発明の一実施形態の不揮発性半導体記憶装置10のメモリアレイ構成を示す図である。
図5に示した本発明の一実施形態の不揮発性半導体記憶装置10のメモリセル構成を示す図である。
図5に示した本発明の一実施形態の不揮発性半導体記憶装置10における消去時の動作を説明するための図である。
図5に示した本発明の一実施形態の不揮発性半導体記憶装置10における書込みの動作を説明するための図である。
【発明を実施するための形態】
【0008】
次に、本発明の実施の形態について図面を参照して詳細に説明する。
【0009】
まず、本実施形態の不揮発性半導体記憶装置について説明する前に、比較例の不揮発性半導体記憶装置について説明する。
【0010】
図1はこの比較例である不揮発性半導体記憶装置100のメモリアレイ構成を示す図である。
(【0011】以降は省略されています)
この特許をJ-PlatPat(特許庁公式サイト)で参照する
関連特許
ローム株式会社
半導体装置
今日
ローム株式会社
半導体装置
6日前
ローム株式会社
半導体装置
1日前
ローム株式会社
半導体装置
今日
ローム株式会社
半導体集積回路
今日
ローム株式会社
半導体集積回路
今日
ローム株式会社
半導体装置および車両
今日
ローム株式会社
電源制御装置及び電源装置
6日前
ローム株式会社
電源制御装置、スイッチング電源
6日前
ローム株式会社
整流回路およびAC/DCコンバータ
2日前
ローム株式会社
整流回路およびAC/DCコンバータ
2日前
ローム株式会社
整流回路およびAC/DCコンバータ
2日前
ローム株式会社
イグナイタおよび内燃機関点火システム
2日前
ローム株式会社
ドライバ、信号伝達装置、電子機器、車両
6日前
ローム株式会社
モータドライバ回路およびサーバー冷却システム
今日
ローム株式会社
半導体装置
今日
ローム株式会社
半導体装置
6日前
ローム株式会社
半導体装置
6日前
ローム株式会社
双方向DC/DCコンバータ、電源遮断保護回路および半導体装置
7日前
ローム株式会社
トランスデューサ、共振器、発振器及びトランスデューサの製造方法
6日前
ローム株式会社
窒化物半導体装置、半導体モジュール、および窒化物半導体装置の製造方法
今日
ローム株式会社
相互コンダクタンスアンプ、コントローラ回路およびそれを備えるDC/DCコンバータ
今日
日本発條株式会社
記録装置
2か月前
RAMXEED株式会社
記憶装置
1か月前
株式会社ナノバブル研究所
データ消去装置
2か月前
ローム株式会社
RAM
2か月前
株式会社東芝
磁気ヘッド、及び、磁気記録装置
1か月前
ローム株式会社
半導体メモリ装置
1か月前
ローム株式会社
不揮発性メモリ装置
2か月前
ローム株式会社
不揮発性メモリ装置
2か月前
キオクシア株式会社
メモリデバイス
2か月前
株式会社JVCケンウッド
車載装置
27日前
日本発條株式会社
記録装置、カバー、及びカバーの製造方法
2か月前
ローム株式会社
不揮発性半導体記憶装置
2か月前
ルネサスエレクトロニクス株式会社
半導体装置
1か月前
ミネベアミツミ株式会社
ハードディスク駆動装置
2か月前
続きを見る
他の特許を見る