TOP
|
特許
|
意匠
|
商標
特許ウォッチ
Twitter
他の特許を見る
10個以上の画像は省略されています。
公開番号
2025153499
公報種別
公開特許公報(A)
公開日
2025-10-10
出願番号
2024056012
出願日
2024-03-29
発明の名称
ハードディスク駆動装置
出願人
ミネベアミツミ株式会社
代理人
弁理士法人一色国際特許事務所
主分類
G11B
33/12 20060101AFI20251002BHJP(情報記憶)
要約
【課題】ハードディスク駆動装置において、筐体の高さを変更せずに記録ディスクの枚数を増やすための構造を提供する。
【解決手段】ハードディスク駆動装置1は、環状に形成された複数の記録ディスク4と、複数の記録ディスク4を回転可能に支持するスピンドルモータ3と、を備え、スピンドルモータ3が、静止部10と、静止部10に対して回転する回転体20と、静止部10及び回転体20のいずれか一方に接続されたシャフト40と、を有し、回転体20は、シャフトの軸方向に延びる形状であり、軸方向における端面66を有し、少なくとも1つの上面追加記録ディスク4Aは、端面66に取り付けられる。
【選択図】図2
特許請求の範囲
【請求項1】
環状に形成された複数の記録ディスクと、
複数の前記記録ディスクを回転可能に支持するスピンドルモータと、
を備え、
前記スピンドルモータが、
静止部と、
前記静止部に対して回転する回転体と、
前記静止部及び前記回転体のいずれか一方に接続された軸部材と、
を有し、
前記回転体は、前記軸部材の軸方向に延びる形状であり、前記軸方向における端面を有し、
少なくとも1つの前記記録ディスクは、前記端面に取り付けられる、
ハードディスク駆動装置。
続きを表示(約 1,000 文字)
【請求項2】
前記回転体は、ロータハブである、請求項1に記載のハードディスク駆動装置。
【請求項3】
前記回転体は、ロータハブと、前記ロータハブと前記軸方向に連続して取り付けられたクランプであり、
前記クランプは、前記端面を有する、
請求項1に記載のハードディスク駆動装置。
【請求項4】
前記回転体は、前記回転体の外周面から前記軸方向に対して直交する径方向に延びるフランジ部を有し、
前記フランジ部に前記端面が設けられる、
請求項1に記載のハードディスク駆動装置。
【請求項5】
前記ハードディスク駆動装置は、前記端面に取り付けられる前記記録ディスクを前記回転体に固定する固定ボルトを更に備え、
前記回転体は、前記端面に前記固定ボルトと嵌合するねじ部を有し、
少なくとも1つの前記記録ディスクは、前記固定ボルトが挿入される貫通穴を有するとともに、他の前記記録ディスクよりも内径が小さく形成される、
請求項1に記載のハードディスク駆動装置。
【請求項6】
前記ねじ部は、前記端面の側に向かうにしたがって穴径が大きくなるテーパ部を前記端面の側の端部に有し、
前記貫通穴の穴径は、前記テーパ部の最大穴径よりも大きい、
請求項5に記載のハードディスク駆動装置。
【請求項7】
前記回転体は、ロータハブであって、
前記ロータハブは、前記軸方向に対して直交する径方向に拡がる円板部を有し、
前記円板部に前記端面が設けられ、
前記記録ディスクは、前記固定ボルトと前記円板部とで挟まれて支持される、
請求項5に記載のハードディスク駆動装置。
【請求項8】
前記回転体は、外周面に前記軸方向に対して直交する径方向の内側に向かって凹む凹部を有し、
前記凹部は、前記外周面に前記軸方向に間隔を空けて複数設けられ、
複数の前記記録ディスクは、前記凹部に固定される、
請求項1に記載のハードディスク駆動装置。
【請求項9】
少なくとも1つの前記記録ディスクは、材料が非磁性体且つヤング率が100ギガパスカル以上である、請求項1から8の何れか一項に記載のハードディスク駆動装置。
発明の詳細な説明
【技術分野】
【0001】
本発明は、ハードディスク駆動装置に関する。
続きを表示(約 1,300 文字)
【背景技術】
【0002】
近年、ハードディスク駆動装置に要求される記録容量が増加している。ハードディスク駆動装置の記録容量を増やす方法として、ハードディスク駆動装置に搭載される記録ディスクの枚数を増やすことが考えられる。例えば、特許文献1には、ロータハブのフランジ部の軸方向厚さを薄くすることで、記録ディスクの搭載枚数を増やす技術が開示されている。
【先行技術文献】
【特許文献】
【0003】
特開2023-162915号公報
【発明の概要】
【発明が解決しようとする課題】
【0004】
ところで、ハードディスク駆動装置の筐体の高さは、標準化されている。したがって、筐体の高さを変更せずにハードディスク駆動装置に搭載される記録ディスクの枚数を増やすための構造が、求められている。
【0005】
本発明は、ハードディスク駆動装置において、筐体の高さを変更せずに記録ディスクの枚数を増やすための構造を提供することを目的とする。
【課題を解決するための手段】
【0006】
以上の課題を解決するために、環状に形成された複数の記録ディスクと、複数の前記記録ディスクを回転可能に支持するスピンドルモータと、を備え、前記スピンドルモータが、静止部と、前記静止部に対して回転する回転体と、前記静止部及び前記回転体のいずれか一方に接続された軸部材と、を有し、前記回転体は、前記軸部材の軸方向に延びる形状であり、前記軸方向における端面を有し、少なくとも1つの前記記録ディスクは、前記端面に取り付けられる、ハードディスク駆動装置が提供される。
【発明の効果】
【0007】
本発明によれば、ハードディスク駆動装置において、筐体の高さを変更せずに記録ディスクの枚数を増やすための構造を提供することができる。
【図面の簡単な説明】
【0008】
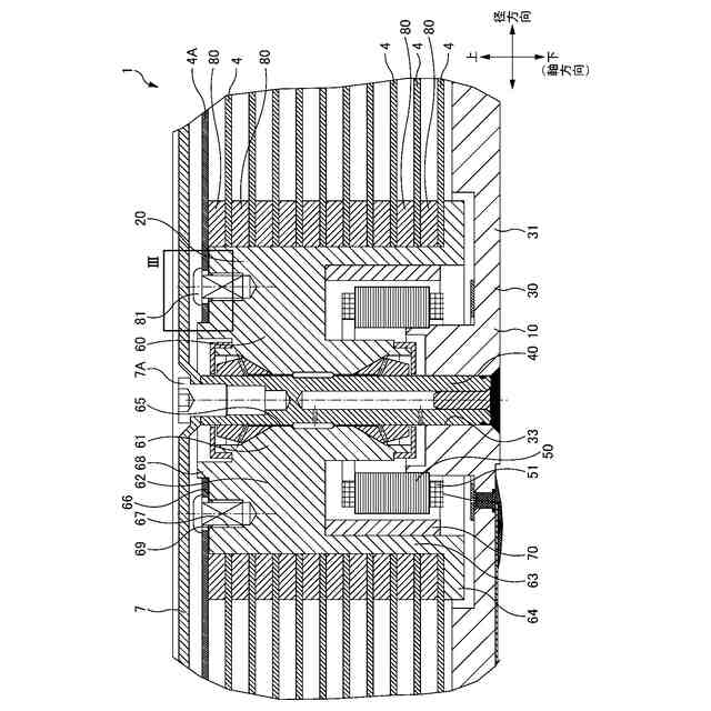
ハードディスク駆動装置1の斜視図である。
ハードディスク駆動装置1の部分断面図である。
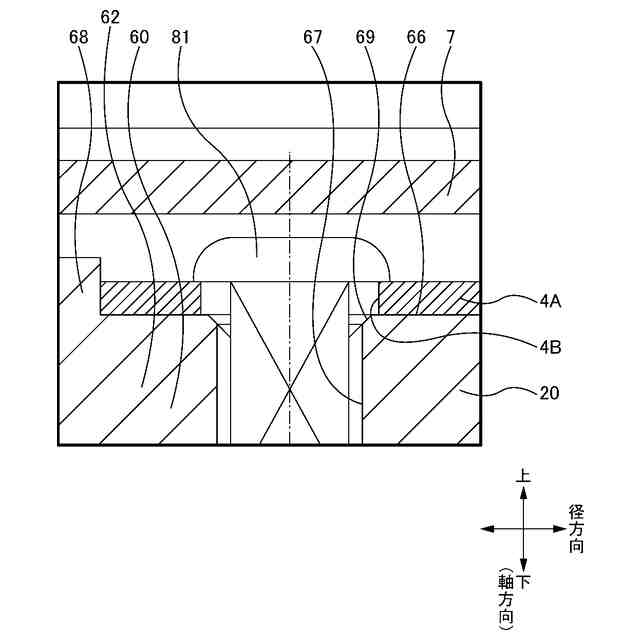
図2のIII部の拡大図である。
ハードディスク駆動装置101の部分断面図である。
厚肉部104Cがザグリ部104Eを有する場合のザグリ部104E周辺の拡大図である。
ハードディスク駆動装置201の部分断面図である。
ハードディスク駆動装置301の部分断面図である。
変形例におけるハードディスク駆動装置1の部分断面図である。
従来のハードディスク駆動装置901の部分断面図である。
【0009】
=第1の実施形態=
以下、図面を参照して、本発明の実施形態について説明する。但し、以下に述べる実施形態には、本発明を実施するために技術的に好ましい種々の限定が付されているが、本発明の範囲を以下の実施形態及び図示例に限定するものではない。
【0010】
図1は、ハードディスク駆動装置1の構成を示す斜視図である。図2は、ハードディスク駆動装置1の部分断面図である。図2は、主にスピンドルモータ3を断面で表す。
(【0011】以降は省略されています)
この特許をJ-PlatPat(特許庁公式サイト)で参照する
関連特許
日本発條株式会社
記録装置
6日前
株式会社ナノバブル研究所
データ消去装置
11日前
ローム株式会社
RAM
4日前
キオクシア株式会社
半導体記憶装置
15日前
ローム株式会社
メモリ装置
15日前
キヤノン株式会社
撮像装置
1か月前
キオクシア株式会社
記憶装置
13日前
キオクシア株式会社
記憶装置
15日前
キオクシア株式会社
半導体記憶装置
11日前
株式会社東芝
磁気ヘッド、及び、磁気記録装置
2か月前
キオクシア株式会社
記憶装置
13日前
ローム株式会社
半導体記憶装置
18日前
ローム株式会社
半導体記憶装置
18日前
株式会社東芝
磁気ヘッド、及び、磁気記録装置
2か月前
株式会社東芝
磁気ヘッド、及び、磁気記録装置
26日前
キオクシア株式会社
磁気メモリ
2か月前
株式会社東芝
磁気ヘッド、及び、磁気記録装置
2か月前
株式会社東芝
磁気ヘッド、及び、磁気記録装置
2か月前
キオクシア株式会社
磁気記憶装置
15日前
ローム株式会社
不揮発性メモリ装置
11日前
ローム株式会社
不揮発性メモリ装置
11日前
ローム株式会社
不揮発性メモリ装置
11日前
キオクシア株式会社
メモリデバイス
11日前
キオクシア株式会社
半導体記憶装置
1か月前
キオクシア株式会社
メモリシステム
12日前
キオクシア株式会社
メモリデバイス
11日前
ニデックインスツルメンツ株式会社
磁気ヘッドおよびカードリーダ
1か月前
キオクシア株式会社
半導体記憶装置
11日前
キオクシア株式会社
半導体記憶装置、メモリシステム
12日前
キオクシア株式会社
半導体記憶装置
11日前
ローム株式会社
不揮発性半導体記憶装置
11日前
日本発條株式会社
記録装置、カバー、及びカバーの製造方法
5日前
株式会社東芝
磁気ディスク装置
1か月前
株式会社東芝
磁気ディスク装置
26日前
キオクシア株式会社
半導体記憶装置
15日前
キオクシア株式会社
半導体装置及び記憶媒体
11日前
続きを見る
他の特許を見る