TOP
|
特許
|
意匠
|
商標
特許ウォッチ
Twitter
他の特許を見る
公開番号
2025150588
公報種別
公開特許公報(A)
公開日
2025-10-09
出願番号
2024051563
出願日
2024-03-27
発明の名称
記録装置、カバー、及びカバーの製造方法
出願人
日本発條株式会社
代理人
個人
,
個人
主分類
G11B
33/12 20060101AFI20251002BHJP(情報記憶)
要約
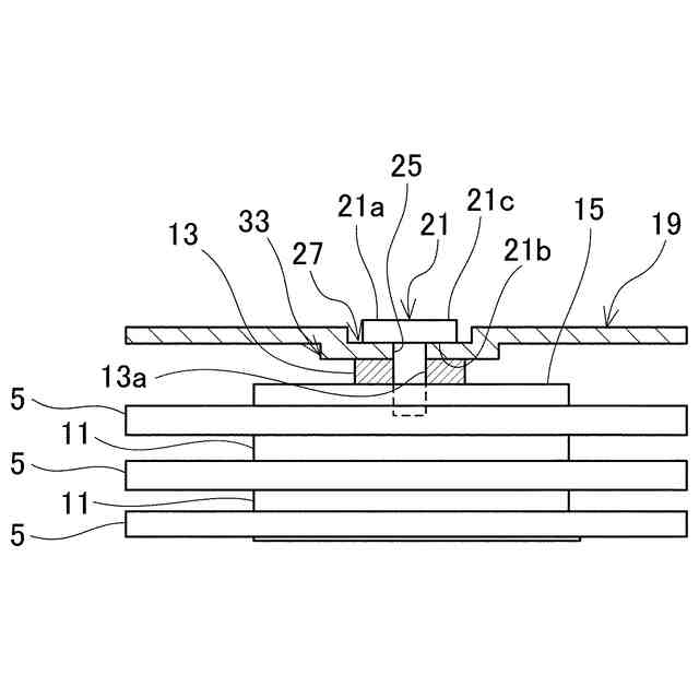
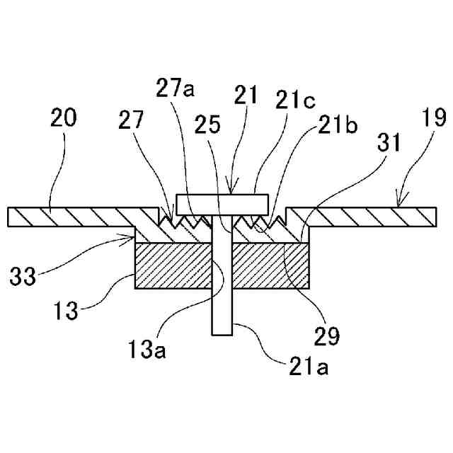
【課題】より確実にカバーとハウジングベースの締結部分間のすべりを抑制することが可能な記録装置を提供する。
【解決手段】ハウジングベース17の締結用の固定面31と、固定面31に締結されるカバー19の一部である締結部33と、締結部33の厚み方向での表面の受面27及び裏面の当面29と、受面27に当接する締結面21bを有する締結具21と、当面29に設けられ熱処理により設定された硬度を有する粗面29aとを備える。
【選択図】図5
特許請求の範囲
【請求項1】
ハウジングベースの開口がカバーによって閉止されたハウジング内に記録媒体を収容する記録装置であって、
前記ハウジングベースに設けられた締結用の固定面と、
前記カバーに設けられ前記固定面に締結される締結部と、
前記締結部の厚み方向での表面の受面と、
前記固定面に当接する前記取付部の前記厚み方向での裏面の当面と、
前記受面に前記厚み方向で当接する締結面を有する締結具と、
少なくとも前記当面と前記固定面と前記受面との何れか一つに設けられ熱処理により設定された硬度を有する粗面と、
を備える記録装置。
続きを表示(約 760 文字)
【請求項2】
請求項1の記録装置であって、
前記固定面は、前記ハウジングベースに設けられ前記開口に臨んだ固定軸の端部に備えられた、
記録装置。
【請求項3】
請求項1又は2の記録装置であって、
前記粗面は、相手側に対して硬度が高く設定されている、
記録装置。
【請求項4】
請求項1又は2の記録装置であって、
前記粗面の相手側は、前記粗面が合わされる受粗面を有する、
記録装置。
【請求項5】
請求項4の記録装置であって、
前記受粗面は、熱処理によって設定された前記粗面と同一の硬度を有する、
記録装置。
【請求項6】
請求項2の記録装置であって、
前記固定軸は、前記記録媒体を回転自在に支持するためのシャフトである、
記録装置。
【請求項7】
ハウジングベースの開口を閉止してハウジング内に記録媒体を収容するためのカバーであって、
本体部及び締結用の締結部を有し、
前記締結部は、表面及び裏面の少なくとも一方に熱処理により設定された硬度を有する粗面を備えた、
カバー。
【請求項8】
請求項7のカバーの製造方法であって、
前記カバーに対する荒らし加工により少なくとも前記表面又は前記裏面に前記カバーの未加工部分よりも粗さが大きい粗部を形成し、少なくとも前記粗部を熱処理して硬度を設定した前記粗面を得る、
カバーの製造方法。
【請求項9】
請求項7のカバーの製造方法であって、
前記荒らし加工は、ブラスト加工、レーザー加工、又は粗化メッキ加工である、
カバーの製造方法。
発明の詳細な説明
【技術分野】
【0001】
本発明は、ハウジングベースの開口がカバーによって閉止されたハウジング内に記録媒体を収容するハードディスクドライブ等の記録装置、これに用いられるカバー、及びカバーの製造方法に関する。
続きを表示(約 1,000 文字)
【背景技術】
【0002】
従来の記録装置としては、特許文献1に記載の磁気ディスク装置がある。
【0003】
この磁気ディスク装置では、ハウジングベースのスピンドルシャフトにカバーを接触させて締結している。スピンドルシャフトに対するカバーの接触面には、面粗しが施されている。
【0004】
従って、外部から衝撃が印加された場合、面粗しによりスピンドルシャフトのカバーに対するすべりが抑制され、スピンドルシャフトの傾きを防止することができるようになっている。
【0005】
しかし、単純な面粗しのみではすべりの抑制に限界があった。
【0006】
こうしたすべりの抑制に関する課題は、スピンドルシャフト以外にも記録装置の耐衝撃性等に影響するヘッドを支持するキャリッジやその他のカバーとハウジングベースとの締結部分においても同様に生じ得る。
【先行技術文献】
【特許文献】
【0007】
特開2006-172671号公報
【発明の概要】
【発明が解決しようとする課題】
【0008】
解決しようとする問題点は、カバーとハウジングベースとの締結部分間のすべりの抑制に限界があった点である。
【課題を解決するための手段】
【0009】
本発明は、ハウジングベースの開口がカバーによって閉止されたハウジング内に記録媒体を収容する記録装置であって、前記ハウジングベースに設けられた締結用の固定面と、前記カバーに設けられ前記固定面に締結される締結部と、前記締結部の厚み方向での表面の受面と、前記固定面に当接する前記取付部の前記厚み方向での裏面の当面と、前記受面に前記厚み方向で当接する締結面を有する締結具と、少なくとも前記当面と前記固定面と前記受面との何れか一つに設けられ熱処理により設定された硬度を有する粗面と、を備える記録装置を提供する。
【0010】
また、本発明は、ハウジングベースの開口を閉止してハウジング内に記録媒体を収容するためのカバーであって、本体部及び締結用の締結部を有し、前記締結部は、表面及び裏面の少なくとも一方に熱処理により設定された硬度を有する粗面を備えた、カバーを提供する。
(【0011】以降は省略されています)
この特許をJ-PlatPat(特許庁公式サイト)で参照する
関連特許
日本発條株式会社
車両用シート
3日前
日本発條株式会社
車両用シート
1か月前
日本発條株式会社
グリップパッド
4日前
日本発條株式会社
車両の運転席用シート
3日前
日本発條株式会社
車両用シートフレーム
24日前
日本発條株式会社
ハーネス固定位置の識別構造
1か月前
日本発條株式会社
鋼線材および鋼線材の製造方法
3日前
日本発條株式会社
アームレスト及び車両用シート
11日前
日本発條株式会社
ジョー組立体及びその把持面構造
24日前
日本発條株式会社
ケーブルユニット及びその製造方法
24日前
日本発條株式会社
介在物評価方法及び試験片の製造方法
1か月前
日本発條株式会社
チェーン、チェーン収容装置、及び、駐車装置
1か月前
日本発條株式会社
車両用シートのブロア取付構造及び車両用シート
24日前
日本発條株式会社
モータの製造方法
24日前
日本発條株式会社
ケーブルの進退機構及びこれを用いたエンドエフェクターアッセンブリー
24日前
日本発條株式会社
モータの製造装置及びモータの製造方法
1か月前
日本発條株式会社
記録装置
1か月前
RAMXEED株式会社
記憶装置
26日前
株式会社ナノバブル研究所
データ消去装置
1か月前
ローム株式会社
RAM
1か月前
キオクシア株式会社
半導体記憶装置
2か月前
ローム株式会社
メモリ装置
2か月前
キオクシア株式会社
記憶装置
2か月前
キオクシア株式会社
半導体記憶装置
1か月前
キオクシア株式会社
記憶装置
2か月前
株式会社東芝
磁気ヘッド、及び、磁気記録装置
1か月前
キオクシア株式会社
記憶装置
2か月前
ローム株式会社
半導体記憶装置
2か月前
株式会社東芝
磁気ヘッド、及び、磁気記録装置
2か月前
ローム株式会社
半導体記憶装置
2か月前
ローム株式会社
半導体メモリ装置
26日前
キオクシア株式会社
磁気記憶装置
2か月前
ローム株式会社
不揮発性メモリ装置
1か月前
ローム株式会社
不揮発性メモリ装置
1か月前
ローム株式会社
不揮発性メモリ装置
1か月前
キオクシア株式会社
メモリデバイス
1か月前
続きを見る
他の特許を見る