TOP
|
特許
|
意匠
|
商標
特許ウォッチ
Twitter
他の特許を見る
10個以上の画像は省略されています。
公開番号
2025139852
公報種別
公開特許公報(A)
公開日
2025-09-29
出願番号
2024038913
出願日
2024-03-13
発明の名称
記憶装置
出願人
キオクシア株式会社
代理人
弁理士法人鈴榮特許綜合事務所
主分類
G11C
11/16 20060101AFI20250919BHJP(情報記憶)
要約
【課題】 高いデータの読出し性能を有する記憶装置を提供する。
【解決手段】 一実施形態による記憶装置は、メモリセルと、第1配線と、第2配線と、第1スイッチと、カレントミラー回路と、センスアンプ回路と、を備える。メモリセルは、第1端及び第2端を有する。第1配線は、第1端と接続されている。第2配線は、第2端と接続されている。第1スイッチは、第2配線と、第1電圧を受ける第3配線と、の間に接続されている。カレントミラー回路は、第3端及び第4端を有し、第3端において第1配線と接続され、第4端において第1配線を流れる第1電流を参照電流とする出力電流を出力する。センスアンプ回路は、第4端と接続されている。
【選択図】 図6
特許請求の範囲
【請求項1】
第1端及び第2端を有するメモリセルと、
前記第1端と接続された第1配線と、
前記第2端と接続された第2配線と、
前記第2配線と第1電圧を受ける第3配線との間に接続された第1スイッチと、
第3端及び第4端を有し、前記第3端において前記第1配線と接続され、前記第4端において前記第1配線を流れる第1電流を参照電流とする出力電流を出力するカレントミラー回路と、
前記第4端と接続されたセンスアンプ回路と、
を備える記憶装置。
続きを表示(約 1,200 文字)
【請求項2】
前記カレントミラー回路は、前記第1電圧より高い第2電圧を受ける第1ノードと接続されることが可能な第5端と、前記第2電圧を受ける第2ノードと接続されることが可能な第6端と、をさらに備える、
請求項1に記載の記憶装置。
【請求項3】
前記第1ノードと前記第5端との間に接続された第2スイッチと、
前記第2ノードと前記第6端との間に接続された第3スイッチと、
をさらに備える、
請求項2に記載の記憶装置。
【請求項4】
前記第2スイッチと前記第3スイッチは、相違するタイミングでオンされる、
請求項3に記載の記憶装置。
【請求項5】
前記第1配線と、前記第1電圧と前記第2電圧との間の高さの第3電圧を受ける第3ノードとの間に接続された第4スイッチと、
前記第2配線と、前記第3電圧を受ける第4ノードとの間に接続された第5スイッチと、
をさらに備える、
請求項4に記載の記憶装置。
【請求項6】
前記第4スイッチ及び第5スイッチがオンされ、
前記第5スイッチがオフされるとともに、前記第1スイッチがオンされた後にオフされ、
前記第1スイッチがオフされた後に、前記第4スイッチがオフされるとともに前記第2スイッチがオンされ、
前記第2スイッチがオンされた後に、前記第3スイッチがオンされる、
請求項5に記載の記憶装置。
【請求項7】
前記第2スイッチがオンされている間、前記第3スイッチはオンされるまでオフに維持されている、
請求項6に記載の記憶装置。
【請求項8】
前記カレントミラー回路は、前記第1電流の大きさと異なる大きさの前記出力電流を出力する、
請求項1に記載の記憶装置。
【請求項9】
前記メモリセルは、可変抵抗材料を含み、
前記可変抵抗材料は、第7端と第8端とを含み、前記第7端から前記第8端に向かって正の第4電圧を受けると前記第7端と前記第8端との間に第1抵抗を有し、前記第7端から前記第8端に向かって前記第4電圧より低い正の第5電圧を受けると前記第7端と前記第8端との間に前記第1抵抗より低い第2抵抗を有し、前記第8端から前記第7端に向かって正の第6電圧を受けると前記第7端と前記第8端との間に第3抵抗を有し、前記第8端から前記第7端に向かって前記第6電圧より低い正の第7電圧を受けると前記第7端と前記第8端との間に前記第3抵抗より低い第4抵抗を有する、
請求項1乃至請求項8のいずれか1項に記載の記憶装置。
【請求項10】
前記メモリセルは、
第1強磁性層と、
第2強磁性層と、
前記第1強磁性層と前記第2強磁性層との間の絶縁層と、
をさらに含む、
請求項9に記載の記憶装置。
(【請求項11】以降は省略されています)
発明の詳細な説明
【技術分野】
【0001】
実施形態は、概して、記憶装置に関する。
続きを表示(約 1,700 文字)
【背景技術】
【0002】
記憶装置の例は、磁気記憶装置を含む。磁気記憶装置は、磁気抵抗効果を利用してデータを記憶する。
【先行技術文献】
【特許文献】
【0003】
米国特許出願公開第2022/0084575号明細書
【発明の概要】
【発明が解決しようとする課題】
【0004】
高いデータの読出し性能を有する記憶装置を提供する。
【課題を解決するための手段】
【0005】
一実施形態による記憶装置は、メモリセルと、第1配線と、第2配線と、第1スイッチと、カレントミラー回路と、センスアンプ回路と、を備える。上記メモリセルは、第1端及び第2端を有する。上記第1配線は、上記第1端と接続されている。上記第2配線は、上記第2端と接続されている。上記第1スイッチは、上記第2配線と、第1電圧を受ける第3配線と、の間に接続されている。上記カレントミラー回路は、第3端及び第4端を有し、上記第3端において上記第1配線と接続され、上記第4端において上記第1配線を流れる第1電流を参照電流とする出力電流を出力する。上記センスアンプ回路は、上記第4端と接続されている。
【図面の簡単な説明】
【0006】
図1は、第1実施形態の記憶装置の機能ブロックを示す。
図2は、第1実施形態の記憶装置のメモリセルアレイの回路図である。
図3は、第1実施形態の記憶装置のメモリセルアレイの一部の斜視図である。
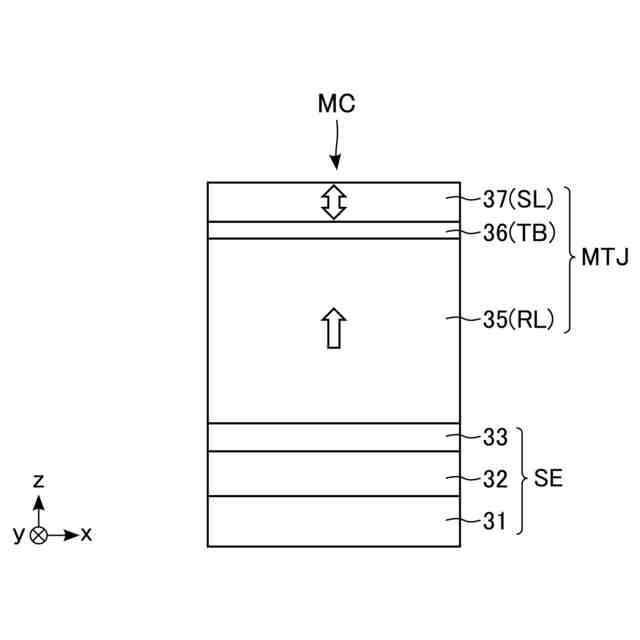
図4は、第1実施形態の記憶装置のメモリセルの構造の例の断面を示す。
図5は、第1実施形態の記憶装置のメモリセルの電圧と電流の特性の曲線の例を示す。
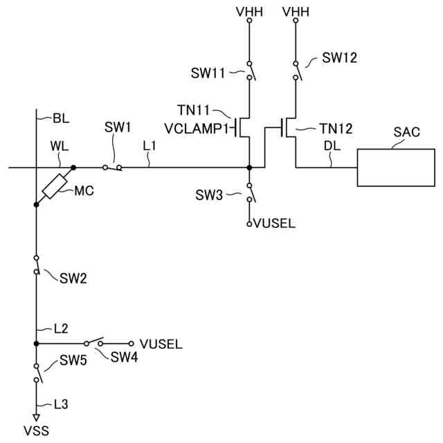
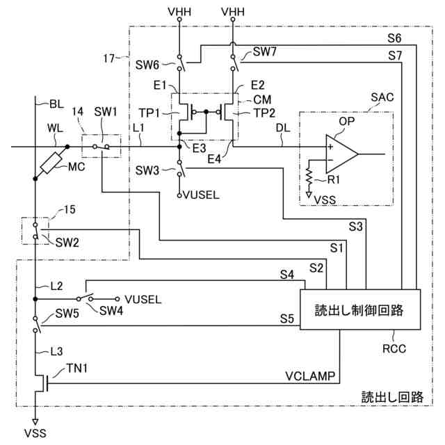
図6は、第1実施形態の記憶装置の読出し回路の構成要素及び構成要素の接続の例を示す。
図7は、第1実施形態の記憶装置のデータ読み出しの間のいくつかの信号の状態を時間に沿って示す。
図8は、参考用の記憶装置の読出し回路の構成要素及び構成要素の接続の例を示す。
図9は、第1実施形態の変形例の記憶装置の読出し回路の構成要素及び構成要素の接続の例を示す。
【発明を実施するための形態】
【0007】
以下に実施形態が図面を参照して記述される。或る実施形態又は相違する実施形態での略同一の機能及び構成を有する複数の構成要素は、互いに区別されるために、参照符号の末尾にさらなる数字又は文字が付加される場合がある。
【0008】
本明細書及び特許請求の範囲において、或る第1要素が別の第2要素に「接続されている」とは、第1要素が直接的又は常時或いは選択的に導電性となる要素を介して第2要素に接続されていることを含む。
【0009】
1.第1実施形態
図1は、第1実施形態の記憶装置の機能ブロックを示す。記憶装置1は、データを記憶する装置である。記憶装置1は、磁気記憶装置であり、動的に可変な抵抗を示す磁性体の積層体を用いてデータを記憶する。図1に示されているように、記憶装置1は、メモリセルアレイ11、入出力回路12、制御回路13、ロウ選択回路14、カラム選択回路15、書込み回路16、読出し回路17、及び電圧生成回路18を含む。
【0010】
メモリセルアレイ11は、配列された複数のメモリセルMCの集合である。メモリセルMCは、データを不揮発に記憶することができる。メモリセルアレイ11中には、複数の第1種類の配線及び複数の第2種類の配線が位置している。以下の記述において、第1種類の配線及び第2種類の配線の一方は、ワード線WLと称され、他方はビット線BLと称される。以下の記述は、ワード線WLが行(ロウ)と関連付けられているとともにビット線BLが列(カラム)と関連付けられている例に基づく。各メモリセルMCは、1つのワード線WL及び1つのビット線BLと接続されている。1つの行の選択及び1つの列の選択により、1つのメモリセルMCが選択される。
(【0011】以降は省略されています)
この特許をJ-PlatPat(特許庁公式サイト)で参照する
関連特許
キオクシア株式会社
半導体装置
25日前
キオクシア株式会社
半導体装置
19日前
キオクシア株式会社
メモリシステム
1か月前
日本発條株式会社
記録装置
1か月前
RAMXEED株式会社
記憶装置
26日前
株式会社ナノバブル研究所
データ消去装置
1か月前
ローム株式会社
RAM
1か月前
キオクシア株式会社
半導体記憶装置
2か月前
ローム株式会社
メモリ装置
2か月前
キオクシア株式会社
半導体記憶装置
1か月前
キオクシア株式会社
記憶装置
2か月前
キオクシア株式会社
記憶装置
2か月前
ローム株式会社
半導体記憶装置
2か月前
株式会社東芝
磁気ヘッド、及び、磁気記録装置
1か月前
ローム株式会社
半導体記憶装置
2か月前
株式会社東芝
磁気ヘッド、及び、磁気記録装置
2か月前
キオクシア株式会社
記憶装置
2か月前
ローム株式会社
半導体メモリ装置
26日前
キオクシア株式会社
磁気記憶装置
2か月前
ローム株式会社
不揮発性メモリ装置
1か月前
ローム株式会社
不揮発性メモリ装置
1か月前
ローム株式会社
不揮発性メモリ装置
1か月前
キオクシア株式会社
半導体記憶装置
2か月前
株式会社JVCケンウッド
車載装置
17日前
キオクシア株式会社
メモリデバイス
1か月前
キオクシア株式会社
メモリシステム
2か月前
キオクシア株式会社
メモリデバイス
1か月前
キオクシア株式会社
半導体記憶装置
1か月前
ローム株式会社
不揮発性半導体記憶装置
1か月前
キオクシア株式会社
半導体記憶装置
1か月前
キオクシア株式会社
半導体記憶装置、メモリシステム
2か月前
日本発條株式会社
記録装置、カバー、及びカバーの製造方法
1か月前
株式会社東芝
磁気ディスク装置
2か月前
株式会社東芝
磁気ディスク装置
2か月前
キオクシア株式会社
半導体記憶装置
2か月前
キオクシア株式会社
半導体装置及び記憶媒体
1か月前
続きを見る
他の特許を見る