TOP
|
特許
|
意匠
|
商標
特許ウォッチ
Twitter
他の特許を見る
10個以上の画像は省略されています。
公開番号
2025142811
公報種別
公開特許公報(A)
公開日
2025-10-01
出願番号
2024042386
出願日
2024-03-18
発明の名称
記憶装置
出願人
キオクシア株式会社
代理人
弁理士法人スズエ国際特許事務所
主分類
G11C
29/00 20060101AFI20250924BHJP(情報記憶)
要約
【課題】 使用されるリダンダンシー線の数を低減することが可能な記憶装置を提供する。
【解決手段】実施形態に係る記憶装置は、それぞれが第1の方向に延伸する複数の第1の配線111と、それぞれが第1の方向と交差する第2の方向に延伸する複数の第2の配線112と、複数の第1の配線と複数の第2の配線との間に設けられた複数のメモリセル120であって、それぞれが直列接続された抵抗変化記憶素子及びスイッチング素子を含む複数のメモリセルと、複数の第1の配線に対してアドレスを割り当てるアドレス割り当て回路301と、を備え、複数の第1の配線の中に互いにショートしている第1のショート配線及び第2のショート配線が含まれている場合に、アドレス割り当て回路は、第1のショート配線及び第2のショート配線に対して共通のアドレスを割り当てる。
【選択図】図5
特許請求の範囲
【請求項1】
それぞれが第1の方向に延伸する複数の第1の配線と、
それぞれが前記第1の方向と交差する第2の方向に延伸する複数の第2の配線と、
前記複数の第1の配線と前記複数の第2の配線との間に設けられた複数のメモリセルであって、それぞれが直列接続された抵抗変化記憶素子及びスイッチング素子を含む複数のメモリセルと、
前記複数の第1の配線に対してアドレスを割り当てるアドレス割り当て回路と、
を備える記憶装置であって、
前記複数の第1の配線の中に互いにショートしている第1のショート配線及び第2のショート配線が含まれている場合に、前記アドレス割り当て回路は、前記第1のショート配線及び前記第2のショート配線に対して共通のアドレスを割り当てる
ことを特徴とする記憶装置。
続きを表示(約 1,400 文字)
【請求項2】
前記複数の第1の配線を介して前記複数のメモリセルに供給される駆動信号が入力する複数の入力端子と、
前記複数の入力端子に入力した前記駆動信号を前記複数の第1の配線に出力する複数の出力端子と、
をさらに備え、
前記アドレス割り当て回路は、前記複数の入力端子と前記複数の出力端子との間の接続関係を設定する接続関係設定回路を含む
ことを特徴とする請求項1に記載の記憶装置。
【請求項3】
前記接続関係設定回路は、前記複数の出力端子の中の前記第1のショート配線に対して設けられた第1の出力端子と前記複数の入力端子の中の1つの入力端子とを接続し、前記複数の出力端子の中の前記第2のショート配線に対して設けられた第2の出力端子と前記1つの入力端子とを接続しない
ことを特徴とする請求項2に記載の記憶装置。
【請求項4】
前記接続関係設定回路は、前記複数の出力端子の中の前記第1のショート配線に対して設けられた第1の出力端子と前記複数の入力端子の中の1つの入力端子とを接続し、前記複数の出力端子の中の前記第2のショート配線に対して設けられた第2の出力端子と前記1つの入力端子とを接続する
ことを特徴とする請求項2に記載の記憶装置。
【請求項5】
前記複数の第1の配線の中に前記第1及び第2のショート配線に対してショートしている第3のショート配線がさらに含まれている場合に、前記アドレス割り当て回路は、前記第1、第2及び第3のショート配線に対して共通のアドレスを割り当てる
ことを特徴とする請求項1に記載の記憶装置。
【請求項6】
前記複数のメモリセルのうち前記第1のショート配線と前記複数の第2の配線の中の1つの第2の配線との間に設けられたメモリセルを第1のメモリセルとし、前記複数のメモリセルのうち前記第2のショート配線と前記1つの第2の配線との間に設けられたメモリセルを第2のメモリセルとして、前記第1のメモリセル及び前記第2のメモリセルの一方が使用可能セルとして機能する
ことを特徴とする請求項1に記載の記憶装置。
【請求項7】
前記複数の第1の配線は、複数の通常配線と、前記複数の通常配線の中に互いにショートしているショート配線が含まれている場合に用いられる少なくとも1つのリダンダンシー線とを含む
ことを特徴とする請求項1に記載の記憶装置。
【請求項8】
前記少なくとも1つのリダンダンシー線は、前記複数の通常配線が設けられた領域の外側の領域に設けられている
ことを特徴とする請求項7に記載の記憶装置。
【請求項9】
前記複数の第1の配線と、前記複数の第2の配線と、前記複数のメモリセルと、前記アドレス割り当て回路とを含むチップに内蔵され、前記複数の第1の配線のショート不良に対する検出処理を行う検出処理回路をさらに備える
ことを特徴とする請求項1に記載の記憶装置。
【請求項10】
前記検出処理回路で行われる検出処理は、前記チップがパッケージングされた後に行うことが可能である
ことを特徴とする請求項9に記載の記憶装置。
(【請求項11】以降は省略されています)
発明の詳細な説明
【技術分野】
【0001】
本発明の実施形態は、記憶装置に関する。
続きを表示(約 1,400 文字)
【背景技術】
【0002】
半導体基板上に磁気抵抗効果素子等の複数の抵抗変化記憶素子が集積化された記憶装置が提案されている。
【先行技術文献】
【特許文献】
【0003】
米国特許出願公開第2023/0015040号明細書
【発明の概要】
【発明が解決しようとする課題】
【0004】
使用されるリダンダンシー線の数を低減することが可能な記憶装置を提供する。
【課題を解決するための手段】
【0005】
実施形態に係る記憶装置は、それぞれが第1の方向に延伸する複数の第1の配線と、それぞれが前記第1の方向と交差する第2の方向に延伸する複数の第2の配線と、前記複数の第1の配線と前記複数の第2の配線との間に設けられた複数のメモリセルであって、それぞれが直列接続された抵抗変化記憶素子及びスイッチング素子を含む複数のメモリセルと、前記複数の第1の配線に対してアドレスを割り当てるアドレス割り当て回路と、を備える記憶装置であって、前記複数の第1の配線の中に互いにショートしている第1のショート配線及び第2のショート配線が含まれている場合に、前記アドレス割り当て回路は、前記第1のショート配線及び前記第2のショート配線に対して共通のアドレスを割り当てる。
【図面の簡単な説明】
【0006】
実施形態に係る記憶装置の構成を示したブロック図である。
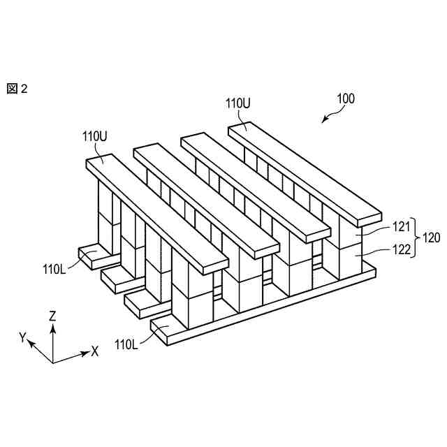
実施形態に係る記憶装置に含まれるメモリセルアレイ部の構成を模式的に示した斜視図である。
実施形態に係る記憶装置のメモリセルアレイ部に含まれる磁気抵抗効果素子の基本的な構成を模式的に示した断面図である。
実施形態に係る記憶装置のメモリセルアレイ部に含まれるセレクタの基本的な構成を模式的に示した断面図である。
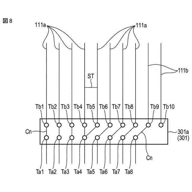
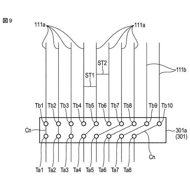
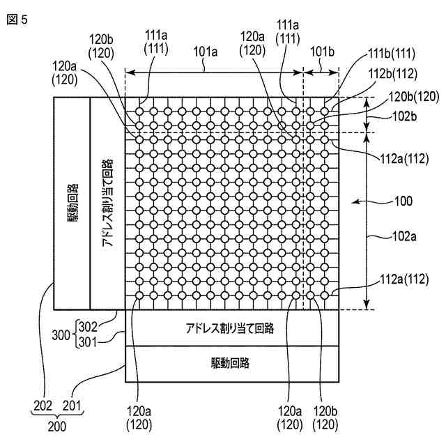
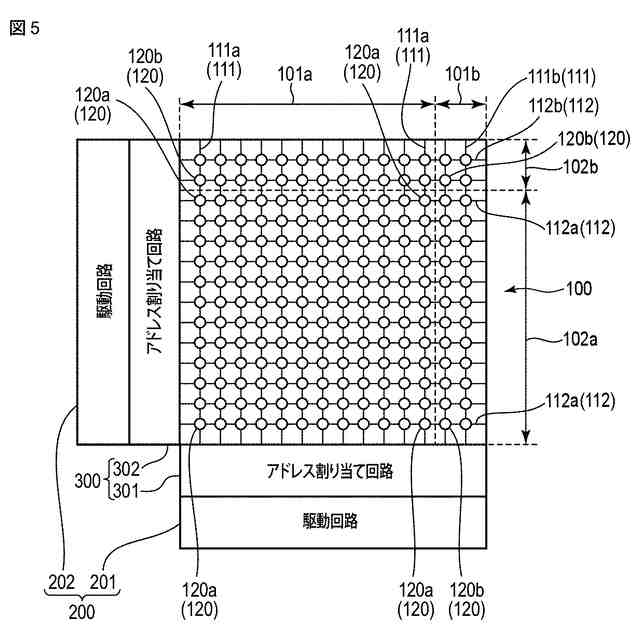
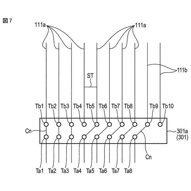
実施形態に係る記憶装置に含まれるメモリセルアレイ部、駆動回路及びアドレス割り当て回路の構成を模式的に示した図である。
実施形態に係る記憶装置のアドレス割り当て回路に含まれる接続関係設定回路等の構成例を模式的に示した図である。
実施形態に係る記憶装置のアドレス割り当て回路に含まれる接続関係設定回路等の構成例を模式的に示した図である。
実施形態に係る記憶装置のアドレス割り当て回路に含まれる接続関係設定回路等の構成例を模式的に示した図である。
実施形態に係る記憶装置のアドレス割り当て回路に含まれる接続関係設定回路等の構成例を模式的に示した図である。
実施形態に係る記憶装置の動作を示したフローチャートである。
実施形態に係る記憶装置におけるショート不良に対する検出処理について示した図である。
実施形態に係る記憶装置の変形例の構成を示したブロック図である。
【発明を実施するための形態】
【0007】
以下、図面を参照して実施形態を説明する。
【0008】
図1は、実施形態に係る記憶装置の構成を示したブロック図である。
【0009】
図1に示した記憶装置は、メモリセルアレイ部100と、駆動回路200と、アドレス割り当て回路300と、検出処理回路400と、リダンダンシー制御回路500とを備えている。
【0010】
図2は、メモリセルアレイ部100の構成を模式的に示した斜視図である。
(【0011】以降は省略されています)
この特許をJ-PlatPat(特許庁公式サイト)で参照する
関連特許
キオクシア株式会社
半導体装置
1か月前
キオクシア株式会社
半導体装置
1か月前
日本発條株式会社
記録装置
2か月前
RAMXEED株式会社
記憶装置
1か月前
株式会社ナノバブル研究所
データ消去装置
2か月前
ローム株式会社
RAM
2か月前
キオクシア株式会社
記憶装置
2か月前
キオクシア株式会社
半導体記憶装置
2か月前
株式会社東芝
磁気ヘッド、及び、磁気記録装置
1か月前
キオクシア株式会社
記憶装置
2か月前
ローム株式会社
半導体メモリ装置
1か月前
ローム株式会社
不揮発性メモリ装置
2か月前
ローム株式会社
不揮発性メモリ装置
2か月前
ローム株式会社
不揮発性メモリ装置
2か月前
株式会社JVCケンウッド
車載装置
28日前
キオクシア株式会社
メモリデバイス
2か月前
キオクシア株式会社
メモリシステム
2か月前
キオクシア株式会社
メモリデバイス
2か月前
キオクシア株式会社
半導体記憶装置、メモリシステム
2か月前
ローム株式会社
不揮発性半導体記憶装置
2か月前
キオクシア株式会社
半導体記憶装置
2か月前
日本発條株式会社
記録装置、カバー、及びカバーの製造方法
2か月前
キオクシア株式会社
半導体記憶装置
2か月前
キオクシア株式会社
半導体装置及び記憶媒体
2か月前
ルネサスエレクトロニクス株式会社
半導体装置
1か月前
ミネベアミツミ株式会社
ハードディスク駆動装置
2か月前
株式会社レゾナック・ハードディスク
磁気記録媒体の製造方法
8日前
富士通株式会社
書き込みアシスト回路及びSRAM
14日前
キオクシア株式会社
メモリデバイス及びメモリシステム
2か月前
株式会社東芝
情報処理装置、磁気記録再生装置及び磁気記録再生システム
2か月前
京セラドキュメントソリューションズ株式会社
情報処理装置及び画像処理装置
2か月前
株式会社半導体エネルギー研究所
半導体装置
1か月前
株式会社半導体エネルギー研究所
半導体装置
1か月前
株式会社半導体エネルギー研究所
半導体装置
14日前
株式会社半導体エネルギー研究所
半導体装置
16日前
株式会社半導体エネルギー研究所
半導体装置
1か月前
続きを見る
他の特許を見る