TOP
|
特許
|
意匠
|
商標
特許ウォッチ
Twitter
他の特許を見る
10個以上の画像は省略されています。
公開番号
2025143024
公報種別
公開特許公報(A)
公開日
2025-10-01
出願番号
2024042696
出願日
2024-03-18
発明の名称
記憶装置
出願人
キオクシア株式会社
代理人
弁理士法人鈴榮特許綜合事務所
主分類
G11C
16/34 20060101AFI20250924BHJP(情報記憶)
要約
【課題】 高い精度でデータを記憶する記憶装置を提供する。
【解決手段】 一実施形態による記憶装置は、セルトランジスタと、セルトランジスタと接続されたワード線と、セルトランジスタと接続されたセンスアンプと、第1動作を実行するように構成された制御回路とを含む。第1動作は、ワード線に第1電圧が印加されている間に、センスアンプにセルトランジスタに基づく第1データを取得させることと、ワード線への第1電圧の印加に続けてワード線が電気的にフローティングされている間に、センスアンプにセルトランジスタに基づく第2データを取得させることと、を含む。
【選択図】 図10
特許請求の範囲
【請求項1】
セルトランジスタと、
前記セルトランジスタと接続されたワード線と、
前記セルトランジスタと接続されたセンスアンプと、
第1動作を実行するように構成された制御回路と、
を備え、
前記第1動作は、
前記ワード線に第1電圧が印加されている間に、前記センスアンプに前記セルトランジスタに基づく第1データを取得させることと、
前記ワード線への前記第1電圧の前記印加に続けて前記ワード線が電気的にフローティングされている間に、前記センスアンプに前記セルトランジスタに基づく第2データを取得させることと、
を含む、記憶装置。
続きを表示(約 1,300 文字)
【請求項2】
前記制御回路は、前記第1データと前記第2データとに基づいて、第3データを生成する、
請求項1に記載の記憶装置。
【請求項3】
第1コマンドを受け取ると、前記第3データに基づくデータを外部に出力する、
請求項2に記載の記憶装置。
【請求項4】
前記第3データは、前記第1データと前記第2データが異なる場合に第1値を有し、前記第1データと前記第2データが同じ場合に第2値を有する、
請求項2に記載の記憶装置。
【請求項5】
前記第1データ及び前記第2データは前記セルトランジスタの閾値電圧に基づく、
請求項4に記載の記憶装置。
【請求項6】
前記セルトランジスタを含み、前記ワード線と接続された複数のセルトランジスタをさらに備え、
前記制御回路は、前記第1動作において、
前記ワード線に前記第1電圧が印加されている間に、前記センスアンプに、前記複数のセルトランジスタにそれぞれ基づく複数のビットを含んだ第4データを取得させ、
前記ワード線への前記第1電圧の前記印加に続けて前記ワード線が電気的にフローティングされている間に、前記センスアンプに、前記複数のセルトランジスタにそれぞれ基づく複数のビットを含んだ第5データを取得させ、
前記第4データと前記第5データとに基づいて、第6データを生成し、
前記第6データ中の第1値を有するビットの数に基づいて、第7データを生成する、
請求項1に記載の記憶装置。
【請求項7】
第1コマンドを受け取ると、前記第7データを外部に出力する、
請求項6に記載の記憶装置。
【請求項8】
前記複数のセルトランジスタは、第1セルトランジスタ乃至第iセルトランジスタ(iは正の整数)を含み、
前記第4データは、前記第1セルトランジスタ乃至前記第iセルトランジスタにそれぞれ基づく第1ビット乃至第iビットを含み、
前記第5データは、前記第1セルトランジスタ乃至前記第iセルトランジスタにそれぞれ基づく第1ビット乃至第iビットを含み、
前記第6データは、jが1からiの全てのケースについて、前記第4データの第jビットと前記第5データの第jビットが異なる場合に第jビットにおいて前記第1値を有する、
請求項7に記載の記憶装置。
【請求項9】
前記第4データの前記第1ビット乃至前記第iビットは、それぞれ、前記第1セルトランジスタ乃至前記第iセルトランジスタのそれぞれの第1閾値電圧乃至第i閾値電圧に基づき、
前記第5データの前記第1ビット乃至前記第iビットは、それぞれ、前記第1閾値電圧乃至前記第i閾値電圧に基づく、
請求項8に記載の記憶装置。
【請求項10】
前記制御回路は、第2コマンドが前記記憶装置によって受け取られると、前記セルトランジスタの閾値電圧を上昇させる第2動作を複数回繰り返している間に前記第1動作を行う、
請求項1に記憶装置の記憶装置。
(【請求項11】以降は省略されています)
発明の詳細な説明
【技術分野】
【0001】
実施形態は、概して、記憶装置に関する。
続きを表示(約 2,100 文字)
【背景技術】
【0002】
記憶装置は、データを正確に記憶し、データを正確に出力することを求められる。記憶装置中の構成要素の不良によって、正確なデータの記憶及び読出しが阻害されることがある。
【先行技術文献】
【特許文献】
【0003】
米国特許出願公開第2013/0070524号明細書
【発明の概要】
【発明が解決しようとする課題】
【0004】
高い精度でデータを記憶する記憶装置を提供しようとするものである。
【課題を解決するための手段】
【0005】
一実施形態による記憶装置は、セルトランジスタと、上記セルトランジスタと接続されたワード線と、上記セルトランジスタと接続されたセンスアンプと、第1動作を実行するように構成された制御回路とを含む。上記第1動作は、上記ワード線に第1電圧が印加されている間に、上記センスアンプに上記セルトランジスタに基づく第1データを取得させることと、上記ワード線への上記第1電圧の上記印加に続けて上記ワード線が電気的にフローティングされている間に、上記センスアンプに上記セルトランジスタに基づく第2データを取得させることと、を含む。
【図面の簡単な説明】
【0006】
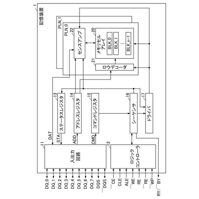
図1は、第1実施形態の記憶装置の構成要素及び構成要素の接続の例を示す。
図2は、第1実施形態の記憶装置の1つのブロックの構成要素及び構成要素の接続を示す。
図3は、第1実施形態の記憶装置のメモリセルアレイの一部の構造の例を概略的に示す。
図4は、第1実施形態の記憶装置の3ビットのデータを記憶しているセルトランジスタの閾値電圧の分布とデータのマッピングの例を示す。
図5は、第1実施形態の記憶装置のドライバ及びロウデコーダの構成要素及び構成要素の接続を示す。
図6は、第1実施形態の記憶装置のセンスアンプの要素および接続を示す。
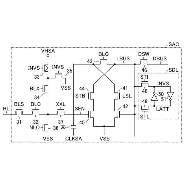
図7は、第1実施形態の記憶装置のセンスアンプ回路の回路図である。
図8は、第1実施形態の記憶装置での書込み動作の概要を時間に沿って示す。
図9は、第1実施形態の記憶装置での書込み動作におけるプログラムループの設定の例を示す。
図10は、第1実施形態の記憶装置でのベリファイの間の幾つかの配線及び信号の電位を時間に沿って示す。
図11は、第1実施形態の記憶装置でのベリファイの間の幾つかの配線の電位を時間に沿って示す。
図12は、第1実施形態の記憶装置でのベリファイの間の状態及び取得されるデータの例を示す。
図13は、第1実施形態の記憶装置でのベリファイの間の状態及び取得されるデータの例を示す。
図14は、第1実施形態の記憶装置でのベリファイの間の状態及び取得されるデータの例を示す。
図15は、第1実施形態の記憶装置と外部との間で送受信される入出力信号の例を示す。
図16は、第1実施形態の記憶装置の動作のタイミングの例を示す。
図17は、第1実施形態の記憶装置の動作のタイミングの例を示す。
図18は、第1実施形態の記憶装置の動作のタイミングの例を示す。
図19は、第1実施形態の記憶装置の動作のタイミングの例を示す。
図20は、第1実施形態の記憶装置と外部との間で送受信される入出力信号の別の例を示す。
【発明を実施するための形態】
【0007】
以下に実施形態が図面を参照して記述される。或る実施形態又は相違する実施形態での略同一の機能及び構成を有する複数の構成要素は、互いに区別されるために、参照符号の末尾にさらなる数字又は文字が付加される場合がある。或る実施形態についての記述は全て、明示的に又は自明的に排除されない限り、別の実施形態の記述としても当てはまる。
【0008】
本明細書及び特許請求の範囲において、或る第1要素が別の第2要素に「接続されている」とは、第1要素が直接的又は常時或いは選択的に導電性となる要素を介して第2要素に接続されていることを含む。
【0009】
以下、3次元の直交座標系が用いられて、実施形態が記述される。x軸の向きは、X方向と称される。X方向と反対の向きは、-X方向と称される。y軸の向きは、Y方向と称される。Y方向と反対の向きは、-Y方向と称される。z軸の向きは、Z方向と称され、上はZ方向を指す。Z方向と反対の向きは、-Z方向と称され、下は-Z方向を指す。
【0010】
1.第1実施形態
1.1.構成(構造)
図1は、第1実施形態の記憶装置の構成要素及び構成要素の接続の例を示す。記憶装置1は、メモリセルを使用してデータを記憶する。記憶装置1は、書き込まれるデータを記憶し、また、記憶装置1に記憶されているデータを出力する。一例において、記憶装置1は、1つのチップとして構成される。
(【0011】以降は省略されています)
この特許をJ-PlatPat(特許庁公式サイト)で参照する
関連特許
キオクシア株式会社
メモリシステム
24日前
日本発條株式会社
記録装置
19日前
株式会社ナノバブル研究所
データ消去装置
24日前
ローム株式会社
RAM
17日前
キオクシア株式会社
半導体記憶装置
28日前
ローム株式会社
メモリ装置
28日前
キヤノン株式会社
撮像装置
2か月前
キオクシア株式会社
記憶装置
26日前
キオクシア株式会社
記憶装置
28日前
キオクシア株式会社
半導体記憶装置
24日前
株式会社東芝
磁気ヘッド、及び、磁気記録装置
13日前
ローム株式会社
半導体記憶装置
1か月前
株式会社東芝
磁気ヘッド、及び、磁気記録装置
1か月前
株式会社東芝
磁気ヘッド、及び、磁気記録装置
2か月前
株式会社東芝
磁気ヘッド、及び、磁気記録装置
2か月前
株式会社東芝
磁気ヘッド、及び、磁気記録装置
2か月前
キオクシア株式会社
記憶装置
26日前
ローム株式会社
半導体記憶装置
1か月前
株式会社東芝
磁気ヘッド、及び、磁気記録装置
2か月前
ローム株式会社
不揮発性メモリ装置
24日前
キオクシア株式会社
磁気記憶装置
28日前
ローム株式会社
不揮発性メモリ装置
24日前
ローム株式会社
不揮発性メモリ装置
24日前
キオクシア株式会社
メモリデバイス
24日前
キオクシア株式会社
メモリシステム
25日前
キオクシア株式会社
半導体記憶装置
1か月前
キオクシア株式会社
メモリデバイス
24日前
ニデックインスツルメンツ株式会社
磁気ヘッドおよびカードリーダ
2か月前
キオクシア株式会社
半導体記憶装置
24日前
キオクシア株式会社
半導体記憶装置、メモリシステム
25日前
キオクシア株式会社
半導体記憶装置
24日前
ローム株式会社
不揮発性半導体記憶装置
24日前
日本発條株式会社
記録装置、カバー、及びカバーの製造方法
18日前
株式会社東芝
磁気ディスク装置
1か月前
株式会社東芝
磁気ディスク装置
1か月前
キオクシア株式会社
半導体装置及び記憶媒体
24日前
続きを見る
他の特許を見る