TOP
|
特許
|
意匠
|
商標
特許ウォッチ
Twitter
他の特許を見る
10個以上の画像は省略されています。
公開番号
2025135392
公報種別
公開特許公報(A)
公開日
2025-09-18
出願番号
2024033212
出願日
2024-03-05
発明の名称
磁気ヘッド、及び、磁気記録装置
出願人
株式会社東芝
代理人
弁理士法人iX
主分類
G11B
5/31 20060101AFI20250910BHJP(情報記憶)
要約
【課題】特性の向上が可能な磁気ヘッド、及び、磁気記録装置を提供する。
【解決手段】実施形態によれば、磁気ヘッドは、媒体対向面を含む再生部を含む。再生部は、第1~第4シールド、及び第1磁性部材を含む。第3シールドは、第1領域と、第1他領域と、第1中間領域と、を含む。第1領域は、第2方向において第1他領域と第1磁性部材との間に設けられる。第1中間領域は、第2方向において第1他領域と第1領域との間に設けられる。第1領域の第3方向における第1領域長は、第1他領域の第3方向における第1他領域長よりも短い。第3方向は、前記媒体対向面と交差する。第1領域の第2方向における第1幅は、第1磁性部材の第2方向における第1磁性部材幅の1/2以上である。
【選択図】図1
特許請求の範囲
【請求項1】
媒体対向面を含む再生部を備え、
前記再生部は、
第1シールドと、
第2シールドであって、前記第1シールドから前記第2シールドへの第1方向は、前記媒体対向面に沿う、前記第2シールドと、
第3シールドと、
第4シールドであって、前記第3シールドから前記第4シールドへの第2方向は、前記媒体対向面に沿い、前記第1方向と交差した、前記第4シールドと、
前記第1シールドと前記第2シールドとの間、及び、前記第3シールドと前記第4シールドとの間に設けられた第1磁性部材と、
を含み、
前記第3シールドは、第1領域と、第1他領域と、第1中間領域と、を含み、
前記第1領域は、前記第2方向において前記第1他領域と前記第1磁性部材との間に設けられ、
前記第1中間領域は、前記第2方向において前記第1他領域と前記第1領域との間に設けられ、
前記第1領域の第3方向における第1領域長は、前記第1他領域の前記第3方向における第1他領域長よりも短く、
前記第3方向は、前記媒体対向面と交差し、
前記第1中間領域の前記第3方向における第1中間長は前記第2方向において変化し、
前記第1領域の前記第2方向における第1幅は、前記第1磁性部材の前記第2方向における第1磁性部材幅の1/2以上である、磁気ヘッド。
続きを表示(約 1,400 文字)
【請求項2】
前記第1幅は、前記第1領域長よりも長い、請求項1に記載の磁気ヘッド。
【請求項3】
前記第4シールドは、第2領域と、第2他領域と、第2中間領域と、を含み、
前記第2領域は、前記第2方向において前記第1磁性部材と前記第2他領域との間に設けられ、
前記第2中間領域は、前記第2方向において前記第2領域と前記第2他領域との間に設けられ、
前記第2領域の前記第3方向における第2領域長は、前記第2他領域の前記第3方向における第2他領域長よりも短く、
前記第2中間領域の前記第3方向における第2中間長は前記第2方向において変化し、
前記第2領域の前記第2方向における第2幅は、前記第1磁性部材幅の1/2以上である、請求項1に記載の磁気ヘッド。
【請求項4】
前記第1方向及び前記第3方向を含む第1平面における断面における前記第3シールドの第3シールド形状は、前記断面における前記第4シールドの第4シールド形状と、第1線に対して線対称であり、
前記第1線は、前記第1磁性部材の前記第2方向における中心を通り、前記第3方向に沿う、請求項1に記載の磁気ヘッド。
【請求項5】
前記第1領域長は、前記第1磁性部材の前記第3方向における第1磁性部材長よりも長い、請求項1~4のいずれか1つに記載の磁気ヘッド。
【請求項6】
前記再生部は、第2磁性部材をさらに含み、
前記第2磁性部材の前記第2方向における位置は、前記第3シールドの前記第2方向における位置と、前記第4シールドの前記第2方向における位置と、の間にあり、
前記第1磁性部材から前記第2磁性部材への方向は、前記第3方向に沿う、請求項1に記載の磁気ヘッド。
【請求項7】
前記再生部は、
前記第2方向において、前記第3シールドと前記第1磁性部材との間に設けられた第3シールド側導電部材と、
前記第2方向において、前記第1磁性部材と前記第4シールドとの間に設けられた第4シールド側導電部材と、
をさらに含み、
前記第3シールド側導電部材及び前記第4シールド側導電部材の少なくともいずれかは、Ta、Pt、W、Ir、Cr、Tbよりなる群から選択された少なくとも1つを含む、請求項1に記載の磁気ヘッド。
【請求項8】
前記再生部は、
前記第1シールドと電気的に接続された第1端子と、
前記第2シールドと電気的に接続された第2端子と、
前記第3シールドと電気的に接続された第3端子と、
前記第4シールドと電気的に接続された第4端子と、
をさらに含む、請求項1に記載の磁気ヘッド。
【請求項9】
請求項8に記載の磁気ヘッドと、
前記媒体対向面と対向する磁気記録媒体と、
を備え、
前記再生部は、前記磁気記録媒体に記録された情報を再生可能である、磁気記録装置。
【請求項10】
第1回路と、
第2回路と、
をさらに備え、
前記第1回路は、前記第3端子と前記第4端子との間に電流を供給するよう構成され、
前記第2回路は、前記第1端子と前記第2端子との間の電圧を検出するよう構成され、
前記電圧は、前記磁気記録媒体に記録された磁化状態に応じて変化するように構成された、請求項9に記載の磁気記録装置。
発明の詳細な説明
【技術分野】
【0001】
本発明の実施形態は、磁気ヘッド、及び、磁気記録装置に関する。
続きを表示(約 2,200 文字)
【背景技術】
【0002】
磁性層を用いた磁気センサを含む磁気ヘッドを用いて、HDD(Hard Disk Drive)などの磁気記録媒体に記録された情報が再生される。磁気ヘッドにおいて、特性の向上が望まれる。
【先行技術文献】
【非特許文献】
【0003】
Applied Physics Letters, "Perspective on nanoscale magnetic sensors using giant anomalous Hall effect in topological magnetic materials for read head application in magnetic recording", Tomoya Nakatani, Prabhanjan D. Kulkarni, Hirofumi Suto, Keisuke Masuda, Hitoshi Iwasaki, Yuya Sakuraba, 124, 070501 (2024)
【発明の概要】
【発明が解決しようとする課題】
【0004】
本発明の実施形態は、特性の向上が可能な磁気ヘッド、及び、磁気記録装置を提供する。
【課題を解決するための手段】
【0005】
実施形態によれば、磁気ヘッドは、媒体対向面を含む再生部を含む。前記再生部は、第1シールド、第2シールド、第3シールド、第4シールド及び第1磁性部材を含む。前記第1シールドから前記第2シールドへの第1方向は、前記媒体対向面に沿う。前記第3シールドから前記第4シールドへの第2方向は、前記媒体対向面に沿い、前記第1方向と交差する。前記第1磁性部材は、前記第1シールドと前記第2シールドとの間、及び、前記第3シールドと前記第4シールドとの間に設けられる。前記第3シールドは、第1領域と、第1他領域と、第1中間領域と、を含む。前記第1領域は、前記第2方向において前記第1他領域と前記第1磁性部材との間に設けられる。前記第1中間領域は、前記第2方向において前記第1他領域と前記第1領域との間に設けられる。前記第1領域の第3方向における第1領域長は、前記第1他領域の前記第3方向における第1他領域長よりも短い。前記第3方向は、前記媒体対向面と交差する。前記第1中間領域の前記第3方向における第1中間長は前記第2方向において変化する。前記第1領域の前記第2方向における第1幅は、前記第1磁性部材の前記第2方向における第1磁性部材幅の1/2以上である。
【図面の簡単な説明】
【0006】
図1は、第1実施形態に係る磁気ヘッドを例示する模式的断面図である。
図2は、第1実施形態に係る磁気ヘッドを例示する模式的断面図である。
図3は、第1実施形態に係る磁気ヘッドを例示する模式的平面図である。
図4は、第1実施形態に係る磁気ヘッドを例示する模式的断面図である。
図5は、第1実施形態に係る磁気ヘッドを例示する模式的断面図である。
図6は、第2実施形態に係る磁気ヘッド及び磁気記録装置を例示する模式的斜視図である。
図7は、実施形態に係る磁気記録装置の一部を例示する模式的斜視図である。
図8は、実施形態に係る磁気記録装置を例示する模式的斜視図である。
図9(a)及び図9(b)は、実施形態に係る磁気記録装置の一部を例示する模式的斜視図である。
【発明を実施するための形態】
【0007】
以下に、本発明の各実施の形態について図面を参照しつつ説明する。
図面は模式的または概念的なものであり、各部分の厚さと幅との関係、部分間の大きさの比率などは、必ずしも現実のものと同一とは限らない。同じ部分を表す場合であっても、図面により互いの寸法や比率が異なって表される場合もある。
本願明細書と各図において、既出の図に関して前述したものと同様の要素には同一の符号を付して詳細な説明は適宜省略する。
【0008】
(第1実施形態)
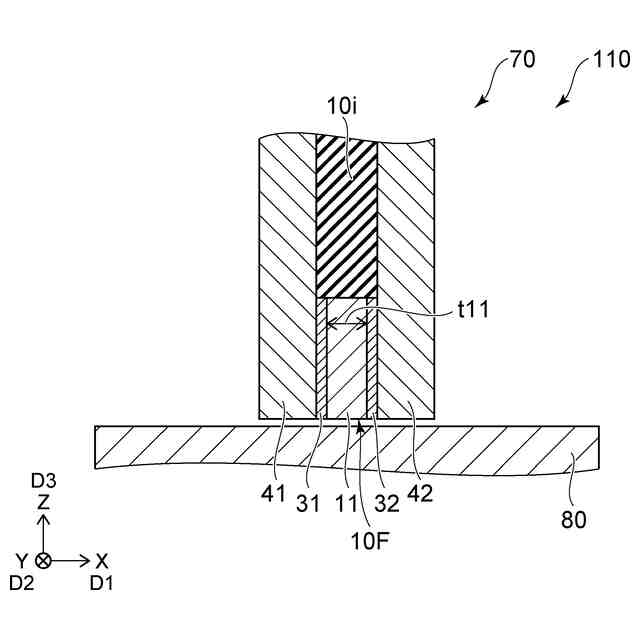
図1及び図2は、第1実施形態に係る磁気ヘッドを例示する模式的断面図である。
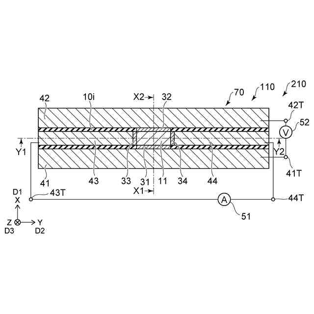
図3は、第1実施形態に係る磁気ヘッドを例示する模式的平面図である。
図1は、図3のY1-Y2線断面図である。図2は、図3のX1-X2線断面図である。
図1~図3に示すように、実施形態に係る磁気ヘッド110は、再生部70を含む。再生部70は、媒体対向面10Fを含む。媒体対向面10Fは、磁気記録媒体80に対向する。再生部70は、磁気記録媒体80に記録された情報を再生するように構成されている。磁気記録媒体80は、例えば、垂直記録媒体である。図3は、媒体対向面10Fからみた再生部70を例示している。
【0009】
再生部70は、第1シールド41、第2シールド42、第3シールド43、第4シールド44、及び、第1磁性部材11を含む。
【0010】
第1シールド41から第2シールド42への第1方向D1は、媒体対向面10Fに沿う。第3シールド43から第4シールド44への第2方向D2は、媒体対向面10Fに沿い、第1方向D1と交差する。
(【0011】以降は省略されています)
この特許をJ-PlatPat(特許庁公式サイト)で参照する
関連特許
株式会社東芝
端子台
22日前
株式会社東芝
モータ
1か月前
株式会社東芝
除去装置
15日前
株式会社東芝
電子装置
1か月前
株式会社東芝
吸音装置
1か月前
株式会社東芝
電子装置
1か月前
株式会社東芝
電子回路
1か月前
株式会社東芝
半導体装置
1か月前
株式会社東芝
半導体装置
1か月前
株式会社東芝
半導体装置
1か月前
株式会社東芝
半導体装置
1か月前
株式会社東芝
半導体装置
1か月前
株式会社東芝
半導体装置
1か月前
株式会社東芝
高周波回路
1か月前
株式会社東芝
半導体装置
1か月前
株式会社東芝
半導体装置
1か月前
株式会社東芝
半導体装置
1か月前
株式会社東芝
半導体装置
1日前
株式会社東芝
真空バルブ
1か月前
株式会社東芝
半導体装置
1か月前
株式会社東芝
半導体装置
1か月前
株式会社東芝
真空バルブ
1か月前
株式会社東芝
半導体装置
1か月前
株式会社東芝
半導体装置
1か月前
株式会社東芝
半導体装置
1か月前
株式会社東芝
半導体装置
1か月前
株式会社東芝
半導体装置
1か月前
株式会社東芝
半導体装置
1か月前
株式会社東芝
半導体装置
1か月前
株式会社東芝
粒子加速器
1か月前
株式会社東芝
電子デバイス
1か月前
株式会社東芝
ディスク装置
1か月前
株式会社東芝
コントローラ
1か月前
株式会社東芝
補修システム
28日前
株式会社東芝
重量測定装置
1か月前
株式会社東芝
電子デバイス
1か月前
続きを見る
他の特許を見る