TOP
|
特許
|
意匠
|
商標
特許ウォッチ
Twitter
他の特許を見る
10個以上の画像は省略されています。
公開番号
2025155247
公報種別
公開特許公報(A)
公開日
2025-10-14
出願番号
2024058960
出願日
2024-04-01
発明の名称
磁気ヘッド、及び、磁気記録装置
出願人
株式会社東芝
代理人
弁理士法人iX
主分類
G11B
5/39 20060101AFI20251006BHJP(情報記憶)
要約
【課題】特性を向上できる磁気ヘッド、及び、磁気記録装置を提供する。
【解決手段】実施形態によれば、磁気ヘッドは、媒体対向面を含む再生部を含む。再生部は、第1~第4シールド、第1磁気素子、第1、第2非磁性層、第1~第3端子を含む。第1磁気素子は、第1シールドと第2シールドとの間、及び、第3シールドと第4シールドとの間に設けられる。第1非磁性層は、第1シールドと第1磁気素子との間に設けられる。第2非磁性層は、第1磁気素子と第2シールドとの間に設けられる。第1非磁性層は、第1シールドと対向する第1面を含む。第2非磁性層は、第2シールドと対向する第2面を含む。第1磁気素子の第2方向における第2長の、第1面と第2面との間の第1方向における第1距離に対する第1比は、0.6以上である。
【選択図】図1
特許請求の範囲
【請求項1】
媒体対向面を含む再生部を備え、
前記再生部は、
第1シールドと、
第2シールドであって、前記第1シールドから前記第2シールドへの方向は、前記媒体対向面に沿う第1方向に沿う、前記第2シールドと、
第3シールドと、
第4シールドであって、前記第3シールドから前記第4シールドへの第2方向は、前記媒体対向面に沿い、前記第1方向と交差した、前記第4シールドと、
前記第1シールドと前記第2シールドとの間、及び、前記第3シールドと前記第4シールドとの間に設けられた第1磁気素子と、
前記第1シールドと前記第1磁気素子との間に設けられた第1非磁性層と、
前記第1磁気素子と前記第2シールドとの間に設けられた第2非磁性層と、
前記第1シールドと電気的に接続された第1端子と、
前記第2シールドと電気的に接続された第2端子と、
前記第1磁気素子と電気的に接続された第3端子と、
を含み、
前記第1非磁性層は、前記第1シールドと対向する第1面を含み、
前記第2非磁性層は、前記第2シールドと対向する第2面を含み、
前記第1磁気素子の前記第2方向における第2長の、前記第1面と前記第2面との間の前記第1方向における第1距離に対する第1比は、0.6以上である、磁気ヘッド。
続きを表示(約 3,000 文字)
【請求項2】
媒体対向面を含む再生部を備え、
前記再生部は、
第1シールドと、
第2シールドであって、前記第1シールドから前記第2シールドへの方向は、前記媒体対向面に沿う第1方向に沿う、前記第2シールドと、
第3シールドと、
第4シールドであって、前記第3シールドから前記第4シールドへの第2方向は、前記媒体対向面に沿い、前記第1方向と交差した、前記第4シールドと、
前記第1シールドと前記第2シールドとの間、及び、前記第3シールドと前記第4シールドとの間に設けられた第1磁気素子と、
前記第1シールドと前記第1磁気素子との間に設けられた第1非磁性層と、
前記第1磁気素子と前記第2シールドとの間に設けられた第2非磁性層と、
前記第1シールドと電気的に接続された第1端子と、
前記第2シールドと電気的に接続された第2端子と、
前記第1磁気素子と電気的に接続された第3端子と、
を含み、
前記第1非磁性層は、前記第1シールドと対向する第1面を含み、
前記第2非磁性層は、前記第2シールドと対向する第2面を含み、
第2比は、0.7以上であり、
前記第2比は、前記第1磁気素子の前記第2方向における第2長と、前記第1磁気素子の第3方向における第3長と、の積の1/2乗の、前記第1面と前記第2面との間の前記第1方向における第1距離に対する比であり、
前記第3方向は、前記媒体対向面と交差する、磁気ヘッド。
【請求項3】
前記第1シールドの第1磁化は、前記媒体対向面と交差する第3方向の第1成分を含み、
前記第2シールドの第2磁化は、前記第3方向と逆の第4方向の第2成分を含む、請求項1に記載の磁気ヘッド。
【請求項4】
前記第1磁気素子は、
第1磁性膜と、
前記第1磁性膜と前記第2シールドとの間に設けられた第2磁性膜と、
前記第1磁性膜と前記第2磁性膜との間に設けられた第1非磁性膜と、
を含み、
前記第1非磁性膜は、Cu、Ru、Ir及びAuよりなる群から選択された少なくとも1つを含み、
前記第1非磁性膜の前記第1方向に沿う第1非磁性膜厚は、0.1nm以上10nm以下であり、
前記第1磁性膜は、前記第1方向に沿う第1磁性膜厚を有し、
前記第2磁性膜は、前記第1方向に沿う第2磁性膜厚を有し、
前記第1磁性膜厚は、前記第2磁性膜厚よりも薄い、請求項1に記載の磁気ヘッド。
【請求項5】
前記第1磁気素子は、
第1磁性膜と、
前記第1磁性膜と前記第2シールドとの間に設けられた第2磁性膜と、
前記第1磁性膜と前記第2磁性膜との間に設けられた第1非磁性膜と、
を含み、
前記第1非磁性膜は、Cu、Ru、Ir及びAuよりなる群から選択された少なくとも1つを含み、
前記第1非磁性膜の前記第1方向に沿う第1非磁性膜厚は、0.1nm以上10nm以下であり、
前記第1磁性膜は、前記第1方向に沿う第1磁性膜厚を有し、
前記第2磁性膜は、前記第1方向に沿う第2磁性膜厚を有し、
前記第1磁性膜厚は、前記第2磁性膜厚と実質的に同じである、請求項1に記載の磁気ヘッド。
【請求項6】
前記再生部は、第1磁性層及び第2磁性層をさらに含み、
前記第1磁気素子は、前記第1方向において前記第1磁性層と前記第2磁性層との間に設けられ、
前記第1磁性層の第1磁性層磁化は、前記媒体対向面と交差する第3方向に沿う第1磁性層成分を含み、
前記第2磁性層の第2磁性層磁化は、第2磁性層成分を含み、前記第2磁性層成分は、前記第3方向に沿う、または、前記第3方向と逆の第4方向に沿う、請求項1に記載の磁気ヘッド。
【請求項7】
前記第1シールドは、第1端及び第1他端を含む第1辺を含み、
前記第2シールドは、第2端及び第2他端を含む第2辺を含み、
前記第1端と前記媒体対向面との間の第3方向に沿う距離は、前記第1他端と前記媒体対向面との間の前記第3方向に沿う距離よりも短く、
前記第3方向は、前記媒体対向面と交差し、
前記第1端の前記第2方向における位置は、前記第3シールドの少なくとも一部の前記第2方向における位置と、前記第1他端の前記第2方向における位置と、の間にあり、
前記第2端と前記媒体対向面との間の前記第3方向に沿う距離は、前記第2他端と前記媒体対向面との間の前記第3方向に沿う距離よりも短く、
前記第2端の前記第2方向における位置は、前記第2他端の前記第2方向における位置と、前記第4シールドの少なくとも一部の前記第2方向における位置と、の間にある、請求項1に記載の磁気ヘッド。
【請求項8】
前記第1シールドは、第1端及び第1他端を含む第1辺を含み、
前記第2シールドは、第2端及び第2他端を含む第2辺を含み、
前記第1端と前記媒体対向面との間の第3方向に沿う距離は、前記第1他端と前記媒体対向面との間の前記第3方向に沿う距離よりも短く、
前記第3方向は、前記媒体対向面と交差し、
前記第1端の前記第2方向における位置は、前記第3シールドの少なくとも一部の前記第2方向における位置と、前記第1他端の前記第2方向における位置と、の間にあり、
前記第2端と前記媒体対向面との間の前記第3方向に沿う距離は、前記第2他端と前記媒体対向面との間の前記第3方向に沿う距離よりも短く、
前記第2端の前記第2方向における位置は、前記第3シールドの前記少なくとも一部の前記第2方向における前記位置と、前記第2他端の前記第2方向における位置と、の間にある、請求項1に記載の磁気ヘッド。
【請求項9】
請求項1~8のいずれか1つに記載の磁気ヘッドと、
前記磁気ヘッドと対向する磁気記録媒体と、
第1回路と、
第2回路と、
を備え、
前記第1回路は、前記第1端子と前記第2端子との間に電流を供給するように構成され、
前記第2回路は、前記第3端子と、前記第1端子及び前記第2端子の一方と、の間の電圧を検出するように構成され、
前記電圧は、前記磁気記録媒体に記録された磁化状態に応じて変化するように構成された、磁気記録装置。
【請求項10】
前記第2回路は、
第1入力部及び第1他入力部を含む第1差動回路と、
第2入力部及び第2他入力部を含む第2差動回路と、
を含み、
前記第1入力部は、前記第1端子と電気的に接続され、
前記第1他入力部は、前記第3端子と電気的に接続され、
前記第2入力部は、前記第2端子と電気的に接続され、
前記第2他入力部は、前記第3端子と電気的に接続された、請求項9に記載の磁気記録装置。
発明の詳細な説明
【技術分野】
【0001】
本発明の実施形態は、磁気ヘッド、及び、磁気記録装置に関する。
続きを表示(約 2,900 文字)
【背景技術】
【0002】
磁気センサを含む磁気ヘッドを用いて、HDD(Hard Disk Drive)などの磁気記録媒体に記録された情報が再生される。磁気ヘッドにおいて、特性の向上が望まれる。
【先行技術文献】
【特許文献】
【0003】
米国特許第7576948号明細書
【発明の概要】
【発明が解決しようとする課題】
【0004】
本発明の実施形態は、特性を向上できる磁気ヘッド、及び、磁気記録装置を提供する。
【課題を解決するための手段】
【0005】
実施形態によれば、磁気ヘッドは、媒体対向面を含む再生部を含む。前記再生部は、第1シールド、第2シールド、第3シールド、第4シールド、第1磁気素子、第1非磁性層、第2非磁性層、第1端子、第2端子、及び、第3端子を含む。前記第1シールドから前記第2シールドへの方向は、前記媒体対向面に沿う第1方向に沿う。前記第3シールドから前記第4シールドへの第2方向は、前記媒体対向面に沿い、前記第1方向と交差する。前記第1磁気素子は、前記第1シールドと前記第2シールドとの間、及び、前記第3シールドと前記第4シールドとの間に設けられる。前記第1非磁性層は、前記第1シールドと前記第1磁気素子との間に設けられる。前記第2非磁性層は、前記第1磁気素子と前記第2シールドとの間に設けられる。前記第1端子は、前記第1シールドと電気的に接続される。前記第2端子は、前記第2シールドと電気的に接続される。前記第3端子は、前記第1磁気素子と電気的に接続される。前記第1非磁性層は、前記第1シールドと対向する第1面を含む。前記第2非磁性層は、前記第2シールドと対向する第2面を含む。前記第1磁気素子の前記第2方向における第2長の、前記第1面と前記第2面との間の前記第1方向における第1距離に対する第1比は、0.6以上である。
【図面の簡単な説明】
【0006】
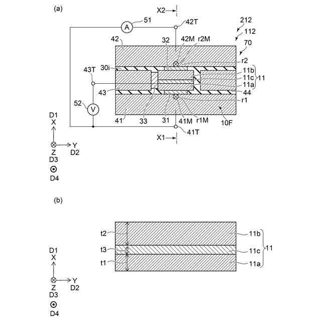
図1は、第1実施形態に係る磁気ヘッドを例示する模式的平面図である。
図2は、第1実施形態に係る磁気ヘッドを例示する模式的断面図である。
図3は、磁気ヘッドの特性を例示するグラフである。
図4は、磁気ヘッドの特性を例示するグラフである。
図5は、磁気ヘッドの特性を例示するグラフである。
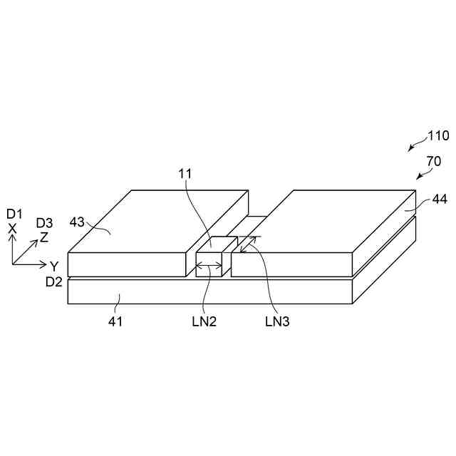
図6は、第1実施形態に係る磁気ヘッドの一部を例示する模式的斜視図である。
図7は、磁気ヘッドの特性を例示するグラフである。
図8は、第1実施形態に係る磁気ヘッドを例示する模式的平面図である。
図9(a)及び図9(b)は、第1実施形態に係る磁気ヘッドを例示する模式図である。
図10(a)及び図10(b)は、第1実施形態に係る磁気ヘッドを例示する模式図である。
図11は、第1実施形態に係る磁気ヘッドを例示する模式的平面図である。
図12は、第1実施形態に係る磁気ヘッドの一部を例示する模式的斜視図である。
図13は、第1実施形態に係る磁気ヘッドを例示する模式的平面図である。
図14は、第1実施形態に係る磁気ヘッドの一部を例示する模式的斜視図である。
図15は、第1実施形態に係る磁気ヘッドを例示する模式的平面図である。
図16は、第1実施形態に係る磁気ヘッドの一部を例示する模式的斜視図である。
図17は、第1実施形態に係る磁気ヘッドを例示する模式的平面図である。
図18は、第1実施形態に係る磁気ヘッドの一部を例示する模式的斜視図である。
図19は、第1実施形態に係る磁気ヘッドを例示する模式図である。
図20は、第1実施形態に係る磁気ヘッドを例示する模式図である。
図21(a)及び図21(b)は、第1実施形態に係る磁気ヘッドを例示する模式図である。
図22は、第1実施形態に係る磁気ヘッドを例示する模式図である。
図23は、第1実施形態に係る磁気ヘッドを例示する模式図である。
図24(a)及び図24(b)は、第1実施形態に係る磁気ヘッドを例示する模式図である。
図25は、第1実施形態に係る磁気ヘッドを例示する模式的斜視図である。
図26は、実施形態に係る磁気記録装置を例示する模式図である。
図27は、実施形態に係る磁気ヘッドを例示する模式的斜視図である。
図28は、実施形態に係る磁気記録装置の一部を例示する模式的斜視図である。
図29は、実施形態に係る磁気記録装置を例示する模式的斜視図である。
図30(a)及び図30(b)は、実施形態に係る磁気記録装置の一部を例示する模式的斜視図である。
【発明を実施するための形態】
【0007】
以下に、本発明の各実施の形態について図面を参照しつつ説明する。
図面は模式的または概念的なものであり、各部分の厚さと幅との関係、部分間の大きさの比率などは、必ずしも現実のものと同一とは限らない。同じ部分を表す場合であっても、図面により互いの寸法や比率が異なって表される場合もある。
本願明細書と各図において、既出の図に関して前述したものと同様の要素には同一の符号を付して詳細な説明は適宜省略する。
【0008】
(第1実施形態)
図1は、第1実施形態に係る磁気ヘッドを例示する模式的平面図である。
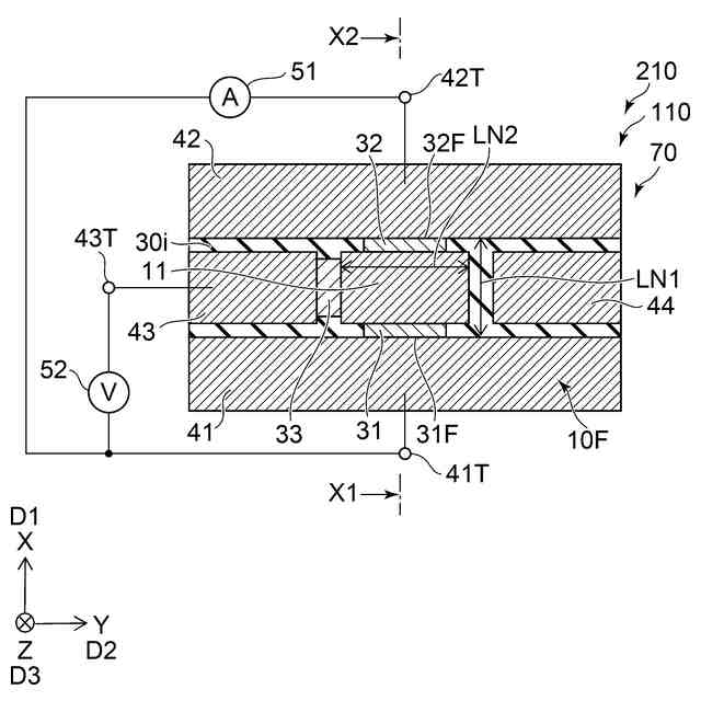
図2は、第1実施形態に係る磁気ヘッドを例示する模式的断面図である。
図2は、図1のX1-X2線断面図である。
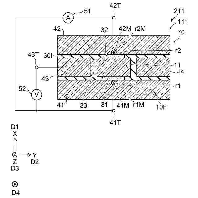
図1に示すように、実施形態に係る磁気ヘッド110は、再生部70を含む。図2に示すように、再生部70は、媒体対向面10Fを含む。
【0009】
図2に示すように、媒体対向面10Fは、磁気記録媒体80に対向する。実施形態に係る磁気記録装置210は、磁気ヘッド110及び磁気記録媒体80を含む。後述するように、磁気ヘッド110は、記録部をさらに含んで良い。記録部により、磁気記録媒体80に情報が記録される。記録部により、磁気記録媒体80の磁化が、情報に応じて制御される。例えば、再生部70により、磁気記録媒体80の磁化が検出される。再生部70により、磁気記録媒体80に記録された情報が再生される。
【0010】
磁気記録媒体80に対して垂直な方向をZ軸方向とする。Z軸方向に対して垂直な1つの方向をX軸方向とする。Z軸方向及びX軸方向に対して垂直な方向をY軸方向とする。Z軸方向は、例えば、ハイト方向である。X軸方向は、例えば、ダウントラック方向で良い。Y軸方向は、例えば、クロストラック方向で良い。媒体対向面10Fは、例えば、X-Y平面に沿う。図1は、媒体対向面10Fからみた再生部70の平面図に対応する。
(【0011】以降は省略されています)
この特許をJ-PlatPat(特許庁公式サイト)で参照する
関連特許
株式会社東芝
端子台
1か月前
株式会社東芝
除去装置
25日前
株式会社東芝
電子装置
1か月前
株式会社東芝
電子回路
1か月前
株式会社東芝
真空バルブ
1か月前
株式会社東芝
高周波回路
1か月前
株式会社東芝
半導体装置
1か月前
株式会社東芝
半導体装置
1か月前
株式会社東芝
半導体装置
1か月前
株式会社東芝
半導体装置
1か月前
株式会社東芝
半導体装置
1か月前
株式会社東芝
半導体装置
11日前
株式会社東芝
半導体装置
1か月前
株式会社東芝
半導体装置
1か月前
株式会社東芝
半導体装置
1か月前
株式会社東芝
半導体装置
1か月前
株式会社東芝
半導体装置
1か月前
株式会社東芝
半導体装置
1か月前
株式会社東芝
真空バルブ
1か月前
株式会社東芝
半導体装置
1か月前
株式会社東芝
半導体装置
1か月前
株式会社東芝
半導体装置
1か月前
株式会社東芝
半導体装置
3日前
株式会社東芝
半導体装置
1か月前
株式会社東芝
コントローラ
1か月前
株式会社東芝
超電導コイル
1か月前
株式会社東芝
ディスク装置
24日前
株式会社東芝
補修システム
1か月前
株式会社東芝
電気車制御装置
27日前
株式会社東芝
半導体スイッチ
1か月前
株式会社東芝
半導体集積回路
1か月前
株式会社東芝
パワーモジュール
17日前
株式会社東芝
光量子乱数生成器
1か月前
株式会社東芝
磁気ディスク装置
1か月前
株式会社東芝
地熱発電システム
3日前
株式会社東芝
パワーモジュール
17日前
続きを見る
他の特許を見る