TOP
|
特許
|
意匠
|
商標
特許ウォッチ
Twitter
他の特許を見る
10個以上の画像は省略されています。
公開番号
2025148257
公報種別
公開特許公報(A)
公開日
2025-10-07
出願番号
2025026945
出願日
2025-02-21
発明の名称
光量子乱数生成器
出願人
株式会社東芝
代理人
弁理士法人鈴榮特許綜合事務所
主分類
G06F
7/58 20060101AFI20250930BHJP(計算;計数)
要約
【課題】利得スイッチレーザーに基づく量子乱数生成器(QRNG)の性能を継続的に改善する。
【解決手段】QRNG1は、複数の位相ランダム化パルスのストリームを放出するように構成された半導体レーザー3と、複数の位相ランダム化パルスのストリームのうちのパルスのペアを変調する強度コントローラである光増幅器9(たとえば半導体光増幅器)と、変調されたパルスのペア間の位相差を位相測定要素の出力における強度変調に変換するように構成された位相測定要素として働く時間遅延干渉計11と、位相測定要素の出力に光学的に結合され、光検出器D1、D2を備える光学検出器アセンブリと、を備える。
【選択図】図2
特許請求の範囲
【請求項1】
複数の位相ランダム化パルスのストリームを放出するように構成されたレーザーと、
複数の位相ランダム化パルスの前記ストリームのうちのパルスのペアを変調するように構成された強度コントローラと、
前記変調されたパルスのペア間の位相差を位相測定要素の出力における強度変調に変換するように構成された位相測定要素と、
前記位相測定要素の前記出力に光学的に結合された光学検出器と
を備える、量子乱数生成器(QRNG)。
続きを表示(約 940 文字)
【請求項2】
前記強度コントローラは、複数の位相ランダム化パルスの前記ストリームのうちの前記パルスのペアを、前記ペアの各パルスについて、前記パルスのリーディング部分の強度が、前記パルスのトレーリング部分の強度と比較して低減されるように、変調するように構成された、請求項1に記載の量子乱数生成器。
【請求項3】
前記強度コントローラが、前記パルスのペアの強度を増幅するように構成された光増幅器を備える、請求項2に記載の量子乱数生成器。
【請求項4】
前記光増幅器が、前記パルスの前記トレーリング部分の前記強度を、前記パルスの前記リーディング部分の前記強度よりも強く増幅するように構成された、請求項3に記載の量子乱数生成器。
【請求項5】
前記強度コントローラが半導体光増幅器を備える、請求項3に記載の量子乱数生成器。
【請求項6】
前記強度コントローラが、前記パルスの前記リーディング部分の前記強度を前記パルスの前記トレーリング部分の前記強度よりも強く減衰させることによって、各放出されたパルスを変調するように構成された、請求項2に記載の量子乱数生成器。
【請求項7】
前記強度コントローラが、電界吸収変調器、マッハ-ツェンダー変調器、または光スイッチを備える、請求項6に記載の量子乱数生成器。
【請求項8】
前記位相測定要素は、前記光増幅器からの光を、少なくとも1つのアームが干渉計遅延を備える2つのアームのほうへ向けるように構成された時間遅延干渉計であり、ここにおいて、前記2つのアームからの光が、互いに干渉され、前記位相測定要素の前記出力に向けられる、請求項3に記載の量子乱数生成器。
【請求項9】
前記干渉計遅延は、前記時間遅延干渉計が前記変調されたパルスのペアに干渉することを可能にするように設定される、請求項8に記載の量子乱数生成器。
【請求項10】
前記干渉計遅延が、放出された複数のパルスの前記ストリーム中の複数のパルス間の時間的分離の整数倍に等しい、請求項9に記載の量子乱数生成器。
(【請求項11】以降は省略されています)
発明の詳細な説明
【技術分野】
【0001】
本明細書で説明される実施形態は、量子乱数生成器に関し、特に光量子乱数生成器に関する。
続きを表示(約 2,600 文字)
【背景技術】
【0002】
暗号、数値シミュレーション、またはくじ引きを含む様々な用途において、乱数が使用される。乱数は、量子乱数生成器(QRNG)から作り出され得る。QRNGでは、ランダム性の源は、物理的なものであり、測定の予測不可能性に依拠し、特に、その予測不可能性は量子力学的特性に依拠する。QRNGは、利得スイッチ(gain-switched)ダイオードレーザーを使用して実装され得る。利得スイッチダイオードレーザーでは、レーザー発振しきい値(lasing threshold)は、量子力学的プロセスである自然放出によって支配され、したがって、放出されたパルスの位相はランダムである。ダイオードレーザーをオンおよびオフに繰り返しスイッチングすることによって、各々がランダム位相を有する、光パルスのストリームが生成され得る。光パルスのストリーム中の各光パルスのランダム位相を測定することによって、乱数のシーケンスが取得され得る。
【0003】
利得スイッチレーザーに基づくQRNGの性能を継続的に改善する必要がある。
【0004】
次に、本発明の実施形態が、添付の概略図を参照しながら単に例として説明される。
【図面の簡単な説明】
【0005】
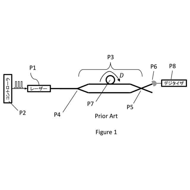
図1は、比較例によるQRNGの概略図である。
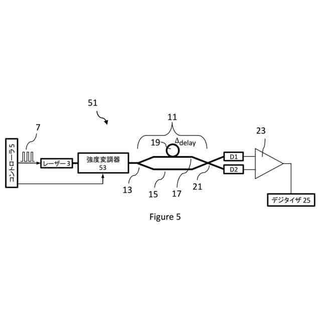
図2は、一実施形態による例示的なQRNGの概略図である。
図3は、乱数を取得するための差動増幅器の出力のデジタル化および処理を示す。
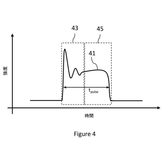
図4は、レーザーパルスの強度プロファイルの概略図である。
図5は、実施形態によるさらなる例示的なQRNGの概略図である。
図6は、実施形態によるさらなる例示的なQRNGの概略図である。
図7Aは、実験データを示す。
図7Bは、実験データを示す。
図7Cは、実験データを示す。
図7Dは、実験データを示す。
図8は、実験データを示す。
【発明を実施するための形態】
【0006】
不要な繰返しを回避するために、図における同様の特徴を示すために同様の参照番号が使用される。
【0007】
一実施形態では、従来のデバイスの問題を少なくとも部分的に克服する、新しく有用な光量子乱数生成器(QRNG)が提供される。たとえば、従来の光QRNGは、位相ランダム化光パルスを生成するために利得スイッチ半導体レーザーを採用し得る。次いで、これらの位相ランダム化光パルスのうちの2つが、ランダム強度の干渉パルスを生成するために干渉される。干渉パルスの強度は、アナログ電圧信号を提供するためにフォトダイオードによって変換され、このアナログ電圧信号は、乱数を生成するためにさらに処理されるためにアナログデジタル変換器(ADC)によってデジタル化される。従来の光QRNGの問題は、(たとえば、デバイスが高い繰返しレートにおいて動作されるとき、および/またはデバイスがフォトニック集積回路として実装されるとき)フォトダイオードによって提供される電圧パルスが、(望ましくない古典的雑音をもたらす著しく大きい電子的増幅が使用されない限り)しばしば、ADCのダイナミックレンジを最適利用するには小さすぎることである。これは、達成可能な乱数生成レートを低減する。この目的で、本開示は、干渉パルスが、ADCのダイナミックレンジを最適利用する、フォトダイオードによる電圧信号になるように、位相ランダム化光パルスの強度を(すなわち、位相ランダム化光パルスが干渉される前に)増幅するために光増幅器を使用する、QRNGを提案する。利得スイッチレーザーを採用する従来の光QRNGの別の問題は、生成された位相ランダム化パルスの各々が、(以下でより詳細に説明されるように)低減されたコヒーレンスの最初の部分を含むことである。実際には、これは、パルスのこの部分が所望の干渉信号に影響しないが、代わりに、望ましくない古典的雑音をフォトダイオード信号に加えることを意味する。この目的で、本開示は、位相ランダム化光パルスが干渉される前にパルスの関係する最初の(または「リーディング(leading)」)部分をブロックする(または少なくとも、パルスの最初の部分の相対強度を、パルスの後の「有用な部分」と比較して低減する)、QRNGを提案する。従来の光QRNGの別の問題は、生成されたフォトダイオード信号が、しばしば、(レーザー駆動信号からの電気的クロストークなどの)古典的雑音によって「汚染される」ことであり、これは、望ましくない相関を生出力にもたらす。この目的で、本開示は、相補的な干渉パルスを検出するように構成された2つの光検出器(photodetector)を採用するQRNGを提案する。この場合、クロストークおよび古典的雑音は、2つの光検出器の出力間の差をとり、この差から乱数を生成することによって、抑制される。
【0008】
一実施形態では、量子乱数生成器(QRNG)が提供される。QRNGは、複数の位相ランダム化パルスのストリームを放出するように構成されたレーザーと、複数の位相ランダム化パルスのストリームのうちのパルスのペアを変調する(たとえば、増幅するまたは減衰させる)ように構成された強度コントローラと、変調されたパルスのペア間の位相差を位相測定要素の出力における強度変調に変換するように構成された位相測定要素と、位相測定要素の出力に光学的に結合された光学検出器(optical detector)とを備える。
【0009】
一実施形態では、強度コントローラは、複数の位相ランダム化パルスのストリームのうちのパルスのペアを、ペアの各パルスについて、パルスのリーディング部分の強度が、パルスのトレーリング(trailing)部分の強度と比較して低減されるように、変調するように構成され得る。
【0010】
一実施形態では、強度コントローラは、パルスのペアの強度を増幅するように構成された光増幅器(たとえば半導体光増幅器)を備え得る。
(【0011】以降は省略されています)
この特許をJ-PlatPat(特許庁公式サイト)で参照する
関連特許
株式会社東芝
端子台
16日前
株式会社東芝
モータ
1か月前
株式会社東芝
センサ
1か月前
株式会社東芝
センサ
1か月前
株式会社東芝
電子装置
1か月前
株式会社東芝
吸音装置
1か月前
株式会社東芝
電子回路
25日前
株式会社東芝
除去装置
9日前
株式会社東芝
電子装置
29日前
株式会社東芝
金型構造
1か月前
株式会社東芝
半導体装置
25日前
株式会社東芝
粒子加速器
1か月前
株式会社東芝
半導体装置
29日前
株式会社東芝
半導体装置
1か月前
株式会社東芝
半導体装置
25日前
株式会社東芝
半導体装置
1か月前
株式会社東芝
半導体装置
25日前
株式会社東芝
半導体装置
1か月前
株式会社東芝
半導体装置
1か月前
株式会社東芝
真空バルブ
24日前
株式会社東芝
半導体装置
25日前
株式会社東芝
半導体装置
25日前
株式会社東芝
高周波回路
25日前
株式会社東芝
半導体装置
1か月前
株式会社東芝
半導体装置
1か月前
株式会社東芝
半導体装置
1か月前
株式会社東芝
半導体装置
1か月前
株式会社東芝
半導体装置
29日前
株式会社東芝
半導体装置
1か月前
株式会社東芝
半導体装置
29日前
株式会社東芝
真空バルブ
1か月前
株式会社東芝
半導体装置
1か月前
株式会社東芝
半導体装置
1か月前
株式会社東芝
半導体装置
1か月前
株式会社東芝
半導体装置
1か月前
株式会社東芝
半導体装置
1か月前
続きを見る
他の特許を見る