TOP
|
特許
|
意匠
|
商標
特許ウォッチ
Twitter
他の特許を見る
10個以上の画像は省略されています。
公開番号
2025159563
公報種別
公開特許公報(A)
公開日
2025-10-21
出願番号
2024062232
出願日
2024-04-08
発明の名称
磁気ディスク装置
出願人
株式会社東芝
,
東芝デバイス&ストレージ株式会社
代理人
弁理士法人スズエ国際特許事務所
主分類
G11B
5/596 20060101AFI20251014BHJP(情報記憶)
要約
【課題】 ディスクのデータトラックに対するエラー訂正が限界に達するかどうかを予測することのできる磁気ディスク装置を提供する。
【解決手段】 磁気ディスク装置は、ディスクDKと、ライトヘッドWHDと、ライト処理部62と、エラー訂正部64と、訂正限界予測部65と、判断部66と、を備える。第2データトラックに対してライト処理を実行するライト期間に、訂正限界予測部65は、第1データトラックの各々の対象セクタのデータが破損したかどうか判断可能であり、第2データトラックの全ての対象セクタへのライト処理を完了するまでに、予測情報を生成し、判断部66は、上記予測情報に基づいてライト処理部62に第2データトラックに対するライト処理を継続させるかどうか判断する。
【選択図】図1
特許請求の範囲
【請求項1】
記録層に互いに隣接した第1データトラック及び第2データトラックを有するディスクであって、前記第1データトラック及び前記第2データトラックはそれぞれデータがライトされる対象である複数の対象セクタを含んでいる、前記ディスクと、
前記ディスクの前記記録層に対してデータをライトするライトヘッドと、
前記記録層に対してデータをライトするライト処理を実行可能であるライト処理部と、
前記第1データトラック及び前記第2データトラックのそれぞれの前記複数の対象セクタのうちデータが破損していると判断された破損対象セクタのデータのエラー訂正を実行するエラー訂正部と、
訂正限界予測部と、
判断部と、を備え、
前記第1データトラックの前記複数の対象セクタに対して前記ライト処理を実行した後に前記第2データトラックの前記複数の対象セクタに対して前記ライト処理を実行するライト期間に、
前記訂正限界予測部は、
前記第1データトラックの各々の前記対象セクタのデータが破損したかどうか判断可能であり、
前記第2データトラックの全ての対象セクタへの前記ライト処理を完了するまでに、前記第1データトラックに対する前記エラー訂正が限界に達するかどうかを予測する情報である予測情報を生成し、
前記判断部は、前記予測情報に基づいて前記ライト処理部に前記第2データトラックに対する前記ライト処理を継続させるかどうか判断する、
磁気ディスク装置。
続きを表示(約 3,600 文字)
【請求項2】
前記エラー訂正部によるトラック単位のエラー訂正モードを有効とする有効モードに設定可能である切替え部をさらに備え、
前記ライト期間に、前記予測情報が、前記エラー訂正が限界に達しないことを予測する正常情報である場合、
前記切替え部は、前記エラー訂正モードを前記有効モードとし、
前記判断部は、前記ライト処理部に前記第2データトラックに対する前記ライト処理を継続させる、
請求項1に記載の磁気ディスク装置。
【請求項3】
前記切替え部は、前記エラー訂正モードを前記有効モード又は前記エラー訂正モードを無効とする無効モードに切替え可能であり、
前記ライト期間に、前記予測情報が、前記エラー訂正が限界に達することを予測する異常情報に替わった場合、
前記切替え部は、前記エラー訂正モードを前記無効モードに切替え、
前記判断部は、前記ライト処理部に前記第2データトラックに対する前記ライト処理を休止させる、
請求項2に記載の磁気ディスク装置。
【請求項4】
前記ライトヘッドを支持したアームと、
前記アームを動かすアクチュエータと、をさらに備え、
前記ライト期間に、前記エラー訂正モードが前記無効モードに切替わった際、
前記ライト処理部は、前記第2データトラックに対する前記ライト処理を休止し、前記アクチュエータを駆動し前記ディスクの半径方向における前記ライトヘッドの位置を維持し、前記ディスクの回転待ちをして前記ライト処理を再開するライトリトライ動作に移行する、
請求項3に記載の磁気ディスク装置。
【請求項5】
前記ライト処理部が前記ライトリトライ動作に移行した後、前記予測情報が、前記正常情報に替わった場合、
前記切替え部は、前記エラー訂正モードを前記有効モードに切替え、
前記判断部は、前記ライト処理部に前記第2データトラックに対する前記ライト処理を再開させる、
請求項4に記載の磁気ディスク装置。
【請求項6】
前記ライト期間に、前記訂正限界予測部は、前記第1データトラックの前記複数の対象セクタのうちデータが破損していると判断した1以上の破損対象セクタの個数を管理し、
前記第1データトラックに対する前記エラー訂正が限界に達することは、前記1以上の破損対象セクタの個数が第1閾値に達することであり、
ここで、
前記第2データトラックの全ての前記対象セクタの個数をG個、
前記第1閾値をH1個、
前記ライト期間に、前記第2データトラックに最初にデータをライトしてから前記第1データトラックに最初に前記破損対象セクタが発生したと判断されるまでの間にデータがライトされた前記対象セクタの個数をn個、
式1を、H1≧{(G-n)/n}+1、
式2を、H1<{(G-n)/n}+1、とすると、
前記ライト期間に、前記第1データトラックに前記破損対象セクタが発生していないと前記訂正限界予測部が判断した際に、前記切替え部は前記エラー訂正モードを前記有効モードに維持し、又は
前記ライト期間に、前記第1データトラックに前記破損対象セクタが発生したとの前記訂正限界予測部による判断が初回であった際に、
前記訂正限界予測部が前記式1に該当する前記正常情報を生成した場合、前記切替え部は前記エラー訂正モードを前記有効モードに維持し、又は
前記訂正限界予測部が前記式2に該当する前記異常情報を生成した場合、前記切替え部は前記エラー訂正モードを前記無効モードに切替える、
請求項4に記載の磁気ディスク装置。
【請求項7】
前記ライト期間に、前記訂正限界予測部は、前記第1データトラックの前記複数の対象セクタのうちデータが破損していると判断した1以上の破損対象セクタの個数を管理し、
前記第1データトラックに対する前記エラー訂正が限界に達することは、前記1以上の破損対象セクタの個数が第1閾値に達することであり、
ここで、
前記第2データトラックの全ての前記対象セクタの個数をG個、
前記第1閾値をH1個、
前記ライト期間に、前記第1データトラックに前回、前記破損対象セクタが発生したと判断されてから前記第1データトラックに最後に前記破損対象セクタが発生したと判断されるまでの間にデータがライトされた前記対象セクタの個数をp個、
前記第2データトラックに最初にデータをライトしてから前記第1データトラックに最後に前記破損対象セクタが発生したと判断されるまでの間にデータがライトされた前記対象セクタの個数をq個、
前記第1データトラックに最後に前記破損対象セクタが発生したと判断されるまでの間にデータが破損していると判断された前記破損対象セクタの個数をv個、
式3を、H1≧{(G-q)/p}+v、
式4を、H1<{(G-q)/p}+v、とすると、
前記ライト期間に、前記第1データトラックに前記破損対象セクタが発生していないと前記訂正限界予測部が判断した際に、前記切替え部は前記エラー訂正モードを前記有効モードに維持し、又は
前記ライト期間に、前記第1データトラックに前記破損対象セクタが発生したとの前記訂正限界予測部による判断が2回目以降であった際に、
前記訂正限界予測部が前記式3に該当する前記正常情報を生成した場合、前記切替え部は前記エラー訂正モードを前記有効モードに維持し、又は
前記訂正限界予測部が前記式4に該当する前記異常情報を生成した場合、前記切替え部は前記エラー訂正モードを前記無効モードに切替える、
請求項4に記載の磁気ディスク装置。
【請求項8】
前記ライト期間に、前記訂正限界予測部は、前記第1データトラックの前記複数の対象セクタのうちデータが破損していると判断した1以上の破損対象セクタの個数を管理し、
前記第1データトラックに対する前記エラー訂正が限界に達することは、前記1以上の破損対象セクタの個数が第1閾値に達することである、
請求項1に記載の磁気ディスク装置。
【請求項9】
前記第1閾値は、前記第1データトラックのうち前記エラー訂正部によって前記エラー訂正を実行可能な前記1以上の破損対象セクタの個数の上限値である、
請求項8に記載の磁気ディスク装置。
【請求項10】
前記ディスクの半径方向に平行な方向において、前記第1データトラックは、前記第2データトラックからみて第1方向に位置し、
前記ライト期間に、前記訂正限界予測部は、前記第2データトラックの各々の前記対象セクタにデータをライトする毎に前記ライトヘッドの位置が基準半径位置より前記第1方向にはみ出している超過量を算出し、前記ライト期間における前記超過量の合計を更新し、
前記第1データトラックに対する前記エラー訂正が限界に達することは、前記合計が第2閾値に達することであり、
ここで、
前記第2データトラックの全ての前記対象セクタの個数をG個、
前記第2閾値をH2、
前記ライト期間に、前記第2データトラックに最初にデータをライトしてから前記ライトヘッドの位置が前記基準半径位置より前記第1方向に最初にはみ出したと判断されるまでの間にデータがライトされた前記対象セクタの個数をn個、
前記ライトヘッドの位置が前記基準半径位置より前記第1方向に最初にはみ出したと判断された際の前記超過量をw、
式5を、H2≧{(w/n)・(G-n)}+w、
式6を、H2<{(w/n)・(G-n)}+w、とすると、
前記ライト期間に、前記ライトヘッドの位置が前記基準半径位置より前記第1方向にはみ出さなかったと前記訂正限界予測部が判断した際に、前記切替え部は前記エラー訂正モードを前記有効モードに維持し、又は
前記ライト期間に、前記ライトヘッドの位置が前記基準半径位置より前記第1方向にはみ出したとの判断が初回であった際に、
前記訂正限界予測部が前記式5に該当する前記正常情報を生成した場合、前記切替え部は前記エラー訂正モードを前記有効モードに維持し、又は
前記訂正限界予測部が前記式6に該当する前記異常情報を生成した場合、前記切替え部は前記エラー訂正モードを前記無効モードに切替える、
請求項4に記載の磁気ディスク装置。
(【請求項11】以降は省略されています)
発明の詳細な説明
【技術分野】
【0001】
本発明の実施形態は、磁気ディスク装置に関する。
続きを表示(約 5,700 文字)
【背景技術】
【0002】
磁気ディスク装置として、ディスクの半径方向に間隔を置いて複数のトラックをライトする通常記録(Conventional Magnetic Recording:CMR)型式(又は、従来記録型式)の磁気ディスク装置、ディスクの半径方向に複数のトラックを重ね書きする瓦記録(Shingled Magnetic Recording:SMR、又はShingled Write Recording:SWR)型式の磁気ディスク装置、及び通常記録型式及び瓦記録型式を選択して実行するハイブリッド記録型式の磁気ディスク装置が知られている。
【先行技術文献】
【特許文献】
【0003】
特開2020-042888号公報
特開2019-215943号公報
特開2021-047946号公報
【発明の概要】
【発明が解決しようとする課題】
【0004】
本実施形態は、ディスクのデータトラックに対するエラー訂正が限界に達するかどうかを予測することのできる磁気ディスク装置を提供する。
【課題を解決するための手段】
【0005】
一実施形態に係る磁気ディスク装置は、
記録層に互いに隣接した第1データトラック及び第2データトラックを有するディスクであって、前記第1データトラック及び前記第2データトラックはそれぞれデータがライトされる対象である複数の対象セクタを含んでいる、前記ディスクと、
前記ディスクの前記記録層に対してデータをライトするライトヘッドと、
前記記録層に対してデータをライトするライト処理を実行可能であるライト処理部と、
前記第1データトラック及び前記第2データトラックのそれぞれの前記複数の対象セクタのうちデータが破損していると判断された破損対象セクタのデータのエラー訂正を実行するエラー訂正部と、
訂正限界予測部と、
判断部と、を備え、
前記第1データトラックの前記複数の対象セクタに対して前記ライト処理を実行した後に前記第2データトラックの前記複数の対象セクタに対して前記ライト処理を実行するライト期間に、
前記訂正限界予測部は、
前記第1データトラックの各々の前記対象セクタのデータが破損したかどうか判断可能であり、
前記第2データトラックの全ての対象セクタへの前記ライト処理を完了するまでに、前記第1データトラックに対する前記エラー訂正が限界に達するかどうかを予測する情報である予測情報を生成し、
前記判断部は、前記予測情報に基づいて前記ライト処理部に前記第2データトラックに対する前記ライト処理を継続させるかどうか判断する。
【図面の簡単な説明】
【0006】
図1は、第1の実施形態に係る磁気ディスク装置の構成を示すブロック図である。
図2は、上記磁気ディスク装置の一部を示す斜視図であり、複数枚のディスク及び複数のヘッドを示す図である。
図3は、上記実施形態に係る1枚のディスクの複数のサーボ領域及び複数のデータ領域の配置の一例を示す概略図である。
図4は、図3に示したディスクの瓦記録処理が行われるユーザデータ領域の3つのトラックと、ライトヘッドと、を示す模式図である。
図5は、図3に示したディスクの通常記録処理が行われるメディアキャッシュの3つのトラックと、ライトヘッドと、を示す模式図である。
図6は、ディスクにおけるデータのライト処理の一例を示す模式図である。
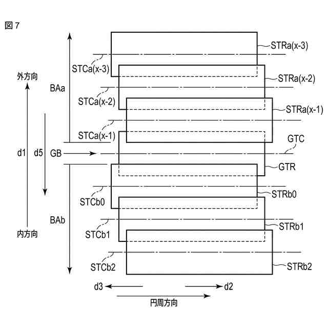
図7は、図6に示したユーザデータ領域のうち2つのバンドと、1つのガードバンドと、を示す模式図である。
図8は、図6に示したバンドの1つのトラックのうち3つのセクタを示す模式図である。
図9は、図7に示した2つのバンドと、1つのガードバンドと、を示す模式図であり、複数の対象セクタと複数の未使用セクタを説明するための図である。
図10は、上記磁気ディスク装置がトラックのデータに対するトラック単位のエラー訂正を実行する機能を有していないと仮定した場合における第1トラック及び第2トラックの一例を示す模式であり、第1トラック及び第2トラックに対するライト処理を説明するための図であり、第1トラックに対するエラー訂正が限界に達するまで第2トラックに対するライト処理を継続した状態を説明するための図であり、第1トラックに対するBERの変化と位置決め誤差に対するBERの変化とをそれぞれグラフで示す図である。
図11は、上記磁気ディスク装置がトラックのデータに対するトラック単位のエラー訂正を実行する機能を有していないと仮定した場合における第1トラック及び第2トラックの一例を示す模式であり、第1トラック及び第2トラックに対するライト処理を説明するための図であり、判定値がトラックマージンよりも小さい(厳しい)ライトオフトラックスライスに設定され、位置決め誤差がライトオフトラックスライス以上になったことを検出した際に第2トラックに対するライト処理を終了した状態を説明するための図であり、第1トラックに対するBERの変化と位置決め誤差に対するBERの変化とをそれぞれグラフで示す図である。
図12は、トラックのデータに対するトラック単位のエラー訂正を実行する機能を有する上記磁気ディスク装置の第1トラック及び第2トラックの一例を示す模式であり、第1トラック及び第2トラックに対するライト処理を説明するための図であり、判定値がトラックマージンよりも大きい(緩い)ライトオフトラックスライスに設定され、第1トラックに対するエラー訂正が限界に達するまで第2トラックに対するライト処理を継続した状態を説明するための図であり、第1トラックに対するBERの変化と位置決め誤差に対するBERの変化とをそれぞれグラフで示す図である。
図13は、トラックのデータに対するトラック単位のエラー訂正を実行する機能を有する上記磁気ディスク装置の第1トラック及び第2トラックの一例を示す模式であり、第1トラック及び第2トラックに対するライト処理を説明するための図であり、第1トラックの破損対象セクタの個数が5個に達するまで、第2トラックに対するライト処理を継続し、上記個数が5個に達した際に第2トラックに対するライト処理を終了している状態を説明するための図である。
図14は、図13の第1トラックに対する破損対象セクタの個数の変化をグラフで示す図である。
図15は、上記磁気ディスク装置の第1トラック及び第2トラックの一例を示す模式であり、第1トラック及び第2トラックに対するライト処理を説明するための図であり、第1トラックの破損対象セクタの個数が3個に達するまで、第2トラックに対するライト処理を継続し、上記個数が3個に達した際に、エラー訂正に関する予測情報が異常情報に替わり、第2トラックに対するライト処理が休止され、エラー訂正モードは無効モードに切替えられ、ディスクが回転待ちする動作に切替わっている状態を説明するための図である。
図16は、図15の第1トラックに対する破損対象セクタの個数の変化をグラフで示す図であり、予測情報が異常情報である場合に対応した図であり、第2トラックにライト処理を実行している期間における、位置決め誤差、ライトゲート、エラー訂正モードの有効フラグ、及び回転待ちフラグに関するタイミングチャートを併せて示す図である。
図17は、図15に続く上記ライト処理を説明するための図であり、ディスクが回転待ちする動作を経て、エラー訂正に関する予測情報が正常情報に替わった際、第2トラックに対するライト処理を再開するライトリトライ動作に移行している状態を説明するための図である。
図18Aは、図17の第1トラックに対する破損対象セクタの個数の変化をグラフで示す図であり、破損対象セクタの予想の増加割合が1/p2であり、予測情報が異常情報である場合に対応した図であり、第2トラックにライト処理を実行している期間における、位置決め誤差、ライトゲート、エラー訂正モードの有効フラグ、及び回転待ちフラグに関するタイミングチャートを併せて示す図である。
図18Bは、図18Aに続く、第1トラックに対する破損対象セクタの個数の変化をグラフで示す図であり、破損対象セクタの予想の増加割合が1/p3であり、予測情報が異常情報である場合に対応した図であり、第2トラックにライト処理を実行している期間における、位置決め誤差、ライトゲート、エラー訂正モードの有効フラグ、及び回転待ちフラグに関するタイミングチャートを併せて示す図である。
図18Cは、図18Bに続く、第1トラックに対する破損対象セクタの個数の変化をグラフで示す図であり、破損対象セクタの予想の増加割合が1/p4であり、予測情報が異常情報である場合に対応した図であり、第2トラックにライト処理を実行している期間における、位置決め誤差、ライトゲート、エラー訂正モードの有効フラグ、及び回転待ちフラグに関するタイミングチャートを併せて示す図である。
図18Dは、図18Cに続く、第1トラックに対する破損対象セクタの個数の変化をグラフで示す図であり、破損対象セクタの予想の増加割合がr/p5であり、予測情報が正常情報である場合に対応した図であり、第2トラックにライト処理を実行している期間における、位置決め誤差、ライトゲート、エラー訂正モードの有効フラグ、及び回転待ちフラグに関するタイミングチャートを併せて示す図である。
図19は、上記第1の実施形態に係るライト処理方法を示すフローチャートである。
図20は、図19に示したフローチャートのうち一部の工程を詳細に説明するためのフローチャートである。
図21は、上記第1の実施形態に係るライト処理を説明するための図であり、図19に示したフローチャートのうち別の一部の工程を詳細に説明するためのフローチャートである。
図22は、上記第1の実施形態に係るライト処理を説明するための図であり、図19に示したフローチャートのうち別の一部の工程を詳細に説明するためのフローチャートである。
図23は、第2の実施形態に係る磁気ディスク装置の第1トラック及び第2トラックの一例を示す模式であり、第1トラック及び第2トラックに対するライト処理を説明するための図であり、ライトヘッドに関する超過量の合計が第2閾値以上に達するまで、第2トラックに対するライト処理を継続し、上記合計が上記第2閾値以上になった際に第2トラックに対するライト処理を終了している状態を説明するための図である。
図24は、図23の第1トラックに対する上記合計の変化をグラフで示す図である。
図25は、上記第2の実施形態に係るライト処理を説明するための図であり、図19に示したフローチャートのうち別の一部の工程を詳細に説明するためのフローチャートである。
図26は、上記第2の実施形態に係るライト処理を説明するための図であり、図19に示したフローチャートのうち別の一部の工程を詳細に説明するためのフローチャートである。
【発明を実施するための形態】
【0007】
(第1の実施形態)
以下、図面を参照しながら第1の実施形態に係る磁気ディスク装置1について詳細に説明する。まず、磁気ディスク装置1の構成について説明する。図1は、本第1の実施形態に係る磁気ディスク装置1の構成を示すブロック図である。本実施形態において、磁気ディスク装置1は、通常記録型式及び瓦記録型式を選択して実行するハイブリッド記録型式の磁気ディスク装置である。但し後述する技術は、瓦記録型式の磁気ディスク装置に適用してもよく、通常記録型式の磁気ディスク装置に適用してもよい。
【0008】
図1に示すように、磁気ディスク装置1は、記録媒体としての複数、例えば、1~10枚のディスク(磁気ディスク)DKと、駆動モータとしてのスピンドルモータ(SPM)20と、ヘッドスタックアッセンブリ22と、ドライバIC120と、ヘッドアンプ集積回路(以下、ヘッドアンプIC、又はプリアンプ)130と、揮発性メモリ70と、バッファメモリ(バッファ)80と、不揮発性メモリ90と、1チップの集積回路であるシステムコントローラ110とを備えている。また、磁気ディスク装置1は、ホストシステム(以下、単に、ホストと称する)100と接続される。
【0009】
各ディスクDKは、例えば、直径97mm(3.8インチ)に形成され、その両面に記録層(磁気記録層)を有している。なお、本第1の実施形態において、磁気ディスク装置1は、1~11枚のディスクDKを備えているが、ディスクDKの枚数はこれらに限定されるものではない。
【0010】
ヘッドスタックアッセンブリ22は、ボイスコイルモータ(以下VCMと称する)24の駆動により、アーム30に搭載されているヘッドHDをディスクDK上の目標位置まで移動制御することができ、すなわちシークすることができる。VCM24は、アクチュエータとして機能している。
ディスクDKは、そのデータをライト可能な領域に、ユーザから利用可能なユーザデータ領域Uと、システム管理に必要な情報をライトするシステム領域Sとが割り当てられている。
(【0011】以降は省略されています)
この特許をJ-PlatPat(特許庁公式サイト)で参照する
関連特許
株式会社東芝
端子台
20日前
株式会社東芝
モータ
1か月前
株式会社東芝
センサ
1か月前
株式会社東芝
センサ
1か月前
株式会社東芝
電子装置
1か月前
株式会社東芝
吸音装置
1か月前
株式会社東芝
電子回路
29日前
株式会社東芝
除去装置
13日前
株式会社東芝
電子装置
1か月前
株式会社東芝
金型構造
1か月前
株式会社東芝
半導体装置
29日前
株式会社東芝
粒子加速器
1か月前
株式会社東芝
半導体装置
1か月前
株式会社東芝
半導体装置
1か月前
株式会社東芝
半導体装置
29日前
株式会社東芝
半導体装置
1か月前
株式会社東芝
半導体装置
29日前
株式会社東芝
半導体装置
1か月前
株式会社東芝
半導体装置
1か月前
株式会社東芝
真空バルブ
28日前
株式会社東芝
半導体装置
29日前
株式会社東芝
半導体装置
29日前
株式会社東芝
高周波回路
29日前
株式会社東芝
半導体装置
1か月前
株式会社東芝
半導体装置
1か月前
株式会社東芝
半導体装置
1か月前
株式会社東芝
半導体装置
2か月前
株式会社東芝
半導体装置
1か月前
株式会社東芝
半導体装置
1か月前
株式会社東芝
半導体装置
1か月前
株式会社東芝
真空バルブ
1か月前
株式会社東芝
半導体装置
1か月前
株式会社東芝
半導体装置
1か月前
株式会社東芝
半導体装置
1か月前
株式会社東芝
半導体装置
2か月前
株式会社東芝
半導体装置
1か月前
続きを見る
他の特許を見る