TOP
|
特許
|
意匠
|
商標
特許ウォッチ
Twitter
他の特許を見る
10個以上の画像は省略されています。
公開番号
2025159995
公報種別
公開特許公報(A)
公開日
2025-10-22
出願番号
2024062927
出願日
2024-04-09
発明の名称
半導体集積回路
出願人
株式会社東芝
,
東芝デバイス&ストレージ株式会社
代理人
弁理士法人志賀国際特許事務所
主分類
G01R
31/26 20200101AFI20251015BHJP(測定;試験)
要約
【課題】特性に差異を設けることができる半導体集積回路を提供することである。
【解決手段】実施形態の半導体集積回路は、第1端子と、第2端子と、を持つ。外部から入力される入力電圧が変化することによって、前記第1端子と前記第2端子との間の抵抗値が変化する。
【選択図】図1
特許請求の範囲
【請求項1】
第1端子と、
第2端子と、
を備え、
外部から入力される入力電圧が変化することによって、前記第1端子と前記第2端子との間の抵抗値が変化する、半導体集積回路。
続きを表示(約 1,100 文字)
【請求項2】
前記第1端子と前記第2端子との間の抵抗値が変化する前記入力電圧の範囲は、駆動時に入力される前記入力電圧の電圧値よりも低い、請求項1に記載の半導体集積回路。
【請求項3】
前記入力電圧が第1電圧値である場合に、前記第1端子と前記第2端子との間の抵抗値が第1抵抗値となり、
前記入力電圧が前記第1電圧値よりも高い第2電圧値である場合に、前記第1端子と前記第2端子との間の抵抗値が前記第1抵抗値よりも低い第2抵抗値となる、請求項1に記載の半導体集積回路。
【請求項4】
前記入力電圧が第3電圧値である場合に、前記第1端子と前記第2端子との間の抵抗値が第3抵抗値となり、
前記入力電圧が前記第3電圧値よりも高い第4電圧値である場合に、前記第1端子と前記第2端子との間の抵抗値が前記第3抵抗値よりも高い第4抵抗値となる、請求項1に記載の半導体集積回路。
【請求項5】
前記入力電圧が変化することによって、前記第1端子と前記第2端子との間の抵抗値が3つ以上の異なる抵抗値の間で変化可能である、請求項1に記載の半導体集積回路。
【請求項6】
前記第1端子と前記第2端子との間に配置された切替回路を備え、
前記切替回路は、複数のトランジスタおよび複数の抵抗素子を有し、
前記入力電圧が変化することによって、前記切替回路の状態が切り替えられ、前記第1端子と前記第2端子との間の抵抗として機能する前記抵抗素子の組み合わせが変化する、請求項1に記載の半導体集積回路。
【請求項7】
前記複数のトランジスタは、前記入力電圧が印加される端子と前記第2端子との間に配置された第1トランジスタを含み、
前記第1トランジスタは、ダイオード接続されている、請求項6に記載の半導体集積回路。
【請求項8】
前記複数のトランジスタは、複数の前記第1トランジスタを含み、
複数の前記第1トランジスタは、直列に接続されている、請求項7に記載の半導体集積回路。
【請求項9】
前記複数の抵抗素子は、前記第1端子と前記第2端子との間にトランジスタを介さずに接続された抵抗素子を含む、請求項6に記載の半導体集積回路。
【請求項10】
前記複数のトランジスタは、前記第1端子と前記第2端子との間に配置された第2トランジスタを含み、
前記複数の抵抗素子は、前記第1端子と前記第2端子との間において前記第2トランジスタと直列に接続された抵抗素子を含む、請求項6に記載の半導体集積回路。
(【請求項11】以降は省略されています)
発明の詳細な説明
【技術分野】
【0001】
本発明の実施形態は、半導体集積回路に関する。
続きを表示(約 1,900 文字)
【背景技術】
【0002】
例えば、複数種類の半導体集積回路を外部から行う試験によって判別する場合がある。この場合、半導体集積回路に対して外部から試験を行うことによって確認できる特性が、複数種類の半導体集積回路同士で近いと、半導体集積回路を判別することが困難な場合があった。
【先行技術文献】
【特許文献】
【0003】
特開2000-114337号公報
【発明の概要】
【発明が解決しようとする課題】
【0004】
本発明が解決しようとする課題は、特性に差異を設けることができる半導体集積回路を提供することである。
【課題を解決するための手段】
【0005】
実施形態の半導体集積回路は、第1端子と、第2端子と、を持つ。外部から入力される入力電圧が変化することによって、前記第1端子と前記第2端子との間の抵抗値が変化する。
【図面の簡単な説明】
【0006】
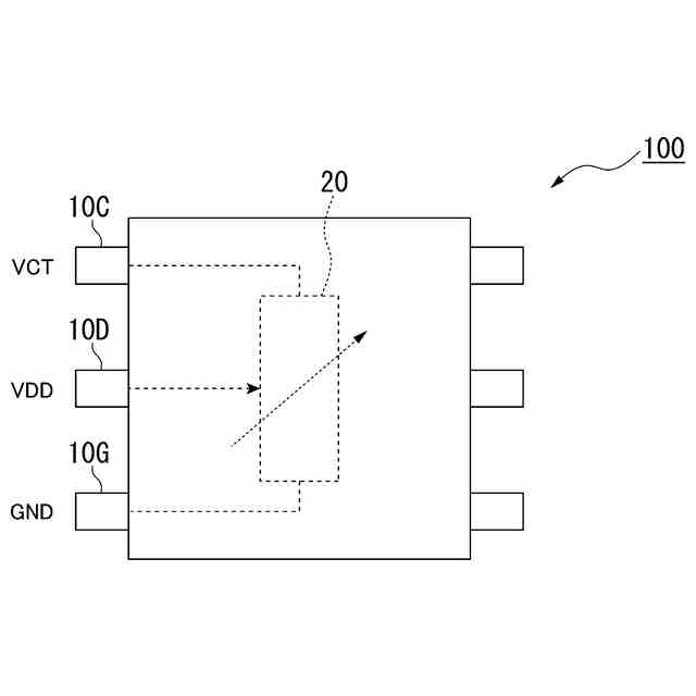
第1の実施形態の半導体集積回路を示す図。
第1の実施形態の半導体集積回路の一部を示す回路図。
第1の実施形態の制御端子とグランド端子との間の抵抗値の変化の一例を示すグラフ。
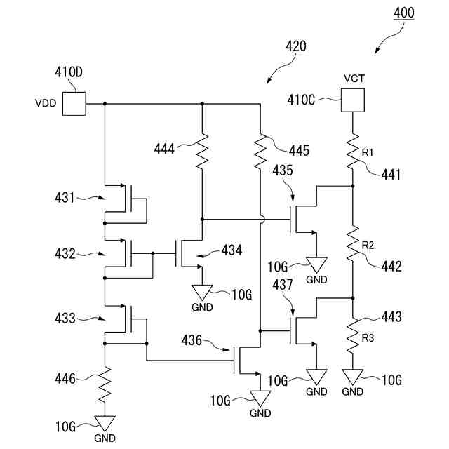
第2の実施形態の半導体集積回路を示す回路図。
第2の実施形態の電源端子と制御端子との間の抵抗値の変化の一例を示すグラフ。
第3の実施形態の半導体集積回路を示す回路図。
第4の実施形態の半導体集積回路を示す回路図。
第4の実施形態の制御端子とグランド端子との間の抵抗値の変化の一例を示すグラフ。
変形例の第1端子と第2端子との間の抵抗値が2段階に変化する場合の一例を示すグラフ。
【発明を実施するための形態】
【0007】
以下、実施形態の半導体集積回路を、図面を参照して説明する。
【0008】
(第1の実施形態)
図1は、第1の実施形態の半導体集積回路100を示す図である。図2は、第1の実施形態の半導体集積回路100の一部を示す回路図である。図1に示す半導体集積回路100は、パッケージングされた半導体チップである。図1に示すように、半導体集積回路100は、電源端子10Dと、グランド端子10Gと、制御端子10Cと、切替回路20と、を備える。電源端子10D、グランド端子10G、および制御端子10Cは、外部に露出している。電源端子10Dには、電源電圧VDDが印加される。グランド端子10Gには、グランドGNDが接続される。制御端子10Cには、制御電圧VCTが印加される。第1の実施形態において、制御端子10Cは「第1端子」に相当し、グランド端子10Gは「第2端子」に相当し、電源端子10Dは「第3端子」に相当し、電源電圧VDDは外部から入力される「入力電圧」に相当する。
【0009】
切替回路20は、第1端子である制御端子10Cと第2端子であるグランド端子10Gとの間に配置されている。図2に示すように、切替回路20は、複数のトランジスタ31~35および複数の抵抗素子41~45を有する。第1の実施形態において複数のトランジスタ31~35は、電界効果トランジスタ(FET:Field Effect Transistor)である。トランジスタ31、トランジスタ32、およびトランジスタ34は、Pチャネル型のMOSFET(Metal-Oxide-Semiconductor Field Effect Transistor)である。トランジスタ33およびトランジスタ35は、Nチャネル型のMOSFETである。
【0010】
トランジスタ31およびトランジスタ32は、電源電圧VDDが印加される電源端子10Dとグランド端子10Gとの間に配置されている。トランジスタ31とトランジスタ32とは、直列に接続されている。トランジスタ31のソース端子は、電源端子10Dに接続されている。トランジスタ31のドレイン端子は、トランジスタ32のソース端子に接続されている。トランジスタ32のドレイン端子は、抵抗素子45を介してグランドGNDに接続されている。トランジスタ31のゲート端子は、トランジスタ31のドレイン端子と接続されている。トランジスタ32のゲート端子は、トランジスタ32のドレイン端子と接続されている。これにより、トランジスタ31およびトランジスタ32は、それぞれダイオード接続されている。第1の実施形態においてトランジスタ31およびトランジスタ32は、「第1トランジスタ」に相当する。
(【0011】以降は省略されています)
この特許をJ-PlatPat(特許庁公式サイト)で参照する
関連特許
株式会社東芝
端子台
21日前
株式会社東芝
モータ
1か月前
株式会社東芝
センサ
1か月前
株式会社東芝
センサ
1か月前
株式会社東芝
センサ
2か月前
株式会社東芝
吸音装置
1か月前
株式会社東芝
電子回路
1か月前
株式会社東芝
除去装置
14日前
株式会社東芝
電子装置
1か月前
株式会社東芝
電子装置
1か月前
株式会社東芝
金型構造
1か月前
株式会社東芝
半導体装置
1か月前
株式会社東芝
半導体装置
1か月前
株式会社東芝
粒子加速器
1か月前
株式会社東芝
半導体装置
2か月前
株式会社東芝
半導体装置
1か月前
株式会社東芝
半導体装置
1か月前
株式会社東芝
真空バルブ
29日前
株式会社東芝
半導体装置
1か月前
株式会社東芝
半導体装置
1か月前
株式会社東芝
半導体装置
1か月前
株式会社東芝
高周波回路
1か月前
株式会社東芝
半導体装置
1か月前
株式会社東芝
半導体装置
1か月前
株式会社東芝
真空バルブ
1か月前
株式会社東芝
半導体装置
1か月前
株式会社東芝
半導体装置
1か月前
株式会社東芝
半導体装置
1か月前
株式会社東芝
半導体装置
1か月前
株式会社東芝
半導体装置
1か月前
株式会社東芝
半導体装置
1か月前
株式会社東芝
電動送風機
2か月前
株式会社東芝
半導体装置
1か月前
株式会社東芝
半導体装置
1か月前
株式会社東芝
半導体装置
1か月前
株式会社東芝
半導体装置
1か月前
続きを見る
他の特許を見る