TOP
|
特許
|
意匠
|
商標
特許ウォッチ
Twitter
他の特許を見る
公開番号
2025155115
公報種別
公開特許公報(A)
公開日
2025-10-14
出願番号
2024058577
出願日
2024-04-01
発明の名称
超電導コイル
出願人
株式会社東芝
,
東芝エネルギーシステムズ株式会社
代理人
弁理士法人サクラ国際特許事務所
主分類
H01F
6/06 20060101AFI20251006BHJP(基本的電気素子)
要約
【課題】絶縁特性等の性能を容易に向上可能な、超電導コイルを提供する。
【解決手段】 実施形態の超電導コイルは、超電導線材が巻回中心軸の周りに巻回された巻線部材を備える。超電導線材は、超電導線材本体部と、超電導線材本体部の表面を被覆するように絶縁材料で形成されている絶縁被覆層とを有する。絶縁被覆層は、少なくとも超電導線材のターン間において介在する部分を含むように、超電導線材本体部の表面に形成されている。
【選択図】図2
特許請求の範囲
【請求項1】
超電導線材が巻回中心軸の周りに巻回された巻線部材を備える超電導コイルであって、
前記超電導線材は、
超電導線材本体部と、
前記超電導線材本体部の表面を被覆するように絶縁材料で形成されている絶縁被覆層と
を有し、
前記絶縁被覆層は、少なくとも前記超電導線材のターン間において介在する部分を含むように、前記超電導線材本体部の表面に形成されている、
超電導コイル。
続きを表示(約 270 文字)
【請求項2】
前記巻線部材は、
前記超電導線材と共巻されている共巻線材
を有し、前記超電導線材のターン間において前記共巻線材と前記絶縁被覆層とが接触する部分を含み、
前記共巻線材において前記絶縁被覆層に接触する面の摩擦係数は、前記絶縁被覆層において前記共巻線材に接触する面の摩擦係数よりも、小さい、
請求項1に記載の超電導コイル。
【請求項3】
前記巻線部材において前記巻回中心軸の径方向RDに沿った側面に設置された側板
を備える、
請求項1に記載の超電導コイル。
発明の詳細な説明
【技術分野】
【0001】
本発明の実施形態は、超電導コイルに関する。
続きを表示(約 1,600 文字)
【背景技術】
【0002】
超電導応用機器として、磁気共鳴画像診断装置(MRI;Magnetic Resonance Imaging)、超電導磁気エネルギー貯蔵装置(SMES;Superconducting Magnetic Energy Storage)、および、単結晶引き上げ装置などの機器が実用化されている。超電導応用機器は、超電導線材が巻回された巻線部材を含む超電導コイルを備えている。
【0003】
超電導コイルにおいて巻線部材を作製するときには、例えば、高温かつ高磁場中での臨界電流特性に優れる高温超電導線材が超電導線材として使用される。高温超電導線材は、多層構造のテープ線材であって、中間層、超電導層、保護層等の複数層が金属基板に積層された積層体を含み、その積層体の周囲が安定化層で被覆されている。
【0004】
多層構造の超電導線材で構成された巻線部材において径方向に応力が加わったときには、その応力が剥離力として多層構造の超電導線材に作用し、超電導線材において層間剥離が生ずる場合がある。超電導線材に層間剥離が発生した場合、超電導コイルの超電導特性に劣化が生ずる場合がある。例えば、超電導コイルを運転温度に冷却したときには、ターン間に充填された樹脂と超電導線材との間に熱収縮率の差が生ずるため、その熱収縮率の差に起因して剥離力が加わり、層間剥離が発生する可能性がある。
【0005】
この不具合を解消するために、超電導線材と、ポリイミドフィルムなどの共巻線材とを共巻きすることによって巻線部材を作製し、その巻線部材において巻回中心軸の径方向に沿った側面に側板を接着すること等が提案されている。この場合、超電導線材と、ポリイミドフィルムなどの共巻線材との間が接着されずに離間可能な状態であるため、積層方向に加わる剥離力が吸収され、層間剥離の発生が防止される。
【先行技術文献】
【特許文献】
【0006】
特許第5534712号
【発明の概要】
【発明が解決しようとする課題】
【0007】
しかしながら、従来において、超電導線材と、ポリイミドフィルムなどの共巻線材とを共巻きする際には、共巻線材の位置ズレが発生する場合がある。この他に、超電導コイルの運転の際に、共巻線材の位置ズレが発生する場合がある。その結果、超電導線材のターン間の絶縁特性が不十分になる場合があるため、超電導コイルの性能が低下する場合がある。
【0008】
したがって、本発明が解決しようとする課題は、絶縁特性等の性能を容易に向上可能な、超電導コイルを提供することである。
【課題を解決するための手段】
【0009】
実施形態の超電導コイルは、超電導線材が巻回中心軸の周りに巻回された巻線部材を備える。超電導線材は、超電導線材本体部と、超電導線材本体部の表面を被覆するように絶縁材料で形成されている絶縁被覆層とを有する。絶縁被覆層は、少なくとも超電導線材のターン間において介在する部分を含むように、超電導線材本体部の表面に形成されている。
【図面の簡単な説明】
【0010】
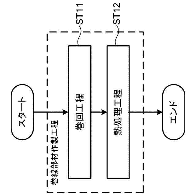
図1は、第1実施形態に係る超電導コイル10について一部を分解した様子を模式的に示した斜視図である。
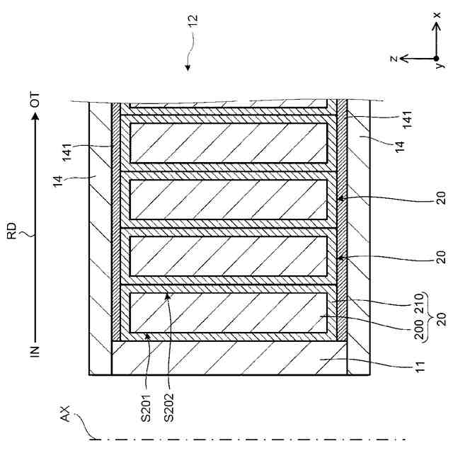
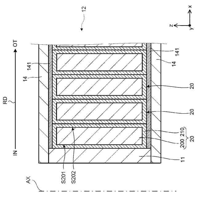
図2は、第1実施形態に係る超電導コイル10を模式的に示す断面図である。
図3は、実施形態において、超電導線材本体部200の一部を分解した斜視図である。
図4は、第1実施形態に係る超電導コイル10の製造方法の一例を示すフロー図である。
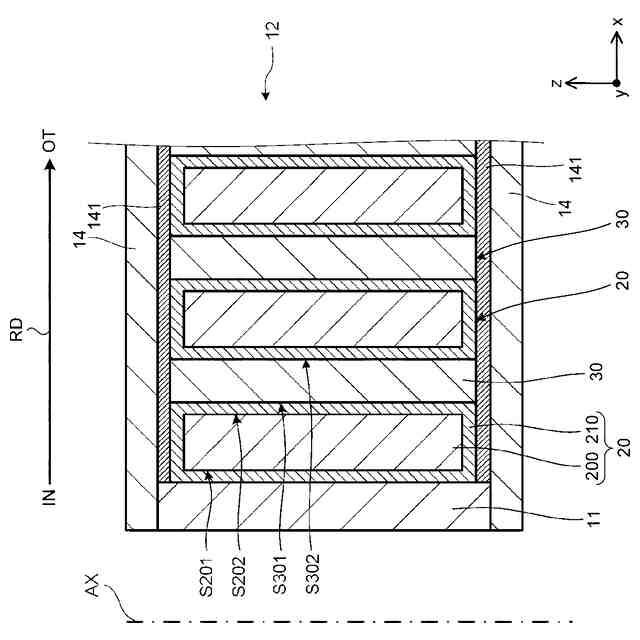
図5は、第2実施形態に係る超電導コイル10について一部を分解した様子を模式的に示した斜視図である。
図6は、第2実施形態に係る超電導コイル10を模式的に示す断面図である。
【発明を実施するための形態】
(【0011】以降は省略されています)
この特許をJ-PlatPat(特許庁公式サイト)で参照する
関連特許
株式会社東芝
モータ
1か月前
株式会社東芝
センサ
1か月前
株式会社東芝
センサ
1か月前
株式会社東芝
端子台
10日前
株式会社東芝
電子回路
19日前
株式会社東芝
金型構造
1か月前
株式会社東芝
電子装置
1か月前
株式会社東芝
除去装置
3日前
株式会社東芝
吸音装置
1か月前
株式会社東芝
電子装置
23日前
株式会社東芝
半導体装置
23日前
株式会社東芝
半導体装置
25日前
株式会社東芝
半導体装置
25日前
株式会社東芝
真空バルブ
24日前
株式会社東芝
半導体装置
24日前
株式会社東芝
半導体装置
23日前
株式会社東芝
半導体装置
25日前
株式会社東芝
半導体装置
1か月前
株式会社東芝
半導体装置
23日前
株式会社東芝
半導体装置
25日前
株式会社東芝
半導体装置
19日前
株式会社東芝
半導体装置
19日前
株式会社東芝
半導体装置
19日前
株式会社東芝
真空バルブ
18日前
株式会社東芝
半導体装置
19日前
株式会社東芝
半導体装置
1か月前
株式会社東芝
半導体装置
19日前
株式会社東芝
半導体装置
1か月前
株式会社東芝
高周波回路
19日前
株式会社東芝
半導体装置
25日前
株式会社東芝
半導体装置
26日前
株式会社東芝
半導体装置
1か月前
株式会社東芝
半導体装置
1か月前
株式会社東芝
半導体装置
1か月前
株式会社東芝
粒子加速器
1か月前
株式会社東芝
半導体装置
1か月前
続きを見る
他の特許を見る