TOP
|
特許
|
意匠
|
商標
特許ウォッチ
Twitter
他の特許を見る
10個以上の画像は省略されています。
公開番号
2025166559
公報種別
公開特許公報(A)
公開日
2025-11-06
出願番号
2024070663
出願日
2024-04-24
発明の名称
半導体装置
出願人
キオクシア株式会社
代理人
個人
,
個人
,
個人
主分類
H01L
21/52 20060101AFI20251029BHJP(基本的電気素子)
要約
【課題】接着剤のブリードを抑制することが可能な半導体装置を提供する。
【解決手段】実施形態に係る半導体装置は、第1の面を有する基板と、第1の面に配され
た第1の接着剤と、第1の接着剤を介して、第1の面に配された第1の半導体チップとを
備える。また、実施形態に係る半導体装置は、第1の接着剤の少なくとも一部と接触して
第1の面に配された第1の絶縁性部材を備える。さらに、第1の絶縁性部材の厚さは、第
1の面に対して垂直な第1の方向において、第1の接着剤の厚さ以上である。
【選択図】図1
特許請求の範囲
【請求項1】
第1の面を有する基板と、
前記第1の面に配された第1の接着剤と、
前記第1の接着剤を介して、前記第1の面に配された第1の半導体チップと、
前記第1の接着剤の少なくとも一部と接触して前記第1の面に配された第1の絶縁性部
材と、
を備え、
前記第1の面に対して垂直な第1の方向において、前記第1の絶縁性部材の厚さは、前
記第1の接着剤の厚さ以上である、
半導体装置。
続きを表示(約 1,200 文字)
【請求項2】
前記第1の絶縁性部材は、前記第1の面に対して平行な第2の方向において、前記第1
の半導体チップとの間に間隙を形成して配される、
請求項1に記載の半導体装置。
【請求項3】
前記第1の方向から見て、前記第1の絶縁性部材は、前記第1の接着剤の周囲の全てを
囲う、
請求項1に記載の半導体装置。
【請求項4】
前記第1の方向から見て、前記第1の接着剤の外形の大きさは、前記第1の半導体チッ
プの外形の大きさよりも大きい、
請求項1に記載の半導体装置。
【請求項5】
前記基板は、前記第1の面に第1の電極を有し、
前記第1の半導体チップは、表面の外周部に第2の電極を有し、
前記第1の電極と前記第2の電極とを電気的に接続する第1の接続部材と、
をさらに備える、
請求項1に記載の半導体装置。
【請求項6】
前記基板は、前記第1の接着剤が配される第1の領域に第3の電極を有し、
前記第1の領域とは異なる第2の領域に配される第2の接着剤と、
前記第2の接着剤を介して前記第2の領域に配され、表面の外周部に第4の電極を有す
る第2の半導体チップと、
前記第2の接着剤の少なくとも一部と接触して前記第2の領域に配された第2の絶縁性
部材と、
前記第3の電極と前記第4の電極とを電気的に接続する第2の接続部材と、
をさらに備え、
前記第2の接続部材の少なくとも一部は前記第1の接着剤に埋め込まれている、
請求項5に記載の半導体装置。
【請求項7】
前記第1の面に配された第2の接着剤と、
前記第2の接着剤を介して前記第1の面に配された第2の半導体チップと、
前記第2の接着剤の少なくとも一部と接触して前記第1の面に配された第2の絶縁性部
材と、
をさらに備え、
前記第1の方向において、前記第1の接着剤の厚さは、前記第2の接着剤の厚さよりも
大きく、
前記第1の接着剤は、前記第2の半導体チップ、前記第2の接着剤、及び前記第2の絶
縁性部材を埋め込む、
請求項1に記載の半導体装置。
【請求項8】
前記第1の方向において、前記第2の絶縁性部材の厚さは、前記第2の接着剤の厚さ以
上である、
請求項7に記載の半導体装置。
【請求項9】
前記基板は、前記第1の面と反対側の第2の面を有し、
前記第1の面に第1の絶縁層と、前記第2の面に第2の絶縁層と、
をさらに有する、
請求項1に記載の半導体装置。
【請求項10】
前記第1の絶縁性部材は、前記第1および第2の絶縁層と同じ材料である、
請求項9に記載の半導体装置。
(【請求項11】以降は省略されています)
発明の詳細な説明
【技術分野】
【0001】
実施形態は、半導体装置に関する。
続きを表示(約 2,300 文字)
【背景技術】
【0002】
接着剤を用いて半導体チップを基板に配した半導体パッケージが知られている。しかし
ながら、接着剤が広がりながら流れ出すブリードの発生が問題となっている。
【先行技術文献】
【特許文献】
【0003】
特開2014-60306号公報
特開2012-79854号公報
特開2021-15922号公報
【発明の概要】
【発明が解決しようとする課題】
【0004】
接着剤のブリードを抑制することが可能な半導体装置を提供する。
【課題を解決するための手段】
【0005】
実施形態に係る半導体装置は、第1の面を有する基板と、第1の面に配された第1の接
着剤と、第1の接着剤を介して、第1の面に配された第1の半導体チップとを備える。ま
た、実施形態に係る半導体装置は、第1の接着剤の少なくとも一部と接触して第1の面に
配された第1の絶縁性部材を備える。さらに、第1の絶縁性部材の厚さは、第1の面に対
して垂直な第1の方向において、第1の接着剤の厚さ以上である。
【図面の簡単な説明】
【0006】
第1の実施形態に係る半導体装置の構成例を示す断面図。
第1の実施形態に係る半導体装置の構成例を示す上面図。
第1の実施形態に係る半導体装置の絶縁性部材の近傍を拡大して示す断面図。
第1の実施形態に係る半導体装置の製造方法を示すフローチャート。
第1の実施形態に係る半導体装置の製造方法の工程模式断面図。
第1の実施形態に係る半導体装置の製造方法の工程模式断面図。
第1の実施形態に係る半導体装置の製造方法の工程模式断面図。
第1の実施形態に係る半導体装置の製造方法の工程模式断面図。
第1の実施形態に係る半導体装置の製造方法の工程模式断面図。
第1の実施形態に係る半導体装置の製造方法の工程模式断面図。
第1の実施形態の第1の変形例に係る半導体装置の構成例を示す断面図。
第1の実施形態の第2の変形例に係る半導体装置の構成例を示す断面図。
第1の実施形態の第2の変形例に係る半導体装置の構成例を示す上面図。
第1の実施形態の第2の変形例に係る半導体装置の絶縁性部材の近傍を拡大して示す断面図。
第1の実施形態の第3の変形例に係る半導体装置の構成例を示す断面図。
第1の実施形態の第3の変形例に係る半導体装置の構成例を示す上面図。
第1の実施形態の第3の変形例に係る半導体装置の絶縁性部材の近傍を拡大して示す断面図。
第1の実施形態の第3の変形例に係る半導体装置の構成例を示す断面図。
第1の実施形態の第3の変形例に係る半導体装置の構成例を示す上面図。
第2の実施形態に係る半導体装置の構成例を示す断面図。
第2の実施形態に係る半導体装置の構成例を示す上面図。
第2の実施形態に係る開口部内における基板の側面の近傍を拡大して示す断面図。
その他の変形例に係る半導体装置の構成例を示す断面図。
その他の変形例に係る半導体装置の構成例を示す断面図。
【発明を実施するための形態】
【0007】
以下、実施の形態について、図面を参照して説明する。
【0008】
以下で参照される図面は模式的なものであり、厚みと平面寸法との関係や各層の厚みの
比率などは現実のものと異なることがある。また、図面相互間において互いの寸法の関係
や比率が異なる部分が含まれることもある。以下の説明において、略同一の機能及び構成
を有する構成要素については、同一の符号が付されている。参照符号を構成する文字の後
の英字等は、同じ文字を含んだ参照符号によって参照され、且つ同様の構成を有する要素
同士を区別するために使用される。本明細書において、工程には独立した工程だけではな
く、他の工程や他の処理との組み合わせも含まれる。
【0009】
先に、X方向、Y方向、及びZ方向について定義する。X方向及びY方向は、後述する
基板の第1の面に平行な方向である。Z方向は、X方向及びY方向とは交差する(例えば
直交する)方向である。即ち、Z方向は、接着剤及び絶縁性部材の厚さ方向であり、基板
の第1の面に対して垂直な方向である。第1の方向は、Z方向に相当する。第2の方向は
、第1の方向に交差する方向であり、X方向に相当する。第3の方向は、第1の方向及び
第2の方向に交差する方向であり、Y方向に相当する。
【0010】
(第1の実施形態)
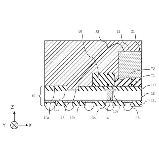
図1は、第1の実施形態に係る半導体装置100の構成例を示す断面図である。図2は
、第1の実施形態に係る半導体装置100の構成例を示す上面図である。なお、図2では
、封止樹脂30の図示は省略されている。図1に示すように、半導体装置100は、基板
10と、接着剤20と、半導体チップ21と、接続部材23と、封止樹脂30と、金属バ
ンプ40と、ソルダーレジスト50とを備える。
(【0011】以降は省略されています)
この特許をJ-PlatPat(特許庁公式サイト)で参照する
関連特許
キオクシア株式会社
半導体装置
今日
キオクシア株式会社
メモリシステム
1か月前
東ソー株式会社
絶縁電線
15日前
APB株式会社
蓄電セル
13日前
個人
フレキシブル電気化学素子
27日前
ローム株式会社
半導体装置
14日前
株式会社ユーシン
操作装置
27日前
マクセル株式会社
電源装置
7日前
日新イオン機器株式会社
イオン源
23日前
株式会社東芝
端子台
7日前
株式会社GSユアサ
蓄電装置
8日前
株式会社GSユアサ
蓄電装置
8日前
株式会社GSユアサ
蓄電装置
今日
株式会社ホロン
冷陰極電子源
21日前
株式会社GSユアサ
蓄電設備
27日前
株式会社GSユアサ
蓄電設備
27日前
太陽誘電株式会社
コイル部品
27日前
日本特殊陶業株式会社
保持装置
16日前
サクサ株式会社
電池の固定構造
27日前
北道電設株式会社
配電具カバー
13日前
トヨタ自動車株式会社
蓄電装置
8日前
トヨタ自動車株式会社
バッテリ
13日前
トヨタ自動車株式会社
冷却構造
15日前
日新イオン機器株式会社
基板処理装置
10日前
トヨタ自動車株式会社
蓄電装置
27日前
日本無線株式会社
レーダアンテナ
1日前
株式会社デンソー
電子装置
10日前
株式会社トクヤマ
シリコンエッチング液
21日前
株式会社トクヤマ
シリコンエッチング液
21日前
日亜化学工業株式会社
半導体レーザ素子
10日前
トヨタ自動車株式会社
密閉型電池
9日前
住友電装株式会社
コネクタ
15日前
ベストテック株式会社
装置支持具
27日前
甲神電機株式会社
変流器及び零相変流器
1日前
ローム株式会社
半導体装置
15日前
古河電気工業株式会社
端子
27日前
続きを見る
他の特許を見る