TOP
|
特許
|
意匠
|
商標
特許ウォッチ
Twitter
他の特許を見る
10個以上の画像は省略されています。
公開番号
2025165647
公報種別
公開特許公報(A)
公開日
2025-11-05
出願番号
2024069846
出願日
2024-04-23
発明の名称
記憶装置
出願人
RAMXEED株式会社
代理人
個人
,
個人
主分類
G11C
11/22 20060101AFI20251028BHJP(情報記憶)
要約
【課題】記憶装置において強誘電体キャパシタの分極状態の劣化を抑制する。
【解決手段】記憶回路100は、第1電源VSSに接続された第1端子S1と、ビット線BLに接続された第2端子D1と、制御端子G1と、を有するトランジスタT1と、一端がトランジスタT1の制御端子に接続され、他端がワード線WLに接続された強誘電体キャパシタF1と、強誘電体キャパシタの一端と他端との間に書き込み電圧を印加することで、強誘電体キャパシタにデータを書き込む書込回路と、ビット線から強誘電体キャパシタに書き込まれたデータを読み出す読出回路24と、を備え、読出回路は、ビット線の電圧又は電流が、第1範囲内のとき書き込まれたデータを第1ビットと判定し、ビット線の電圧又は電流が第2範囲内のとき書き込まれたデータを第2ビットと判定し、書込回路は、ビット線の電圧又は電流が、第3範囲内のとき、強誘電体キャパシタに第1ビットを書き込む。
【選択図】図1
特許請求の範囲
【請求項1】
第1電源に接続された第1端子と、ビット線に接続された第2端子と、制御端子と、を有するトランジスタと、
一端が前記トランジスタの制御端子に接続され、他端がワード線に接続された強誘電体キャパシタと、
前記強誘電体キャパシタの一端と他端との間に書き込み電圧を印加することで、前記強誘電体キャパシタにデータを書き込む書込回路と、
前記ビット線から前記強誘電体キャパシタに書き込まれたデータを読み出す読出回路と、
を備え、
前記読出回路は、前記ビット線の電圧または電流が、第1閾値に仕切られた第1範囲及び第2範囲のうち前記第1範囲内のとき前記書き込まれたデータを第1ビットと判定し、前記ビット線の電圧または電流が前記第2範囲内のとき前記書き込まれたデータを第2ビットと判定し、
前記書込回路は、前記ビット線の電圧または電流が、前記第1閾値と前記第1範囲内の第2閾値との間の第3範囲内のとき、前記強誘電体キャパシタに前記第1ビットを書き込む、記憶装置。
続きを表示(約 1,100 文字)
【請求項2】
前記読出回路は、前記ビット線の電圧または電流が、前記第3範囲内か否かを判定し、
前記書込回路は、前記ビット線の電圧または電流が前記第3範囲内と判定されたときに前記強誘電体キャパシタに前記第1ビットを書き込み、前記ビット線の電圧または電流が前記第3範囲内でないと判定されたときに前記強誘電体キャパシタに前記第1ビット及び前記第2ビットのいずれも書き込まない、請求項1に記載の記憶装置。
【請求項3】
前記トランジスタは、NMOSFETであり、
前記読出回路は前記ビット線の電圧を用いて前記書き込まれたデータを読み出し、
前記第1範囲の電圧は前記第1閾値の電圧より低い、
請求項1または2に記載の記憶装置。
【請求項4】
前記読出回路は、一端が前記ビット線に接続され、他端が第2電源に接続された素子を有し、
前記第2電源の電圧は前記第1電源の電圧より高く、
前記ビット線の電圧は、前記素子と前記ビット線との間のノードにおける電圧である、請求項2に記載の記憶装置。
【請求項5】
前記トランジスタは、NMOSFETであり、
前記読出回路は前記ビット線を流れる電流を用いて前記書き込まれたデータを読み出し、
前記第1範囲の電流は前記第1閾値の電流より大きい、
請求項1または2に記載の記憶装置。
【請求項6】
前記ビット線を流れる電流は、第2電源から前記トランジスタを介して前記第1電源に流れる電流であり、
前記第2電源の電圧は前記第1電源の電圧より高い、請求項5に記載の記憶装置。
【請求項7】
一端に書き込み電圧が供給され、他端にトランジスタの制御端子と前記強誘電体キャパシタの一端との間のノードが接続されたスイッチを備え、
前記書込回路は、前記強誘電体キャパシタにデータを書き込むときに前記スイッチをオンする請求項1または2に記載の記憶装置。
【請求項8】
各々が前記強誘電体キャパシタ及び前記トランジスタを備える複数のメモリセルを備え、
前記読出回路は、前記複数のメモリセルのうち選択されたメモリセルに対し、前記書き込まれたデータが第1ビット及び前記第2ビットのいずれのビットかを判定し、
前記書込回路は、前記選択されたメモリセルに対し、前記ビット線の電圧または電流が、前記第3範囲内のとき、前記強誘電体キャパシタに前記第1ビットを書き込む、請求項1または2に記載の記憶装置。
発明の詳細な説明
【技術分野】
【0001】
本発明は、記憶装置に関する。
続きを表示(約 1,800 文字)
【背景技術】
【0002】
不揮発性記憶装置として、強誘電体キャパシタを用いた強誘電体記憶装置が知られている。トランジスタの制御端子とワード線との間に強誘電体キャパシタを接続するMFMIS(Metal Ferroelectric Metal Insulator Semiconductor)構造のメモリセルが知られている(例えば特許文献1、2)
【先行技術文献】
【特許文献】
【0003】
特開平8-250608号公報
特開2001-308291号公報
【発明の概要】
【発明が解決しようとする課題】
【0004】
MFMIS構造の強誘電体記憶装置は、非破壊読み出しが可能である。しかし、読み出し動作を繰り返すと、強誘電体キャパシタの分極状態が劣化して、読み出し判定ができなくなる可能性がある。
【0005】
本開示は、強誘電体キャパシタの分極状態の劣化を抑制することが可能な記憶装置を提供することを目的とする。
【課題を解決するための手段】
【0006】
本開示の実施形態によれば、記憶装置は、第1電源に接続された第1端子と、ビット線に接続された第2端子と、制御端子と、を有するトランジスタと、一端が前記トランジスタの制御端子に接続され、他端がワード線に接続された強誘電体キャパシタと、前記強誘電体キャパシタの一端と他端との間に書き込み電圧を印加することで、前記強誘電体キャパシタにデータを書き込む書込回路と、前記ビット線から前記強誘電体キャパシタに書き込まれたデータを読み出す読出回路と、を備え、前記読出回路は、前記ビット線の電圧または電流が、第1閾値に仕切られた第1範囲及び第2範囲のうち前記第1範囲内のとき前記書き込まれたデータを第1ビットと判定し、前記ビット線の電圧または電流が前記第2範囲内のとき前記書き込まれたデータを第2ビットと判定し、前記書込回路は、前記ビット線の電圧または電流が、前記第1閾値と前記第1範囲内の第2閾値との間の第3範囲内のとき、前記強誘電体キャパシタに前記第1ビットを書き込む。
【発明の効果】
【0007】
本開示によれば、強誘電体キャパシタの分極状態の劣化を抑制することができる。
【図面の簡単な説明】
【0008】
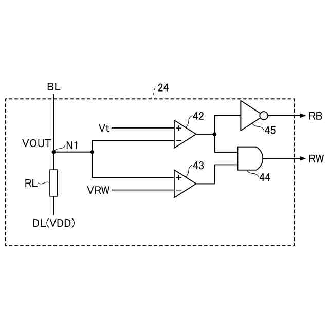
図1は、第1実施形態に係る記憶装置のブロック図である。
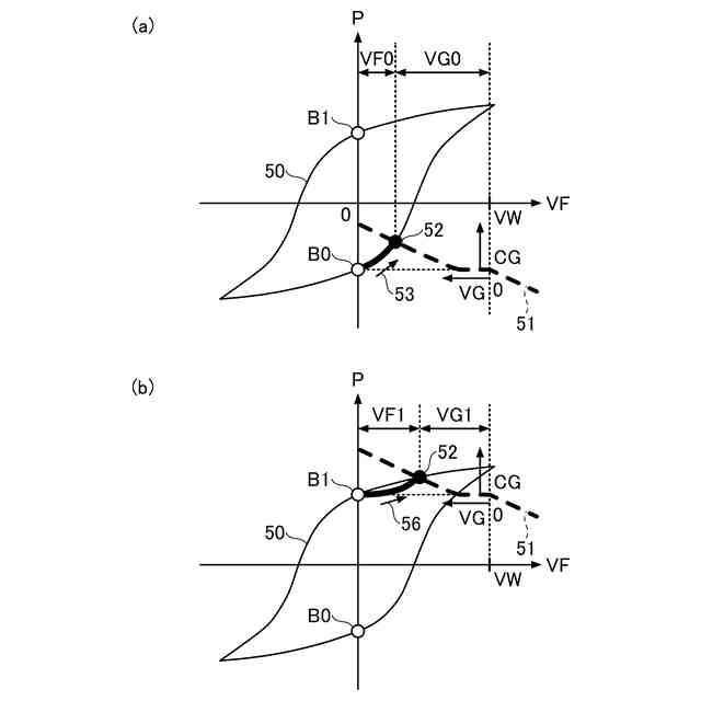
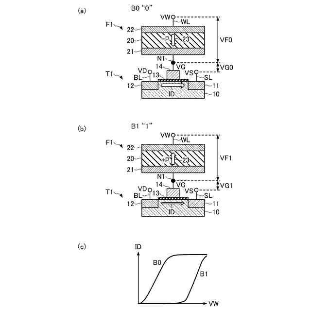
図2(a)から図2(c)は、メモリセルからデータを読み出す方法を示す図である。
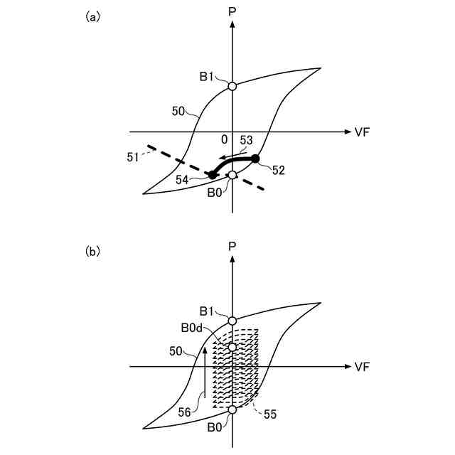
図3(a)及び図3(b)は、電圧VFに対する分極Pを示す図である。
図4(a)及び図4(b)は、電圧VFに対する分極Pを示す図である。
図5は、読み出し回数に対する電圧VOUT及び電流IDを示す図である。
図6は、第1実施形態に係る記憶装置における読み出し動作を示すフローチャートである。
図7は、第1実施形態における読出回路の回路例1を示す回路図である。
図8は、第1実施形態における読出回路の回路例2を示す回路図である。
図9は、第2実施形態に係る記憶装置のブロック図である。
図10は、第2実施形態におけるメモリセルの拡大回路図である。
図11は、第2実施形態におけるメモリセルMCの平面図である。
図12は、第2実施形態におけるメモリセルMCの平面図である。
図13は、図11及び図12のA-A断面図である。
図14は、図11及び図12のA-A断面図である。
【発明を実施するための形態】
【0009】
以下、図面を参照して本開示を実施するための形態について詳細に説明する。下記の実施形態は、発明の技術思想を具体化するための例示であり、本開示を記載された構成や数値に限定するものではない。なお、各図面において、同一構成部分には同一符号を付し、重複した説明を適宜省略する場合がある。各図面が示す各部材の大きさ、位置関係等は、発明の理解を容易にするために誇張して描かれている場合がある。
【0010】
(第1実施形態)
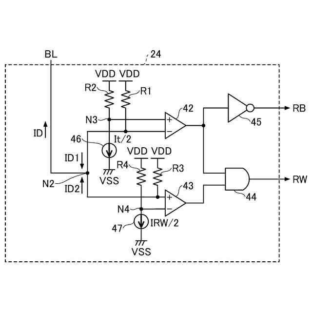
図1は、第1実施形態に係る記憶装置のブロック図である。図1に示すように、第1実施形態に係る記憶回路100は、メモリセルMC、読出回路24、書込回路25及び制御回路29を備えている。
(【0011】以降は省略されています)
この特許をJ-PlatPat(特許庁公式サイト)で参照する
関連特許
RAMXEED株式会社
記憶装置
26日前
RAMXEED株式会社
半導体装置及びその製造方法
11日前
日本発條株式会社
記録装置
1か月前
RAMXEED株式会社
記憶装置
26日前
株式会社ナノバブル研究所
データ消去装置
1か月前
ローム株式会社
RAM
1か月前
キオクシア株式会社
半導体記憶装置
2か月前
ローム株式会社
メモリ装置
2か月前
キヤノン株式会社
撮像装置
3か月前
キオクシア株式会社
半導体記憶装置
1か月前
キオクシア株式会社
記憶装置
2か月前
キオクシア株式会社
記憶装置
2か月前
ローム株式会社
半導体記憶装置
2か月前
ローム株式会社
半導体メモリ装置
26日前
キオクシア株式会社
記憶装置
2か月前
株式会社東芝
磁気ヘッド、及び、磁気記録装置
2か月前
ローム株式会社
半導体記憶装置
2か月前
株式会社東芝
磁気ヘッド、及び、磁気記録装置
1か月前
株式会社東芝
磁気ヘッド、及び、磁気記録装置
3か月前
株式会社東芝
磁気ヘッド、及び、磁気記録装置
3か月前
株式会社東芝
磁気ヘッド、及び、磁気記録装置
3か月前
株式会社東芝
磁気ヘッド、及び、磁気記録装置
3か月前
ローム株式会社
不揮発性メモリ装置
1か月前
ローム株式会社
不揮発性メモリ装置
1か月前
キオクシア株式会社
磁気記憶装置
2か月前
ローム株式会社
不揮発性メモリ装置
1か月前
キオクシア株式会社
メモリデバイス
1か月前
キオクシア株式会社
メモリデバイス
1か月前
キオクシア株式会社
メモリシステム
2か月前
キオクシア株式会社
半導体記憶装置
2か月前
株式会社JVCケンウッド
車載装置
17日前
キオクシア株式会社
半導体記憶装置、メモリシステム
2か月前
日本発條株式会社
記録装置、カバー、及びカバーの製造方法
1か月前
ニデックインスツルメンツ株式会社
磁気ヘッドおよびカードリーダ
3か月前
ローム株式会社
不揮発性半導体記憶装置
1か月前
キオクシア株式会社
半導体記憶装置
1か月前
続きを見る
他の特許を見る