TOP
|
特許
|
意匠
|
商標
特許ウォッチ
Twitter
他の特許を見る
公開番号
2025123611
公報種別
公開特許公報(A)
公開日
2025-08-25
出願番号
2024019135
出願日
2024-02-13
発明の名称
磁気ヘッドおよびカードリーダ
出願人
ニデックインスツルメンツ株式会社
代理人
個人
主分類
G11B
5/187 20060101AFI20250818BHJP(情報記憶)
要約
【課題】コアの摩耗に起因するスペーシングロスを低減することが可能な磁気ヘッド及びカードリーダを提供する。
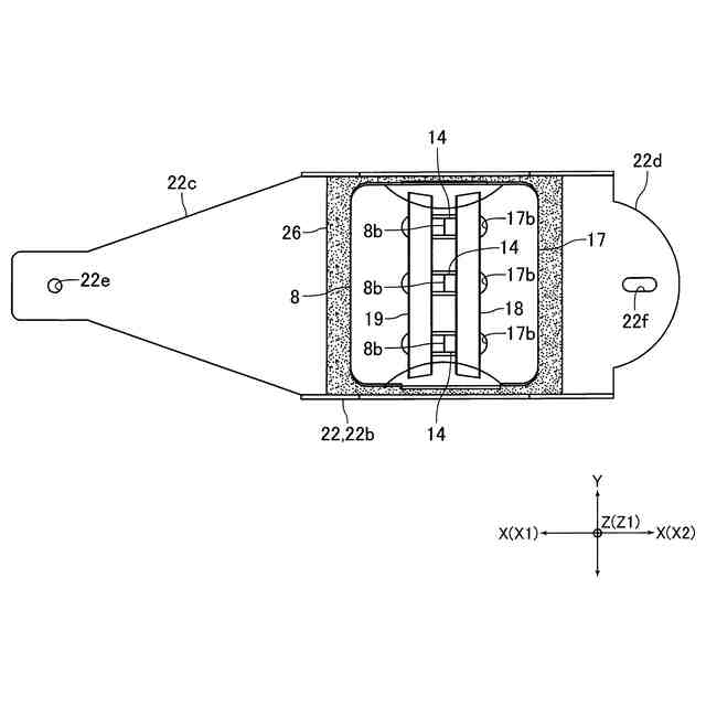
【解決手段】磁気ヘッド8は、磁気ギャップ8bが形成されるコア14と、コア14の摩耗を抑制するための第1摩耗抑制部18および第2摩耗抑制部19とを備えている。磁気ヘッド8では、磁気ギャップ8bは、第1摩耗抑制部18と第2摩耗抑制部19との間に配置されている。また、磁気ヘッド8では、第1摩耗抑制部18の硬度は、コア14の硬度よりも高くなっており、第2摩耗抑制部19の硬度は、第1摩耗抑制部18の硬度よりも高くなっている。
【選択図】図3
特許請求の範囲
【請求項1】
磁気ギャップが形成されるコアと、前記コアの摩耗を抑制するための第1摩耗抑制部および第2摩耗抑制部とを備え、
前記磁気ギャップは、前記第1摩耗抑制部と前記第2摩耗抑制部との間に配置され、
前記第1摩耗抑制部の硬度は、前記コアの硬度よりも高くなっており、
前記第2摩耗抑制部の硬度は、前記第1摩耗抑制部の硬度よりも高くなっていることを特徴とする磁気ヘッド。
続きを表示(約 1,100 文字)
【請求項2】
前記ギャップの深さ方向であるギャップ深さ方向に直交する所定の方向を第1直交方向とし、前記ギャップ深さ方向と前記第1直交方向とに直交する方向を第2直交方向とすると、
前記ギャップ深さ方向から見たときの前記磁気ギャップの形状は、前記第1直交方向に平行な直線状になっており、
前記磁気ギャップは、前記第2直交方向において、前記第1摩耗抑制部と前記第2摩耗抑制部との間に配置されていることを特徴とする請求項1記載の磁気ヘッド。
【請求項3】
前記第1摩耗抑制部のビッカース硬度は、1000Hv未満であり、
前記第2摩耗抑制部のビッカース硬度は、1000Hv以上であることを特徴とする請求項1または2記載の磁気ヘッド。
【請求項4】
前記第1摩耗抑制部は、チタン酸カルシウムで形成され、
前記第2摩耗抑制部は、ジルコニアで形成されていることを特徴とする請求項3記載の磁気ヘッド。
【請求項5】
請求項1または2記載の磁気ヘッドを備えることを特徴とするカードリーダ。
【請求項6】
カードが移動するカード移動路が形成されるとともに、請求項2に記載の磁気ヘッドを備えるカードリーダであって、
前記カード移動路を移動する前記カードの移動方向と前記第2直交方向とが一致し、
前記カードの移動方向の一方側を第1方向側とし、前記第1方向側の反対側を第2方向側とすると、
前記磁気ギャップよりも前記第1方向側における前記磁気ヘッドと前記カードとの接触圧は、前記磁気ギャップよりも前記第2方向側における前記磁気ヘッドと前記カードとの接触圧よりも高くなっており、
前記第2摩耗抑制部は、前記磁気ギャップよりも前記第1方向側に配置され、
前記第1摩耗抑制部は、前記磁気ギャップよりも前記第2方向側に配置されていることを特徴とするカードリーダ。
【請求項7】
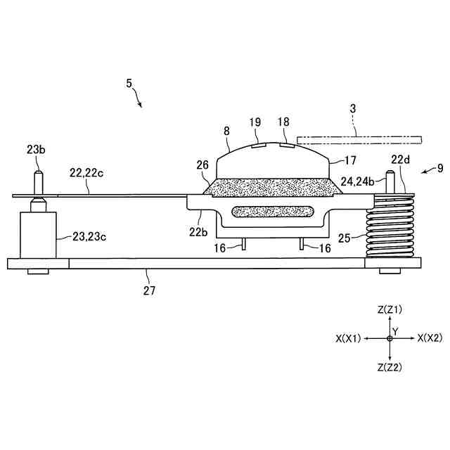
前記磁気ヘッドが固定されるヘッド固定部材と、前記ヘッド固定部材を支持する支点部と、前記支点部を支点にして前記ヘッド固定部材を付勢する付勢部材とを備え、
前記カード移動路を移動する前記カードの厚さ方向と前記ギャップ深さ方向とが一致し、
前記磁気ヘッドは、前記カードの厚さ方向の一方側から前記カード移動路に臨み、
前記支点部は、前記磁気ヘッドよりも前記第1方向側に配置され、
前記付勢部材は、前記支点部より前記第2方向側に配置されるとともに、前記ヘッド固定部材を付勢することで前記カードの厚さ方向の他方側に前記磁気ヘッドを付勢することを特徴とする請求項6記載のカードリーダ。
発明の詳細な説明
【技術分野】
【0001】
本発明は、磁気ヘッドおよびカードリーダに関する。
続きを表示(約 1,900 文字)
【背景技術】
【0002】
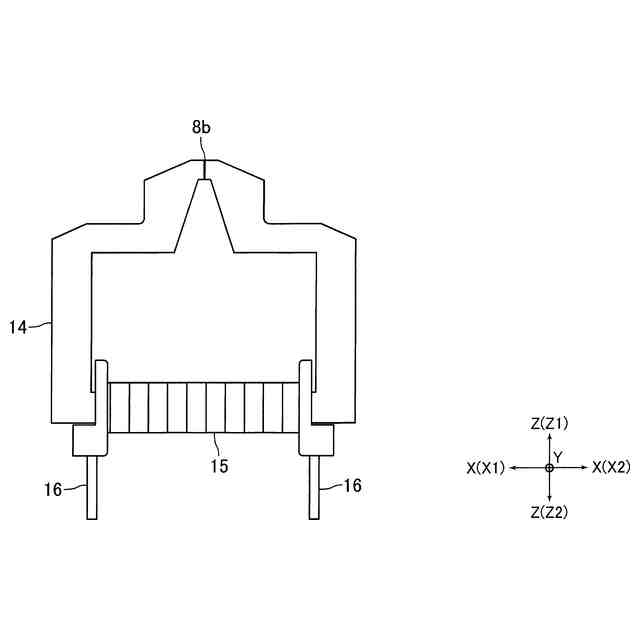
従来、カードに記録された磁気データの読取りやカードへの磁気データの記録を行う磁気ヘッドを備えるカードリーダが知られている(たとえば、特許文献1参照)。特許文献1に記載のカードリーダでは、磁気ヘッドは、磁気ギャップが形成されるコアと、コアに巻回されるコイルと、コアおよびコイルが収容されるヘッドケースとを備えている。磁気ヘッドの磁気ギャップの近傍には、磁気ヘッドの摩耗を抑制するためのセラミックス製のヘッド摩耗抑制部が形成されている。具体的には、磁気ギャップを前後方向で挟む2個のヘッド摩耗抑制部が磁気ヘッドに形成されている。
【先行技術文献】
【特許文献】
【0003】
特開2020-57045号公報
【発明の概要】
【発明が解決しようとする課題】
【0004】
本願発明者は、特許文献1に記載された磁気ヘッドと同様に、磁気ヘッドのコアの摩耗を抑制するための摩耗抑制部が磁気ギャップの両側に配置される磁気ヘッドを開発している。開発中の磁気ヘッドにおいて、コアの摩耗を抑制するためには、摩耗抑制部の硬度は高い方が好ましい。一方で、磁気ギャップを挟むように配置される2個の摩耗抑制部の硬度が高すぎると、磁気ヘッドの使用時間に応じて摩耗抑制部の摩耗量とコアの摩耗量との差が大きくなっていく。摩耗抑制部の摩耗量とコアの摩耗量との差が大きくなると、たとえば、カードに記録された磁気データを磁気ヘッドで読み取るときに、カードの磁気ストライプと磁気ギャップとの隙間が大きくなって(すなわち、スペーシングロスが大きくなって)磁気データの読取りが困難になるおそれがある。
【0005】
そこで、本発明の課題は、磁気ギャップが形成されるコアを備える磁気ヘッドにおいて、コアの摩耗を抑制しつつ、コアの摩耗に起因するスペーシングロスを低減することが可能な磁気ヘッドを提供することにある。また、本発明の課題は、かかる磁気ヘッドを備えるカードリーダを提供することにある。
【課題を解決するための手段】
【0006】
上記の課題を解決するため、本発明の一態様の磁気ヘッドは、磁気ギャップが形成されるコアと、コアの摩耗を抑制するための第1摩耗抑制部および第2摩耗抑制部とを備え、磁気ギャップは、第1摩耗抑制部と第2摩耗抑制部との間に配置され、第1摩耗抑制部の硬度は、コアの硬度よりも高くなっており、第2摩耗抑制部の硬度は、第1摩耗抑制部の硬度よりも高くなっていることを特徴とする。
【0007】
本態様の磁気ヘッドは、コアの摩耗を抑制するための第1摩耗抑制部および第2摩耗抑制部を備えており、磁気ギャップは、第1摩耗抑制部と第2摩耗抑制部との間に配置されている。また、本態様では、第1摩耗抑制部の硬度は、コアの硬度よりも高くなっており、第2摩耗抑制部の硬度は、第1摩耗抑制部の硬度よりも高くなっている。そのため、本態様では、第1摩耗抑制部と第2摩耗抑制部との間に配置されるコアの摩耗を抑制することが可能になる。
【0008】
また、本態様では、第1摩耗抑制部の硬度が第2摩耗抑制部の硬度よりも低くなっているため、磁気ヘッドの使用時間に応じて第2摩耗抑制部の摩耗量とコアの摩耗量との差が大きくなっていっても、第1摩耗抑制部の摩耗量とコアの摩耗量との差を抑制することが可能になる。したがって、本態様では、コアの摩耗に起因するスペーシングロスを低減することが可能になる。このように、本態様では、コアの摩耗を抑制しつつ、コアの摩耗に起因するスペーシングロスを低減することが可能になる。
【発明の効果】
【0009】
以上のように、本発明の一態様では、磁気ギャップが形成されるコアを備える磁気ヘッドにおいて、コアの摩耗を抑制しつつ、コアの摩耗に起因するスペーシングロスを低減することが可能になる。
【図面の簡単な説明】
【0010】
図1は、本発明の実施の形態にかかるカードリーダの斜視図である。
図2は、本発明の実施の形態にかかる磁気ヘッドおよび付勢機構の構成を説明するための側面図である。
図3は、図2に示す磁気ヘッドおよびヘッド固定部材の平面図である。
図4は、図2に示す磁気ヘッドの内部の構成を説明するための側面図である。
【発明を実施するための形態】
(【0011】以降は省略されています)
特許ウォッチbot のツイートを見る
この特許をJ-PlatPat(特許庁公式サイト)で参照する
関連特許
キオクシア株式会社
半導体記憶装置
1日前
ローム株式会社
メモリ回路
1か月前
ローム株式会社
メモリ装置
1日前
キヤノン株式会社
撮像装置
1か月前
ローム株式会社
半導体記憶装置
1か月前
キオクシア株式会社
記憶装置
1日前
株式会社東芝
磁気ヘッド、及び、磁気記録装置
1か月前
ローム株式会社
半導体記憶装置
4日前
株式会社東芝
磁気ヘッド、及び、磁気記録装置
1か月前
株式会社東芝
磁気ヘッド、及び、磁気記録装置
1か月前
株式会社東芝
磁気ヘッド、及び、磁気記録装置
1か月前
キオクシア株式会社
磁気メモリ
1か月前
株式会社東芝
磁気ヘッド、及び、磁気記録装置
12日前
ローム株式会社
半導体記憶装置
4日前
キオクシア株式会社
磁気記憶装置
1日前
キオクシア株式会社
半導体記憶装置
21日前
ニデックインスツルメンツ株式会社
磁気ヘッドおよびカードリーダ
1か月前
株式会社東芝
磁気ディスク装置
12日前
株式会社東芝
磁気ディスク装置
21日前
キオクシア株式会社
半導体記憶装置
1日前
国立大学法人 東京大学
読出回路及び磁気メモリ装置
11日前
ルネサスエレクトロニクス株式会社
半導体装置
1か月前
TDK株式会社
電源装置およびメモリシステム
1か月前
セイコーエプソン株式会社
不揮発性記憶装置及び集積回路装置
1か月前
ミネベアミツミ株式会社
ハードディスク駆動装置
25日前
セイコーエプソン株式会社
不揮発性記憶装置及び集積回路装置
1か月前
TDK株式会社
電源装置およびメモリシステム
1か月前
日本発條株式会社
ディスク装置用サスペンション
1か月前
日本発條株式会社
ディスク装置用サスペンション
1か月前
RAMXEED株式会社
半導体記憶装置および半導体記憶装置の制御方法
25日前
株式会社半導体エネルギー研究所
記憶装置
26日前
株式会社半導体エネルギー研究所
記憶装置
11日前
株式会社レゾナック・ハードディスク
成膜装置及び炭素膜の成膜方法
12日前
株式会社オプティム
プログラム、方法、情報処理装置、システム
1か月前
株式会社半導体エネルギー研究所
半導体装置
1か月前
株式会社半導体エネルギー研究所
半導体装置
1か月前
続きを見る
他の特許を見る