TOP
|
特許
|
意匠
|
商標
特許ウォッチ
Twitter
他の特許を見る
10個以上の画像は省略されています。
公開番号
2025141555
公報種別
公開特許公報(A)
公開日
2025-09-29
出願番号
2024041553
出願日
2024-03-15
発明の名称
半導体記憶装置
出願人
キオクシア株式会社
代理人
個人
,
個人
,
個人
主分類
G11C
11/4091 20060101AFI20250919BHJP(情報記憶)
要約
【課題】消費電力を低下可能なメモリを提供する。
【解決手段】メモリは、書込み用の第1データ線および第1制御線と読出し用の第2データ線および第2制御線とを備える。メモリセルは、ゲートが第1制御線に、一端が第1データ線に接続された第1トランジスタ、ゲートが第2制御線に、一端が第2データ線に接続された第2トランジスタ、および、ゲートが第1トランジスタの他端に、一端が第2トランジスタの他端に接続された第3トランジスタを含む。検出回路は第1および第2データ線に接続される。データの書込みまたは読出しの際に、制御部が第2制御線を活性化させて、検出回路が第2データ線の電圧に基づいて第1データを検出した後、制御部が第1制御線を活性化させる。書込みコマンドの受信後、検出回路は、外部からの第2データをラッチしたときに、第2データを第3トランジスタのゲートに伝達する。
【選択図】図1
特許請求の範囲
【請求項1】
データの書込みに用いられる第1データ線および第1制御線と、
データの読出しに用いられる第2データ線および第2制御線と、
ゲートが前記第1制御線に接続され一端が前記第1データ線に接続された第1トランジスタ、ゲートが前記第2制御線に接続され一端が前記第2データ線に接続された第2トランジスタ、および、ゲートが前記第1トランジスタの他端に接続され前記第1データ線からのデータを保持し、一端が前記第2トランジスタの他端に接続され前記データに応じた導通状態を有する第3トランジスタを含む複数のメモリセルと、
前記第1および第2データ線に接続され、外部からのデータをラッチしラッチした該データに応じた電圧を前記第1データ線に印加し、あるいは、前記第2データ線の電圧に基づいてデータを検出する検出回路と、
前記第1制御線および前記第2制御線を制御する制御部とを備え、
データの書込みまたは読出しの際に、前記制御部が前記第2制御線を活性化させて、前記検出回路が前記第2データ線の電圧に基づいて第1データを検出した後、前記制御部が前記第1制御線を活性化させ、前記検出回路が前記第1データを前記第3トランジスタのゲートに伝達し、
書込みを指示する書込みコマンドの受信後、前記検出回路は、外部からの第2データをラッチしたときに、前記第2データを前記第3トランジスタの前記ゲートに伝達する、半導体記憶装置。
続きを表示(約 2,200 文字)
【請求項2】
前記複数のメモリセルは、複数の行および複数の列に配列され、
複数の前記第1制御線および複数の前記第2制御線が、前記複数の行のそれぞれに対応して設けられ、
複数の前記第1データ線、複数の前記第2データ線および複数の前記検出回路が、前記複数の列のそれぞれに対応して設けられ、
データの書込みまたは読出しの際に、前記制御部が前記複数の行のうち選択された選択行に対応する前記第2制御線を活性化させて、前記複数の列に対応する前記複数の検出回路がそれぞれに対応する前記複数の第2データ線の電圧に基づいて前記第1データを検出した後、前記制御部が前記選択行に対応する前記第1制御線を活性化させ、前記検出回路が前記第1データを前記第3トランジスタのゲートに伝達し、
前記書込みコマンドの受信後、前記複数の列のうち選択された選択列に対応する前記検出回路が、外部からの第2データをラッチしたときに、前記第2データを前記選択行および前記選択列に対応する前記メモリセルの前記第3トランジスタの前記ゲートに伝達する、請求項1に記載の半導体記憶装置。
【請求項3】
前記制御部が前記選択行に対応する前記第1制御線を不活性化させた後、前記検出回路が前記第1データ線を所定電圧に設定するプリチャージを実行する、請求項2に記載の半導体記憶装置。
【請求項4】
前記書込みコマンドおよび前記読出しコマンドが発行されず、前記プリチャージを指示するプリチャージコマンドが発行された場合、前記検出回路が前記第1データを前記第3トランジスタのゲートに伝達する、請求項3に記載の半導体記憶装置。
【請求項5】
データの書込みに用いられる第1データ線および第1制御線と、
データの読出しに用いられる第2データ線および第2制御線と、
ゲートが前記第1制御線に接続され一端が前記第1データ線に接続された第1トランジスタ、ゲートが前記第2制御線に接続され一端が前記第2データ線に接続された第2トランジスタ、および、ゲートが前記第1トランジスタの他端に接続され前記第1データ線からのデータを保持し、一端が前記第2トランジスタの他端に接続され前記データに応じた導通状態を有する第3トランジスタを含む複数のメモリセルと、
前記第1および第2データ線に接続され、外部からのデータをラッチしラッチした該データに応じた電圧を前記第1データ線に印加し、あるいは、前記第2データ線の電圧に基づいてデータを検出する検出回路と、
前記第1制御線および前記第2制御線を制御する制御部とを備え、
データの書込みまたは読出しの際に、前記制御部が前記第2制御線を活性化させて、前記検出回路が前記第2データ線の電圧に基づいて第1データを検出し、
前記制御部は、 前記第1データの検出後、前記制御部が前記第1制御線を活性化させ、前記検出回路が前記第1データを前記第3トランジスタのゲートに伝達し、書込みを指示する書込みコマンドの受信後、前記検出回路が外部からの第2データをラッチしたときに、前記第2データを前記第3トランジスタの前記ゲートに伝達する、第1モードと、
前記第1データの検出後、前記検出回路が外部へ前記第1データを出力しあるいは外部からの第2データをラッチし、前記制御部が前記第1制御線を活性化させたときに、前記検出回路が前記第1または第2データを前記第3トランジスタのゲートに伝達する、第2モードと、
のいずれかを選択的に実行する、半導体記憶装置。
【請求項6】
前記制御部は、前記第1モードまたは前記第2モードを選択するモード選択信号に基づいて前記第1モードまたは前記第2モードを選択する、請求項5に記載の半導体記憶装置。
【請求項7】
前記第2モードは、
前記検出回路が外部へ前記第1データを出力しあるいは外部からの前記第2データをラッチしたタイミングで、前記制御部が前記第1制御線を活性化させる第1サブモードと、
前記検出回路が外部へ前記第1データを出力しあるいは外部からの前記第2データをラッチした後、前記第1データ線を所定電圧に設定するプリチャージコマンドが発行されたタイミングで、前記制御部が前記第1制御線を活性化させる第2サブモードとの少なくともいずれかを含む、請求項6に記載の半導体記憶装置。
【請求項8】
前記制御部は、前記第1サブモードまたは前記第2サブモードを選択するモード選択信号に基づいて前記第1サブモードまたは前記第2サブモードを選択する、請求項7に記載の半導体記憶装置。
【請求項9】
前記制御部は、前記第1制御線を活性化している期間において、前記第2制御線を活性化させている、請求項1または請求項5に記載の半導体記憶装置。
【請求項10】
前記第3トランジスタの他端に接続されたソース線をさらに備え、
前記制御部は、前記第1制御線を活性化している期間において、前記ソース線の電圧を変化させる、請求項1または請求項5に記載の半導体記憶装置。
(【請求項11】以降は省略されています)
発明の詳細な説明
【技術分野】
【0001】
本実施形態は、半導体記憶装置に関する。
続きを表示(約 2,900 文字)
【背景技術】
【0002】
ゲインセルメモリは、センスノードの蓄積電荷をトランジスタで増幅することによってデータを読み出す。このようなゲインセルメモリでは、消費電力の低下が望まれている。
【先行技術文献】
【特許文献】
【0003】
特開2018-073453号公報
特開2018-081736号公報
特開2008-053288号公報
【発明の概要】
【発明が解決しようとする課題】
【0004】
消費電力を低下させることができる半導体記憶装置を提供する。
【課題を解決するための手段】
【0005】
本実施形態による半導体記憶装置は、データの書込みに用いられる第1データ線および第1制御線と、データの読出しに用いられる第2データ線および第2制御線とを備える。複数のメモリセルは、ゲートが第1制御線に接続され一端が第1データ線に接続された第1トランジスタ、ゲートが第2制御線に接続され一端が第2データ線に接続された第2トランジスタ、および、ゲートが第1トランジスタの他端に接続され第1データ線からのデータを保持し、一端が第2トランジスタの他端に接続されデータに応じた導通状態を有する第3トランジスタを含む。検出回路は、第1および第2データ線に接続され、外部からのデータをラッチしラッチした該データに応じた電圧を第1データ線に印加し、あるいは、第2データ線の電圧に基づいてデータを検出する。制御部は、第1制御線および第2制御線を制御する。データの書込みまたは読出しの際に、制御部が第2制御線を活性化させて、検出回路が第2データ線の電圧に基づいて第1データを検出した後、制御部が第1制御線を活性化させ、検出回路が第1データを第3トランジスタのゲートに伝達する。書込みを指示する書込みコマンドの受信後、検出回路は、外部からの第2データをラッチしたときに、第2データを第3トランジスタのゲートに伝達する。
【図面の簡単な説明】
【0006】
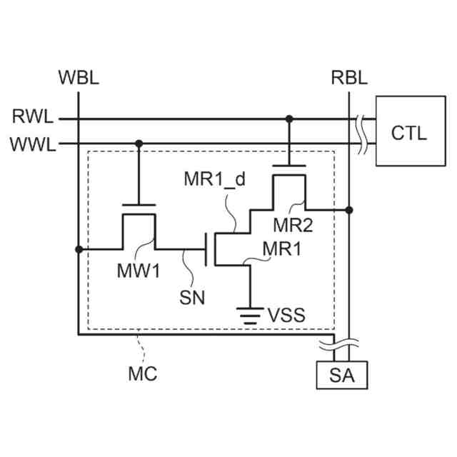
第1実施形態に従ったゲインセルメモリのメモリセルの構成例を示す回路図。
第1実施形態に従ってゲインセルメモリの構成例を示すブロック図。
ゲインセルメモリをDRAMモードで動作させた場合の一例を示す状態遷移図。
ゲインセルメモリをDRAMモードで動作させた場合の一例を示すタイミング図。
DRAMモードにおけるセンスアンプの状態を示す図。
DRAMモードにおけるセンスアンプの状態を示す図。
DRAMモードにおけるセンスアンプの状態を示す図。
DRAMモードにおけるセンスアンプの状態を示す図。
ゲインセルメモリを第1ゲインセルモードで動作させた場合の一例を示す状態遷移図。
ゲインセルメモリを第1ゲインセルモードで動作させた場合の一例を示すタイミング図。
第1ゲインセルモードにおけるセンスアンプの状態を示す図。
第1ゲインセルモードにおけるセンスアンプの状態を示す図。
第1ゲインセルモードにおけるセンスアンプの状態を示す図。
ゲインセルメモリを第2ゲインセルモードで動作させた場合の一例を示すタイミング図。
第2ゲインセルモードにおけるセンスアンプの状態を示す図。
第2ゲインセルモードにおけるセンスアンプの状態を示す図。
第1ゲインセルモードにおけるランダムアクセスの一例を示すタイミング図。
第1ゲインセルモードにおけるページアクセスの一例を示すタイミング図。
第2ゲインセルモードにおけるランダムアクセスの一例を示すタイミング図。
第2ゲインセルモードにおけるページアクセスの一例を示すタイミング図。
第2実施形態によるゲインセルメモリの動作を示す状態遷移図。
第3実施形態によるゲインセルメモリの動作を示すタイミング図。
第3実施形態によるゲインセルメモリの動作を示すタイミング図。
第4実施形態によるゲインセルメモリの動作を示すタイミング図。
第4実施形態によるゲインセルメモリの動作を示すタイミング図。
【発明を実施するための形態】
【0007】
以下、図面を参照して本発明に係る実施形態を説明する。本実施形態は、本発明を限定するものではない。図面は模式的または概念的なものである。明細書と図面において、同一の要素には同一の符号を付す。
【0008】
(第1実施形態)
図1は、第1実施形態に従ったゲインセルメモリのメモリセルの構成例を示す回路図である。ゲインセルメモリのメモリセルMCは、3つのトランジスタMW1、MR1、MR2で構成されている。トランジスタMW1、MR1、MR2は、例えば、n型OSFET(Oxide Semiconductor Field Effect Transistor)で構成されている。
【0009】
第1トランジスタとしてのトランジスタMW1のゲートは、第1制御線としての書込みワード線WWLに接続されている。トランジスタMW1の一方の電極は、第1データ線としての書込みビット線WBLに接続されている。トランジスタMW1の他方の電極は、トランジスタMR1のゲートに接続されている。トランジスタMW1の一方及び他方の電極は、トランジスタMW1に供給される電圧に応じて、ソース電極又はドレイン電極として機能する。トランジスタMW1は、書込みワード線WWLの制御を受けて、書込みビット線WBLを、センスノードSNとして機能するトランジスタMR1のゲート(以下、センスノードSNともいう)に接続する。トランジスタMW1は、導通状態のときに、書込みビット線WBLの電圧をセンスノードSNに伝達する。トランジスタMW1は、非導通状態のときに、センスノードSNの電圧を保持する。このように、トランジスタMW1は、書込みビット線WBLからの電圧(データ)をセンスノードSNに書込み、あるいは、センスノードSNに書き込まれた電圧(データ)を保持することができる。
【0010】
第3トランジスタとしてのトランジスタMR1のゲートは、トランジスタMW1の他方の電極に接続され、センスノードSNとして機能する。トランジスタMR1の一方の電極(ソース)は、低電圧源VSSに接続されている。トランジスタMR1の他方の電極(ドレイン)は、トランジスタMR2の一方の電極に接続されている。トランジスタMR1は、センスノードSNの電圧(即ち、データ)に応じた導通状態となる。例えば、センスノードSNが高レベル電圧(例えば、データ“1”)に保持されている場合には、トランジスタMR1は、導通状態となる。センスノードSNが低レベル電圧(例えば、データ“0”)に保持されている場合には、トランジスタMR1は、非導通状態となる。
(【0011】以降は省略されています)
この特許をJ-PlatPat(特許庁公式サイト)で参照する
関連特許
RAMXEED株式会社
記憶装置
1か月前
ローム株式会社
RAM
2か月前
株式会社東芝
磁気ヘッド、及び、磁気記録装置
1か月前
ローム株式会社
半導体メモリ装置
1か月前
株式会社JVCケンウッド
車載装置
28日前
ルネサスエレクトロニクス株式会社
半導体装置
1か月前
ミネベアミツミ株式会社
ハードディスク駆動装置
2か月前
株式会社レゾナック・ハードディスク
磁気記録媒体の製造方法
8日前
富士通株式会社
書き込みアシスト回路及びSRAM
14日前
株式会社半導体エネルギー研究所
半導体装置
1か月前
株式会社半導体エネルギー研究所
半導体装置
1か月前
株式会社半導体エネルギー研究所
半導体装置
22日前
株式会社半導体エネルギー研究所
半導体装置
1か月前
株式会社半導体エネルギー研究所
半導体装置
14日前
株式会社半導体エネルギー研究所
半導体装置
16日前
株式会社半導体エネルギー研究所
半導体装置
1か月前
株式会社東芝
ディスク装置
1か月前
ルネサスエレクトロニクス株式会社
半導体装置および書き込み方法
1か月前
キヤノン株式会社
映像処理装置、映像処理方法、および、プログラム
1か月前
株式会社東芝
磁気ディスク装置
9日前
株式会社東芝
磁気ディスク装置
1か月前
華邦電子股ふん有限公司
半導体積層ウェハ
14日前
株式会社東芝
磁気ディスク装置におけるヘッド浮上量の調整方法
1か月前
ルネサスエレクトロニクス株式会社
半導体装置の製造方法および半導体装置
1か月前
株式会社フジミインコーポレーテッド
研磨用組成物、基板の製造方法および研磨方法
2か月前
株式会社フジミインコーポレーテッド
研磨用組成物、基板の製造方法および研磨方法
2か月前
山口精研工業株式会社
磁気ディスク基板の研磨方法
2か月前
富士フイルム株式会社
磁気テープ、磁気テープカートリッジおよび磁気テープ装置
22日前
株式会社東芝
ランプおよび磁気ディスク装置
1か月前
株式会社東芝
磁気ディスク装置およびその制御方法
1か月前
株式会社東芝
サスペンションアセンブリ及びディスク装置
1か月前
株式会社東芝
ディスク装置、及びディスク装置の制御方法
28日前
華邦電子股ふん有限公司
半導体記憶装置及びその制御方法
1か月前
株式会社東芝
ディスク装置及びヘッドジンバルアセンブリ
8日前
日本発條株式会社
ディスク装置用サスペンション
1日前
株式会社東芝
熱アシスト磁気記録再生装置、及びその調整方法
15日前
続きを見る
他の特許を見る