TOP
|
特許
|
意匠
|
商標
特許ウォッチ
Twitter
他の特許を見る
10個以上の画像は省略されています。
公開番号
2025156364
公報種別
公開特許公報(A)
公開日
2025-10-14
出願番号
2025117954,2025078970
出願日
2025-07-14,2012-10-01
発明の名称
半導体装置
出願人
株式会社半導体エネルギー研究所
代理人
主分類
G11C
19/28 20060101AFI20251006BHJP(情報記憶)
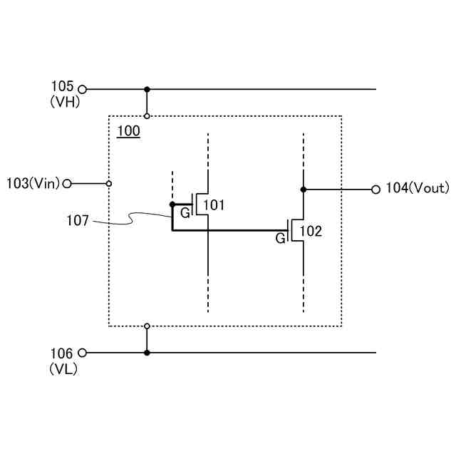
要約
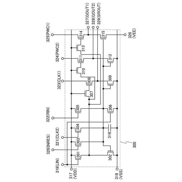
【課題】静電破壊による歩留まりの低下を防ぐことができる半導体装置。
【解決手段】複数の画素を選択するための信号を走査線に供給する走査線駆動回路が、上
記信号を生成するシフトレジスタを有しており、上記シフトレジスタにおいて、複数のト
ランジスタのゲート電極として機能する一の導電膜を複数に分割し、上記分割された導電
膜どうしを、分割された導電膜と異なる層に形成された導電膜により、電気的に接続する
構成を有する。上記複数のトランジスタには、シフトレジスタの出力側のトランジスタが
含まれるものとする。
【選択図】図1
特許請求の範囲
【請求項1】
第1のトランジスタ乃至第10のトランジスタと、第1の配線乃至第5の配線と、を有し、
前記第1のトランジスタのソース又はドレインの一方は、前記第1の配線と電気的に接続され、
前記第2のトランジスタのソース又はドレインの一方は、前記第2の配線と電気的に接続され、
前記第2のトランジスタのソース又はドレインの他方は、前記第1の配線と電気的に接続され、
前記第3のトランジスタのソース又はドレインの一方は、前記第1のトランジスタのゲートと電気的に接続され、
前記第3のトランジスタのソース又はドレインの他方は、前記第4のトランジスタのソース又はドレインの一方と電気的に接続され、
前記第3のトランジスタのゲートは、第1の電位が供給される前記第3の配線と電気的に接続され、
前記第4のトランジスタのソース又はドレインの他方は、前記第2の配線と電気的に接続され、
前記第5のトランジスタのソース又はドレインの一方は、前記第6のトランジスタのソース又はドレインの一方と電気的に接続され、
前記第6のトランジスタのソース又はドレインの他方は、前記第2の配線と電気的に接続され、
前記第7のトランジスタのソース又はドレインの一方は、前記第5のトランジスタのゲートと電気的に接続され、
前記第7のトランジスタのソース又はドレインの他方は、前記第8のトランジスタのソース又はドレインの一方と電気的に接続され、
前記第7のトランジスタのゲートは、前記第3の配線と電気的に接続され、
前記第8のトランジスタのソース又はドレインの他方は、前記第3の配線と電気的に接続され、
前記第8のトランジスタのゲートは、前記第4の配線と電気的に接続され、
前記第9のトランジスタのソース又はドレインの一方は、前記第10のトランジスタのソース又はドレインの一方と電気的に接続され、
前記第9のトランジスタのソース又はドレインの他方は、前記第5の配線と電気的に接続され、
前記第10のトランジスタのソース又はドレインの他方は、前記第2の配線と電気的に接続され、
前記第10のトランジスタのゲートは、前記第4のトランジスタのゲートと電気的に接続される、
半導体装置。
続きを表示(約 3,400 文字)
【請求項2】
第1のトランジスタ乃至第10のトランジスタと、第1の配線乃至第5の配線と、を有し、
前記第1のトランジスタのソース又はドレインの一方は、前記第1の配線と電気的に接続され、
前記第2のトランジスタのソース又はドレインの一方は、前記第2の配線と電気的に接続され、
前記第2のトランジスタのソース又はドレインの他方は、前記第1の配線と電気的に接続され、
前記第3のトランジスタのソース又はドレインの一方は、前記第1のトランジスタのゲートと電気的に接続され、
前記第3のトランジスタのソース又はドレインの他方は、前記第4のトランジスタのソース又はドレインの一方と電気的に接続され、
前記第3のトランジスタのゲートは、第1の電位が供給される前記第3の配線と電気的に接続され、
前記第5のトランジスタのソース又はドレインの一方は、前記第6のトランジスタのソース又はドレインの一方と電気的に接続され、
前記第6のトランジスタのソース又はドレインの他方は、前記第2の配線と電気的に接続され、
前記第7のトランジスタのソース又はドレインの一方は、前記第5のトランジスタのゲートと電気的に接続され、
前記第7のトランジスタのソース又はドレインの他方は、前記第8のトランジスタのソース又はドレインの一方と電気的に接続され、
前記第7のトランジスタのゲートは、前記第3の配線と電気的に接続され、
前記第8のトランジスタのソース又はドレインの他方は、前記第3の配線と電気的に接続され、
前記第8のトランジスタのゲートは、前記第4の配線と電気的に接続され、
前記第9のトランジスタのソース又はドレインの一方は、前記第10のトランジスタのソース又はドレインの一方と電気的に接続され、
前記第9のトランジスタのソース又はドレインの他方は、前記第5の配線と電気的に接続され、
前記第10のトランジスタのソース又はドレインの他方は、前記第2の配線と電気的に接続され、
前記第10のトランジスタのゲートは、前記第4のトランジスタのゲートと電気的に接続され、
前記第4のトランジスタのソース又はドレインの一方が、少なくとも前記第4のトランジスタのチャネル形成領域を介して前記第2の配線と導通しているとき、前記第2の配線に供給される第2の電位が、少なくとも前記第4のトランジスタのチャネル形成領域を介して前記第4のトランジスタのソース又はドレインの一方に供給される、
半導体装置。
【請求項3】
第1のトランジスタ乃至第10のトランジスタと、第1の配線乃至第5の配線と、を有し、
前記第1のトランジスタのソース又はドレインの一方は、前記第1の配線と電気的に接続され、
前記第2のトランジスタのソース又はドレインの一方は、前記第2の配線と電気的に接続され、
前記第2のトランジスタのソース又はドレインの他方は、前記第1の配線と電気的に接続され、
前記第3のトランジスタのソース又はドレインの一方は、前記第1のトランジスタのゲートと電気的に接続され、
前記第3のトランジスタのソース又はドレインの他方は、前記第4のトランジスタのソース又はドレインの一方と電気的に接続され、
前記第3のトランジスタのゲートは、第1の電位が供給される前記第3の配線と電気的に接続され、
前記第4のトランジスタのソース又はドレインの他方は、前記第2の配線と電気的に接続され、
前記第5のトランジスタのソース又はドレインの一方は、前記第6のトランジスタのソース又はドレインの一方と電気的に接続され、
前記第6のトランジスタのソース又はドレインの他方は、前記第2の配線と電気的に接続され、
前記第7のトランジスタのソース又はドレインの一方は、前記第5のトランジスタのゲートと電気的に接続され、
前記第7のトランジスタのソース又はドレインの他方は、前記第8のトランジスタのソース又はドレインの一方と電気的に接続され、
前記第7のトランジスタのゲートは、前記第3の配線と電気的に接続され、
前記第8のトランジスタのソース又はドレインの他方は、前記第3の配線と電気的に接続され、
前記第8のトランジスタのゲートは、前記第4の配線と電気的に接続され、
前記第9のトランジスタのソース又はドレインの一方は、前記第10のトランジスタのソース又はドレインの一方と電気的に接続され、
前記第9のトランジスタのソース又はドレインの他方は、前記第5の配線と電気的に接続され、
前記第10のトランジスタのソース又はドレインの他方は、前記第2の配線と電気的に接続され、
前記第10のトランジスタのゲートは、前記第4のトランジスタのゲートと電気的に接続され、
前記第1のトランジスタのソース又はドレインの他方に与えられる電位と、前記第5の配線に与えられる電位とが、異なっている期間を有する、
半導体装置。
【請求項4】
第1のトランジスタ乃至第10のトランジスタと、第1の配線乃至第5の配線と、を有し、
前記第1のトランジスタのソース又はドレインの一方は、前記第1の配線と電気的に接続され、
前記第2のトランジスタのソース又はドレインの一方は、前記第2の配線と電気的に接続され、
前記第2のトランジスタのソース又はドレインの他方は、前記第1の配線と電気的に接続され、
前記第3のトランジスタのソース又はドレインの一方は、前記第1のトランジスタのゲートと電気的に接続され、
前記第3のトランジスタのソース又はドレインの他方は、前記第4のトランジスタのソース又はドレインの一方と電気的に接続され、
前記第3のトランジスタのゲートは、第1の電位が供給される前記第3の配線と電気的に接続され、
前記第5のトランジスタのソース又はドレインの一方は、前記第6のトランジスタのソース又はドレインの一方と電気的に接続され、
前記第6のトランジスタのソース又はドレインの他方は、前記第2の配線と電気的に接続され、
前記第7のトランジスタのソース又はドレインの一方は、前記第5のトランジスタのゲートと電気的に接続され、
前記第7のトランジスタのソース又はドレインの他方は、前記第8のトランジスタのソース又はドレインの一方と電気的に接続され、
前記第7のトランジスタのゲートは、前記第3の配線と電気的に接続され、
前記第8のトランジスタのソース又はドレインの他方は、前記第3の配線と電気的に接続され、
前記第8のトランジスタのゲートは、前記第4の配線と電気的に接続され、
前記第9のトランジスタのソース又はドレインの一方は、前記第10のトランジスタのソース又はドレインの一方と電気的に接続され、
前記第9のトランジスタのソース又はドレインの他方は、前記第5の配線と電気的に接続され、
前記第10のトランジスタのソース又はドレインの他方は、前記第2の配線と電気的に接続され、
前記第10のトランジスタのゲートは、前記第4のトランジスタのゲートと電気的に接続され、
前記第4のトランジスタのソース又はドレインの一方が、少なくとも前記第4のトランジスタのチャネル形成領域を介して前記第2の配線と導通しているとき、前記第2の配線に供給される第2の電位が、少なくとも前記第4のトランジスタのチャネル形成領域を介して前記第4のトランジスタのソース又はドレインの一方に供給され、
前記第1のトランジスタのソース又はドレインの他方に与えられる電位と、前記第5の配線に与えられる電位とが、異なっている期間を有する、
半導体装置。
【請求項5】
請求項1乃至請求項4のいずれか一において、
前記第1のトランジスタ乃至前記第10のトランジスタは、全て同じ極性を有する、
半導体装置。
発明の詳細な説明
【技術分野】
【0001】
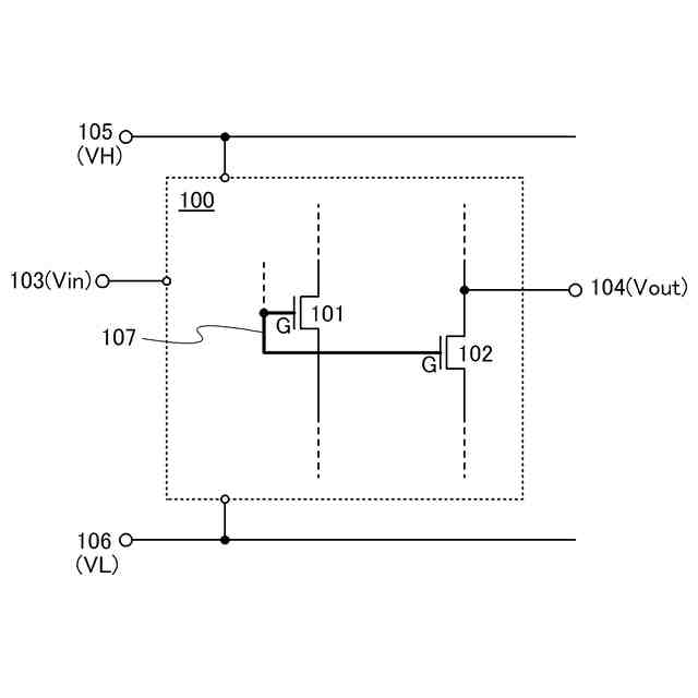
本発明は、絶縁ゲート型電界効果トランジスタを用いた半導体装置に関する。
続きを表示(約 2,000 文字)
【背景技術】
【0002】
近年、多結晶シリコンや微結晶シリコンによって得られる高い移動度と、非晶質シリコン
によって得られる均一な素子特性とを兼ね備えた新たな半導体材料として、酸化物半導体
と呼ばれる、半導体特性を示す金属酸化物に注目が集まっている。金属酸化物は様々な用
途に用いられており、例えば、よく知られた金属酸化物である酸化インジウムは、液晶表
示装置などで透明電極材料として用いられている。半導体特性を示す金属酸化物としては
、例えば、酸化タングステン、酸化錫、酸化インジウム、酸化亜鉛などがあり、このよう
な半導体特性を示す金属酸化物をチャネル形成領域に用いるトランジスタが、既に知られ
ている(特許文献1及び特許文献2)。
【先行技術文献】
【特許文献】
【0003】
特開2007-123861号公報
特開2007-96055号公報
【発明の概要】
【発明が解決しようとする課題】
【0004】
ところで、非晶質シリコンや酸化物半導体を有するトランジスタで構成された半導体表示
装置は、第5世代(横1200mm×縦1300mm)以上のガラス基板に対応できるた
め、生産性が高く、コストが低いという利点を有する。パネルが大型化すると、半導体表
示装置の画素部において、複数の画素に接続されたバスラインと呼ばれる配線、例えば走
査線や信号線などの負荷が大きくなる。そのため、走査線や信号線に電位を供給する駆動
回路には大きな電流供給能力が求められるので、駆動回路を構成するトランジスタ、特に
出力側に位置するトランジスタは、その電気的特性にも依るが、パネルの大型化に伴いサ
イズが増大する傾向にある。
【0005】
上記トランジスタのサイズが増大すると、駆動回路においてトランジスタのゲート電極と
して機能する配線の面積が、レイアウトの都合上、増大する。そのため、ドライエッチン
グなどのプラズマを用いた製造工程において配線に電荷が蓄積される、所謂アンテナ効果
と呼ばれる現象が起きやすく、配線に蓄積された上記電荷の放電により配線が静電破壊さ
れる確率が高くなる。
【0006】
特に、非晶質シリコンや酸化物半導体を有するトランジスタは、多結晶シリコンや単結晶
シリコンを用いたトランジスタに比べて、オン電流が小さい傾向にある。非晶質シリコン
や酸化物半導体を有するトランジスタを用いると、パネルの大型化はプロセス上可能であ
るが、駆動回路の電流供給能力を満たすために更に大きなサイズのトランジスタを設計す
る必要が生じる。よって、配線の面積の増大による配線の静電破壊の確率が高まり、それ
により歩留まりの低下がもたらされやすい。
【0007】
上述したような技術的背景のもと、本発明は、静電破壊による歩留まりの低下を防ぐこと
ができる半導体装置の提供を、課題の一つとする。
【課題を解決するための手段】
【0008】
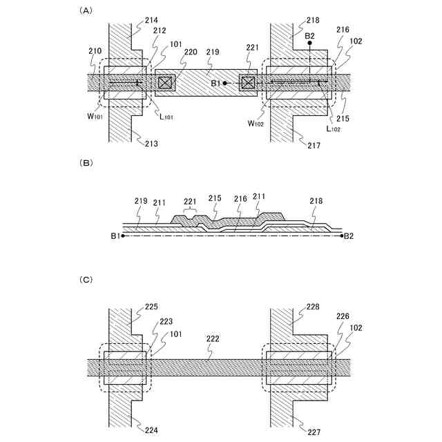
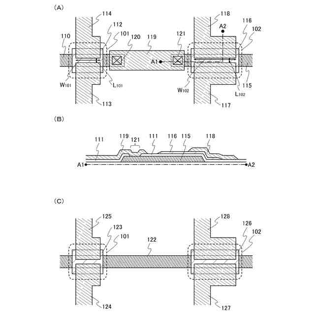
本発明の一態様は、アンテナ効果による導電膜への電荷の蓄積を防ぐために、複数のトラ
ンジスタのゲート電極として機能する一の導電膜を複数に分割する。上記分割された導電
膜は離隔している。そして、上記分割された導電膜どうしを、分割された導電膜と異なる
導電膜により、電気的に接続する構成を有する。上記複数のトランジスタには、駆動回路
の出力側のトランジスタが含まれるものとする。
【0009】
或いは、本発明の一態様では、複数の画素を選択するための信号を走査線に供給する走査
線駆動回路が、上記信号を生成するシフトレジスタを有しており、上記シフトレジスタに
おいて、複数のトランジスタのゲート電極として機能する一の導電膜を複数に分割する。
上記分割された導電膜は離隔している。そして、上記分割された導電膜どうしを、分割さ
れた導電膜と異なる導電膜により、電気的に接続する構成を有する。上記複数のトランジ
スタには、シフトレジスタの出力側のトランジスタが含まれるものとする。
【0010】
分割された導電膜と異なる導電膜は、上記分割された導電膜と異なる層に設けられていて
も良い。そして、上記の異なる層に形成された導電膜は、上記複数のトランジスタのソー
ス電極及びドレイン電極と同じ層に形成されていても良い。
(【0011】以降は省略されています)
この特許をJ-PlatPat(特許庁公式サイト)で参照する
関連特許
日本発條株式会社
記録装置
1か月前
RAMXEED株式会社
記憶装置
1か月前
株式会社ナノバブル研究所
データ消去装置
2か月前
ローム株式会社
RAM
1か月前
キオクシア株式会社
半導体記憶装置
2か月前
ローム株式会社
メモリ装置
2か月前
キオクシア株式会社
記憶装置
2か月前
キオクシア株式会社
半導体記憶装置
2か月前
キオクシア株式会社
記憶装置
2か月前
株式会社東芝
磁気ヘッド、及び、磁気記録装置
2か月前
ローム株式会社
半導体記憶装置
2か月前
ローム株式会社
半導体記憶装置
2か月前
ローム株式会社
半導体メモリ装置
1か月前
キオクシア株式会社
記憶装置
2か月前
株式会社東芝
磁気ヘッド、及び、磁気記録装置
1か月前
ローム株式会社
不揮発性メモリ装置
2か月前
ローム株式会社
不揮発性メモリ装置
2か月前
ローム株式会社
不揮発性メモリ装置
2か月前
キオクシア株式会社
磁気記憶装置
2か月前
キオクシア株式会社
メモリシステム
2か月前
株式会社JVCケンウッド
車載装置
21日前
キオクシア株式会社
メモリデバイス
2か月前
キオクシア株式会社
メモリデバイス
2か月前
キオクシア株式会社
半導体記憶装置、メモリシステム
2か月前
キオクシア株式会社
半導体記憶装置
2か月前
キオクシア株式会社
半導体記憶装置
2か月前
日本発條株式会社
記録装置、カバー、及びカバーの製造方法
1か月前
ローム株式会社
不揮発性半導体記憶装置
2か月前
キオクシア株式会社
半導体記憶装置
2か月前
キオクシア株式会社
半導体装置及び記憶媒体
2か月前
ルネサスエレクトロニクス株式会社
半導体装置
1か月前
国立大学法人 東京大学
読出回路及び磁気メモリ装置
2か月前
ミネベアミツミ株式会社
ハードディスク駆動装置
1か月前
富士通株式会社
書き込みアシスト回路及びSRAM
7日前
株式会社レゾナック・ハードディスク
磁気記録媒体の製造方法
1日前
キオクシア株式会社
メモリデバイス及びメモリシステム
2か月前
続きを見る
他の特許を見る