TOP
|
特許
|
意匠
|
商標
特許ウォッチ
Twitter
他の特許を見る
公開番号
2025176519
公報種別
公開特許公報(A)
公開日
2025-12-04
出願番号
2024082727
出願日
2024-05-21
発明の名称
磁気記録媒体の製造方法
出願人
株式会社レゾナック・ハードディスク
代理人
弁理士法人ITOH
主分類
G11B
5/84 20060101AFI20251127BHJP(情報記憶)
要約
【課題】磁気記録媒体の生産性を高めることができる磁気記録媒体の製造方法を提供する。
【解決手段】本発明に係る磁気記録媒体の製造方法は、基板上に磁気記録層及び保護層をこの順で積層した積層体の表面を研磨材によりバーニッシュするバーニッシュ工程を含み、前記バーニッシュ工程は、支持体上に前記研磨材として砥粒を固着させた長尺の研磨テープをロール状に巻き取った状態で使用し、前記ロール状に巻き取った状態から供給される前記研磨テープを前記積層体の表面に押し当てて擦過させる工程を含み、前記ロール状に巻き取った状態の前記研磨テープとして、予め、巻き直しにより遊離した砥粒を除去した前記研磨テープを用いる。
【選択図】図2
特許請求の範囲
【請求項1】
基板上に磁気記録層及び保護層をこの順で積層した積層体の表面を研磨材によりバーニッシュするバーニッシュ工程を含み、
前記バーニッシュ工程は、支持体上に前記研磨材として砥粒を固着させた長尺の研磨テープをロール状に巻き取った状態で使用し、前記ロール状に巻き取った状態から供給される前記研磨テープを前記積層体の表面に押し当てて擦過させる工程を含み、
前記ロール状に巻き取った状態の前記研磨テープとして、予め、巻き直しにより遊離した砥粒を除去した前記研磨テープを用いることを特徴とする、磁気記録媒体の製造方法。
続きを表示(約 360 文字)
【請求項2】
前記遊離した砥粒は、前記研磨テープの前記支持体から遊離した砥粒である、請求項1に記載の磁気記録媒体の製造方法。
【請求項3】
前記遊離した砥粒の除去を、気体を用いて吹き飛ばすことで行う、請求項1又は2に記載の磁気記録媒体の製造方法。
【請求項4】
前記遊離した砥粒の除去を、前記研磨テープの表面に別のテープを接触させて前記遊離した砥粒を前記別のテープに吸着させることで行う、請求項1又は2に記載の磁気記録媒体の製造方法。
【請求項5】
前記積層体の表面に潤滑層を形成する潤滑層の形成工程を含み、
前記バーニッシュ工程は、前記潤滑層が形成された前記積層体の表面を前記研磨材によりバーニッシュする、請求項1又は2に記載の磁気記録媒体の製造方法。
発明の詳細な説明
【技術分野】
【0001】
本発明は、磁気記録媒体の製造方法に関する。
続きを表示(約 1,900 文字)
【背景技術】
【0002】
磁気記憶装置は、近年、パーソナルコンピュータ、動画レコーダ及びデータサーバなど様々な製品に搭載され、その重要性が増している。磁気記憶装置は、電子データを磁気記録により保存する磁気記録媒体を有する装置であり、例えば、ハードディスクドライブ(HDD:Hard Disk Drive)がある。
【0003】
一般的な磁気記録媒体は、例えば、非磁性基板上に、下地層、中間層、磁気記録層及び保護層をこの順に成膜し、保護層の表面に潤滑層を形成した多層膜を有する。
【0004】
磁気記録媒体の製造に際しては、保護層の表面の異物や突起を除去するため、研磨テープによるバーニッシュ工程が行われる(例えば、特許文献1参照)。
【先行技術文献】
【特許文献】
【0005】
特公平2-10486号公報
【発明の概要】
【発明が解決しようとする課題】
【0006】
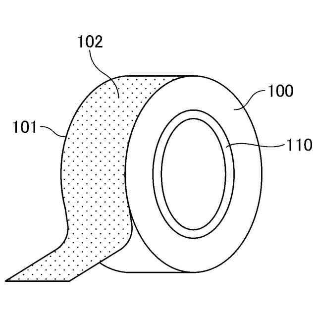
バーニッシュ工程では、図1に示すように、樹脂フィルム101上にアルミナなどの砥粒102を樹脂で固着させた研磨テープ100が用いられる。研磨テープ100は、幅数cm、長さ100m程度の長尺であり、芯材110にロール状に巻き取った状態で供給される。
【0007】
研磨テープ100に異物又は遊離した砥粒などが混入すると、バーニッシュ工程において多層膜の表面に円周傷が発生し、汚れが付着しやすくなる。そのため、研磨テープ100は、その製造過程において異物又は遊離した砥粒などが混入しないように品質管理されて製造される。しかしながら、磁気記録媒体の製造において、依然として、バーニッシュ工程に起因すると思われる傷又は汚れが発生する場合がある、という問題があった。多層膜の表面に傷及び汚れなどが発生した磁気記録媒体は、不良品として処理され、磁気記録媒体の生産性を低下させることになる。
【0008】
本発明の一態様は、磁気記録媒体の生産性を高めることができる磁気記録媒体の製造方法を提供することを目的とする。
【課題を解決するための手段】
【0009】
本発明の発明者らは、磁気記録媒体表面の円周傷及び汚れに起因する不良品の発生率と、バーニッシュ工程に用いる研磨テープのロールの位置に相関があることに着目し、研磨テープのロールの内側である芯材側に比べて、外側の方がバーニッシュ工程に起因する不良品の発生率が高まることを発見した。この原因について調査したところ、研磨テープをロール状にすることの巻き締まりによる圧力で、遊離した砥粒が発生し、この遊離した砥粒が不良品の発生原因となっていた。巻き締まりによる圧力は、ロールの内側と外側で差があるため、ロールの内側と外側とで遊離する砥粒の発生量の違いが生じていた。そこで、本発明の発明者らは、ロール状に巻き取った状態の研磨テープを、その使用前に巻き直し、遊離した砥粒を除去することで、磁気記録媒体の生産性を向上できることを見出した。
【0010】
本発明は、以下に示す構成を備える。
[1] 基板上に磁気記録層及び保護層をこの順で積層した積層体の表面を研磨材によりバーニッシュするバーニッシュ工程を含み、
前記バーニッシュ工程は、支持体上に前記研磨材として砥粒を固着させた長尺の研磨テープをロール状に巻き取った状態で使用し、前記ロール状に巻き取った状態から供給される前記研磨テープを前記積層体の表面に押し当てて擦過させる工程を含み、
前記ロール状に巻き取った状態の前記研磨テープとして、予め、巻き直しにより遊離した砥粒を除去した前記研磨テープを用いることを特徴とする、磁気記録媒体の製造方法。
[2] 前記遊離した砥粒は、前記研磨テープの前記支持体から遊離した砥粒である、[1]に記載の磁気記録媒体の製造方法。
[3] 前記遊離した砥粒の除去を、気体を用いて吹き飛ばすことで行う、[1]又は[2]に記載の磁気記録媒体の製造方法。
[4] 前記遊離した砥粒の除去を、前記研磨テープの表面に別のテープを接触させて前記遊離した砥粒を前記別のテープに吸着させることで行う、[1]又は[2]に記載の磁気記録媒体の製造方法。
[5] 前記積層体の表面に潤滑層を形成する潤滑層の形成工程を含み、
前記バーニッシュ工程は、前記潤滑層が形成された前記積層体の表面を前記研磨材によりバーニッシュする、[1]~[4]のいずれか一つに記載の磁気記録媒体の製造方法。
【発明の効果】
(【0011】以降は省略されています)
この特許をJ-PlatPat(特許庁公式サイト)で参照する
関連特許
日本発條株式会社
記録装置
1か月前
RAMXEED株式会社
記憶装置
29日前
株式会社ナノバブル研究所
データ消去装置
2か月前
ローム株式会社
RAM
1か月前
キオクシア株式会社
半導体記憶装置
2か月前
ローム株式会社
メモリ装置
2か月前
キオクシア株式会社
記憶装置
2か月前
キオクシア株式会社
半導体記憶装置
2か月前
キオクシア株式会社
記憶装置
2か月前
キオクシア株式会社
記憶装置
2か月前
ローム株式会社
半導体メモリ装置
29日前
ローム株式会社
半導体記憶装置
2か月前
株式会社東芝
磁気ヘッド、及び、磁気記録装置
1か月前
株式会社東芝
磁気ヘッド、及び、磁気記録装置
2か月前
ローム株式会社
半導体記憶装置
2か月前
ローム株式会社
不揮発性メモリ装置
2か月前
ローム株式会社
不揮発性メモリ装置
2か月前
ローム株式会社
不揮発性メモリ装置
2か月前
キオクシア株式会社
磁気記憶装置
2か月前
キオクシア株式会社
メモリシステム
2か月前
株式会社JVCケンウッド
車載装置
20日前
キオクシア株式会社
半導体記憶装置
2か月前
キオクシア株式会社
メモリデバイス
2か月前
キオクシア株式会社
メモリデバイス
2か月前
ローム株式会社
不揮発性半導体記憶装置
2か月前
日本発條株式会社
記録装置、カバー、及びカバーの製造方法
1か月前
キオクシア株式会社
半導体記憶装置、メモリシステム
2か月前
キオクシア株式会社
半導体記憶装置
2か月前
キオクシア株式会社
半導体記憶装置
2か月前
株式会社東芝
磁気ディスク装置
2か月前
株式会社東芝
磁気ディスク装置
2か月前
キオクシア株式会社
半導体装置及び記憶媒体
2か月前
キオクシア株式会社
半導体記憶装置
2か月前
国立大学法人 東京大学
読出回路及び磁気メモリ装置
2か月前
ルネサスエレクトロニクス株式会社
半導体装置
1か月前
ミネベアミツミ株式会社
ハードディスク駆動装置
3か月前
続きを見る
他の特許を見る