TOP
|
特許
|
意匠
|
商標
特許ウォッチ
Twitter
他の特許を見る
10個以上の画像は省略されています。
公開番号
2025145312
公報種別
公開特許公報(A)
公開日
2025-10-03
出願番号
2024045420
出願日
2024-03-21
発明の名称
半導体装置及び記憶媒体
出願人
キオクシア株式会社
代理人
弁理士法人鈴榮特許綜合事務所
主分類
G11C
16/26 20060101AFI20250926BHJP(情報記憶)
要約
【課題】メモリデバイスを用いた効率的な論理演算を実現すること。
【解決手段】実施形態の半導体装置は、第1ビット線と、複数のストリングと、第1制御回路とを含む。複数のストリングは、第1ビット線に接続される。複数のストリングの各々は、直列に接続された選択トランジスタ及び複数のメモリセルを含む。第1制御回路は、論理演算を実行するように構成される。論理演算において、第1制御回路は、複数のストリングのうち少なくとも2つのストリングの選択トランジスタに第1電圧を印加し、前記少なくとも2つのストリング以外のストリングの選択トランジスタに前記第1電圧よりも低い第2電圧を印加し、前記複数のストリングの各々の前記複数のメモリセルのうち少なくとも2つのメモリセルに第3電圧を印加し、前記少なくとも2つのメモリセル以外のメモリセルに前記第3電圧よりも高い第4電圧を印加する読み出し動作を実行するように構成される。
【選択図】図6
特許請求の範囲
【請求項1】
第1ビット線と、
前記第1ビット線に接続され、各々が直列に接続された選択トランジスタ及び複数のメモリセルを含む複数のストリングと、
論理演算を実行するように構成された第1制御回路と、を備え、
前記論理演算において、前記第1制御回路は、前記複数のストリングのうち少なくとも2つのストリングの選択トランジスタに第1電圧を印加し、前記少なくとも2つのストリング以外のストリングの選択トランジスタに前記第1電圧よりも低い第2電圧を印加し、前記複数のストリングの各々の前記複数のメモリセルのうち少なくとも2つのメモリセルに第3電圧を印加し、前記少なくとも2つのメモリセル以外のメモリセルに前記第3電圧よりも高い第4電圧を印加する読み出し動作を実行するように構成される、
半導体装置。
続きを表示(約 2,600 文字)
【請求項2】
前記第1ビット線を含み、各々に前記複数のストリングが接続された複数のビット線と、
前記複数のビット線に接続された複数のセンスアンプと、
前記複数のセンスアンプの各々から出力されたデータを保持する出力保持レジスタと、をさらに備え、
前記第1制御回路は、さらに、前記読み出し動作を実行した後に、前記出力保持レジスタに保持された読み出し結果に基づく読み出し命令を実行するように構成される、
請求項1に記載の半導体装置。
【請求項3】
前記第1ビット線を含み、各々に前記複数のストリングが接続された複数のビット線と、
前記複数のビット線に接続された複数のセンスアンプと、
前記複数のセンスアンプの各々から出力されたデータを保持する出力保持レジスタと、
前記読み出し動作が実行された後に、前記出力保持レジスタに保持された読み出し結果に基づき、論理演算を含む後処理命令を実行するように構成された第2制御回路と、をさらに備える、
請求項1に記載の半導体装置。
【請求項4】
各々が前記複数のストリングを含み、ページ単位でデータを記憶するように構成された第1及び第2メモリセルアレイと、
入力データを前記第1メモリセルアレイの第1ページに書き込み、前記第1ページから読み出した前記入力データを前記第2メモリセルアレイの前記複数のストリングに含まれた第1ストリングに書き込むように構成された第3制御回路と、をさらに備える、
請求項1に記載の半導体装置。
【請求項5】
前記第3制御回路は、さらに、外部からクエリが入力された場合に、前記クエリに基づく電圧を前記第1ストリングの前記複数のメモリセルのそれぞれに印加する読み出し動作を実行するように構成される、
請求項4に記載の半導体装置。
【請求項6】
各々がラッチ回路を有する複数のセンスアンプが接続された第3メモリセルアレイをさらに備え、
前記第3制御回路は、さらに、
第1クエリに基づく読み出し動作を実行した結果得られた第1値の数をカウントして、前記複数のセンスアンプの先頭から前記第1クエリに基づく第1カウント結果に対応する数のセンスアンプの前記ラッチ回路の保持する値を第2値から第3値に変更し、
第2クエリに基づく読み出し動作を実行した結果得られた前記第1値の数をカウントして、前記複数のセンスアンプのうち前記ラッチ回路が前記第3値を保持するセンスアンプの次のセンスアンプから前記第2クエリに基づく第2カウント結果に対応する数のセンスアンプの前記ラッチ回路の保持する値を前記第2値から前記第3値に変更し、
前記ラッチ回路が前記第3値を保持する末尾のセンスアンプに割り当てられた二進数に応じて、前記第1カウント結果と前記第2カウント結果との和を取得するように構成される、
請求項5に記載の半導体装置。
【請求項7】
前記第3制御回路は、前記第1ページから読み出した前記入力データを前記第2メモリセルアレイの前記第1ストリングに書き込む際に、さらに前記入力データの相補データを前記第1ストリングに書き込む、
請求項4に記載の半導体装置。
【請求項8】
前記第2メモリセルアレイの前記複数のストリングは、前記第1ストリングと同じビット線に接続された第2ストリングをさらに含み、
前記第3制御回路は、前記第2ストリングに、前記第1ストリングに記憶されたデータの相補データを書き込む、
請求項7に記載の半導体装置。
【請求項9】
前記第3制御回路は、排他的論理和処理を実行するように構成され、
前記第1ストリングに含まれた前記複数のメモリセルは、第1データを記憶する第1メモリセルと、前記第1データの相補データを記憶する第2メモリセルと、第2データの相補データを記憶する第3メモリセルと、前記第2データを記憶する第4メモリセルと、を含み、
前記第2ストリングに含まれた前記複数のメモリセルは、前記第1データの相補データを記憶する第5メモリセルと、前記第1データを記憶する第6メモリセルと、前記第2データを記憶する第7メモリセルと、前記第2データの相補データを記憶する第8メモリセルと、を含み、
前記第3制御回路は、前記排他的論理和処理において、前記第1ストリング及び前記第2ストリングのそれぞれの選択トランジスタに前記第1電圧を印加し、前記第1メモリセルと前記第3メモリセルと前記第5メモリセルと前記第7メモリセルとのそれぞれに前記第3電圧を印加し、前記第2メモリセルと前記第4メモリセルと前記第6メモリセルと前記第8メモリセルとのそれぞれに前記第4電圧を印加する、
請求項8に記載の半導体装置。
【請求項10】
前記第3制御回路は、否定排他的論理和処理を実行するように構成され、
前記第1ストリングに含まれた前記複数のメモリセルは、第1データを記憶する第1メモリセルと、前記第1データの相補データを記憶する第2メモリセルと、第2データの相補データを記憶する第3メモリセルと、前記第2データを記憶する第4メモリセルと、を含み、
前記第2ストリングに含まれた前記複数のメモリセルは、前記第1データの相補データを記憶する第5メモリセルと、前記第1データを記憶する第6メモリセルと、前記第2データを記憶する第7メモリセルと、前記第2データの相補データを記憶する第8メモリセルと、を含み、
前記第3制御回路は、前記否定排他的論理和処理において、前記第1ストリング及び前記第2ストリングのそれぞれの選択トランジスタに前記第1電圧を印加し、前記第1メモリセルと前記第4メモリセルと前記第5メモリセルと前記第8メモリセルとのそれぞれに前記第3電圧を印加し、前記第2メモリセルと前記第3メモリセルと前記第6メモリセルと前記第7メモリセルとのそれぞれに前記第4電圧を印加する、
請求項8に記載の半導体装置。
(【請求項11】以降は省略されています)
発明の詳細な説明
【技術分野】
【0001】
実施形態は、半導体装置及び記憶媒体に関する。
続きを表示(約 2,300 文字)
【背景技術】
【0002】
データを不揮発に記憶することが可能なNAND型フラッシュメモリが知られている。
【先行技術文献】
【特許文献】
【0003】
特表2021-508906号公報
【発明の概要】
【発明が解決しようとする課題】
【0004】
メモリデバイスを用いた効率的な論理演算を実現すること。
【課題を解決するための手段】
【0005】
実施形態の半導体装置は、第1ビット線と、複数のストリングと、第1制御回路とを含む。複数のストリングは、第1ビット線に接続される。複数のストリングの各々は、直列に接続された選択トランジスタ及び複数のメモリセルを含む。第1制御回路は、論理演算を実行するように構成される。論理演算において、第1制御回路は、複数のストリングのうち少なくとも2つのストリングの選択トランジスタに第1電圧を印加し、前記少なくとも2つのストリング以外のストリングの選択トランジスタに前記第1電圧よりも低い第2電圧を印加し、前記複数のストリングの各々の前記複数のメモリセルのうち少なくとも2つのメモリセルに第3電圧を印加し、前記少なくとも2つのメモリセル以外のメモリセルに前記第3電圧よりも高い第4電圧を印加する読み出し動作を実行するように構成される。
【図面の簡単な説明】
【0006】
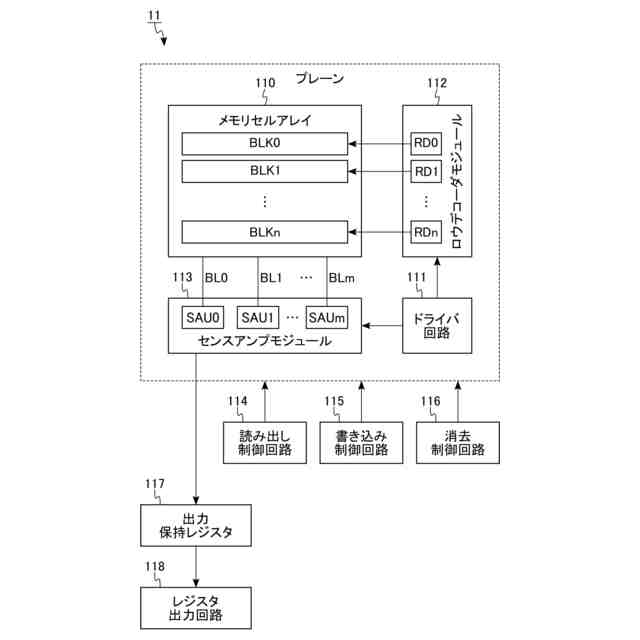
第1実施形態に係る情報処理システムの構成の一例を示すブロック図。
第1実施形態に係る半導体装置の構成の一例を示すブロック図。
第1実施形態に係る半導体装置が備える情報処理部の構成の一例を示すブロック図。
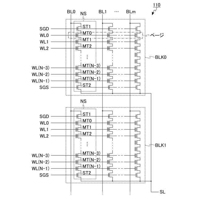
第1実施形態に係る半導体装置が備えるメモリセルアレイの回路構成の一例を示す回路図。
第1実施形態に係る半導体装置の情報処理の一例を示すフローチャート。
第1実施形態に係る半導体装置の読み出し動作の一例を示す模式図。
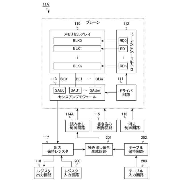
第2実施形態に係る半導体装置が備える情報処理部の構成の一例を示すブロック図。
第2実施形態に係る半導体装置の情報処理の一例を示すフローチャート。
第3実施形態に係る半導体装置の構成の一例を示すブロック図。
第3実施形態に係る半導体装置の情報処理の一例を示すフローチャート。
第4実施形態に係る半導体装置が備えるメモリセルトランジスタの閾値電圧分布の一例を示す模式図。
第4実施形態に係る半導体装置の記憶処理の具体例を示す模式図。
第4実施形態に係る半導体装置の記憶処理の具体例を示す模式図。
第4実施形態に係る半導体装置の記憶処理の具体例を示す模式図。
第4実施形態に係る半導体装置の比較処理の具体例を示す模式図。
第4実施形態に係る半導体装置の比較処理の具体例を示す模式図。
第4実施形態に係る半導体装置の加算処理の具体例を示す模式図。
第4実施形態に係る半導体装置の加算処理の具体例を示す模式図。
第4実施形態に係る半導体装置の加算処理の具体例を示す模式図。
第4実施形態に係る半導体装置が備えるメモリセルアレイに対するデータの配置方法の一例を示す模式図。
第4実施形態に係る半導体装置の排他的論理和(XOR)処理の具体例を示す模式図。
第4実施形態に係る半導体装置の排他的論理和(XOR)処理の具体例を示す模式図。
第4実施形態に係る半導体装置の排他的論理和(XOR)処理の具体例を示す模式図。
第4実施形態に係る半導体装置の排他的論理和(XOR)処理の並列処理の一例を示す模式図。
第4実施形態に係る半導体装置の否定排他的論理和(XNOR)処理の具体例を示す模式図。
【発明を実施するための形態】
【0007】
以下に、各実施形態について図面を参照して説明する。各実施形態は、発明の技術的思想を具体化するための装置や方法を例示している。図面は、模式的又は概念的なものである。本明細書において、略同一の機能及び構成を有する構成要素には、同一の符号が付加されている。参照符号に付加された数字や文字などは、同じ参照符号により参照され、且つ類似した要素同士を区別するために使用される。
【0008】
<1>第1実施形態
第1実施形態は、メモリデバイスを用いて論理演算を実行する情報処理システム1に関する。以下に、第1実施形態に係る情報処理システム1について説明する。
【0009】
<1-1>構成
まず、第1実施形態に係る情報処理システム1の構成について説明する。
【0010】
<1-1-1>情報処理システム1の構成
図1は、第1実施形態に係る情報処理システム1の構成の一例を示すブロック図である。図1に示すように、情報処理システム1は、例えば、半導体装置10、及びホスト装置20とを有する。半導体装置10は、ホスト装置20の指示に基づいて動作する。ホスト装置20は、例えば、PC(Personal Computer)などの情報端末である。半導体装置10及びホスト装置20は、互いに通信可能に構成される。例えば、ホスト装置20は、半導体装置10に対して入力データ、コマンド、クエリなどを送信する。半導体装置10は、ホスト装置20に対して出力データ、クエリに対する返答などを送信する。
(【0011】以降は省略されています)
この特許をJ-PlatPat(特許庁公式サイト)で参照する
関連特許
キオクシア株式会社
メモリシステム
27日前
日本発條株式会社
記録装置
22日前
株式会社ナノバブル研究所
データ消去装置
27日前
ローム株式会社
RAM
20日前
キオクシア株式会社
半導体記憶装置
1か月前
ローム株式会社
メモリ装置
1か月前
キヤノン株式会社
撮像装置
2か月前
キオクシア株式会社
半導体記憶装置
27日前
キオクシア株式会社
記憶装置
29日前
キオクシア株式会社
記憶装置
1か月前
ローム株式会社
半導体記憶装置
1か月前
ローム株式会社
半導体記憶装置
1か月前
株式会社東芝
磁気ヘッド、及び、磁気記録装置
16日前
株式会社東芝
磁気ヘッド、及び、磁気記録装置
1か月前
キオクシア株式会社
記憶装置
29日前
株式会社東芝
磁気ヘッド、及び、磁気記録装置
2か月前
株式会社東芝
磁気ヘッド、及び、磁気記録装置
2か月前
株式会社東芝
磁気ヘッド、及び、磁気記録装置
2か月前
株式会社東芝
磁気ヘッド、及び、磁気記録装置
2か月前
キオクシア株式会社
磁気メモリ
2か月前
ローム株式会社
不揮発性メモリ装置
27日前
ローム株式会社
不揮発性メモリ装置
27日前
ローム株式会社
不揮発性メモリ装置
27日前
キオクシア株式会社
磁気記憶装置
1か月前
キオクシア株式会社
メモリデバイス
27日前
キオクシア株式会社
メモリシステム
28日前
キオクシア株式会社
メモリデバイス
27日前
キオクシア株式会社
半導体記憶装置
1か月前
キオクシア株式会社
半導体記憶装置
27日前
日本発條株式会社
記録装置、カバー、及びカバーの製造方法
21日前
キオクシア株式会社
半導体記憶装置、メモリシステム
28日前
ローム株式会社
不揮発性半導体記憶装置
27日前
ニデックインスツルメンツ株式会社
磁気ヘッドおよびカードリーダ
2か月前
キオクシア株式会社
半導体記憶装置
27日前
株式会社東芝
磁気ディスク装置
1か月前
株式会社東芝
磁気ディスク装置
1か月前
続きを見る
他の特許を見る