TOP
|
特許
|
意匠
|
商標
特許ウォッチ
Twitter
他の特許を見る
公開番号
2025169514
公報種別
公開特許公報(A)
公開日
2025-11-14
出願番号
2024074240
出願日
2024-05-01
発明の名称
車載装置
出願人
株式会社JVCケンウッド
代理人
弁理士法人酒井国際特許事務所
主分類
G11B
33/02 20060101AFI20251107BHJP(情報記憶)
要約
【課題】記録媒体の排出操作を簡便に行うことができる車載装置を提供する。
【解決手段】ディスク挿排口23が前面に設けられた本体部20と、タッチパネル表示部31を有し、本体部20の前面側に、該本体部20に対して傾倒自在に配置されたディスプレイ部30と、を備え、タッチパネル表示部31の所定領域31Aをユーザの手指が触れているか否かを判定するタッチ判定部44と、本体部20に対するディスプレイ部30の角度が所定角度以上に傾倒したか否かを判定する傾倒判定部46と、タッチパネル表示部31の所定領域31Aにユーザの手指が触れつつ、本体部20に対するディスプレイ部30の角度が所定角度以上に傾倒されていることが判定された場合に、本体部20の内部のディスクを外部に排出させるディスク挿排制御部48と、を備える。
【選択図】図3
特許請求の範囲
【請求項1】
記録媒体の挿排口が前面に設けられた本体部と、タッチパネル表示部を有し、前記本体部の前面側に、該本体部に対して傾倒自在に配置されたディスプレイ部と、を備えた車載装置であって、
前記タッチパネル表示部の所定領域をユーザの手指が触れているか否かを判定するタッチ判定部と、
前記本体部に対する前記ディスプレイ部の角度が所定角度以上に傾倒したか否かを判定する傾倒判定部と、
少なくとも前記本体部に対する前記ディスプレイ部の角度が所定角度以上に傾倒した状態で前記所定領域に前記ユーザの手指が触れていることが判定された場合に、前記本体部の内部の前記記録媒体を、前記挿排口を通じて外部に排出させる排出制御部と、
を備える車載装置。
続きを表示(約 510 文字)
【請求項2】
前記ディスプレイ部は、ジャイロセンサを備え、
前記傾倒判定部は、少なくとも前記ジャイロセンサの検知結果に基づき、前記本体部に対する前記ディスプレイ部の角度が所定角度以上に傾倒したか否かを判定する請求項1に記載の車載装置。
【請求項3】
前記ディスプレイ部の高さ方向の一端側に該ディスプレイ部を前記本体部に対して傾倒自在に支持する回動軸を備え、
前記所定領域は、前記回動軸から離れた前記高さ方向の他端側における前記タッチパネル表示部の周縁部に設けられている請求項1または2に記載の車載装置。
【請求項4】
前記排出制御部は、前記タッチパネル表示部の所定領域にユーザの手指が触れつつ、前記本体部に対する前記ディスプレイ部の角度が所定角度以上に傾倒された場合に、前記本体部の内部の前記記録媒体を外部に排出させる請求項1または2に記載の車載装置。
【請求項5】
前記挿排口に前記記録媒体が残った状態で、前記本体部に対する前記ディスプレイ部の角度が所定角度よりも小さくなるように変位させると報知する報知制御部を備える請求項1または2に記載の車載装置。
発明の詳細な説明
【技術分野】
【0001】
本発明は、車載装置に関する。
続きを表示(約 1,500 文字)
【背景技術】
【0002】
従来、CD(Compact Disc)やDVD(Digital Versatile Disc)などのディスク(記録媒体)の挿排口が前面に設けられた本体部と、本体部の前面側に、該本体部に対して傾倒自在に配置されたディスプレイ部と、を備えた車載装置が知られている(例えば、特許文献1参照)。
【先行技術文献】
【特許文献】
【0003】
特開2021-8144号公報
【発明の概要】
【発明が解決しようとする課題】
【0004】
この種の車載装置では、ディスプレイ部の画面サイズが本体部よりも大きく形成されており、このディスプレイ部は、ディスクの挿排口の前方に位置している。従来の構成では、ディスクを排出する際には、ディスプレイ部を手前に手動で傾けて挿排口の前方を開放し、本体部の前面に設けられたディスクイジェクトボタンを操作するといった2段階の工程が必要であった。このため、ディスクの排出操作を簡便に実行するという点で改善の余地があった。
【0005】
本発明は、上記に鑑みてなされたものであって、記録媒体の排出操作を簡便に行うことができる車載装置を提供することを目的とする。
【課題を解決するための手段】
【0006】
上述した課題を解決し、目的を達成するために、本発明にかかる車載装置は、記録媒体の挿排口が前面に設けられた本体部と、タッチパネル表示部を有し、本体部の前面側に、該本体部に対して傾倒自在に配置されたディスプレイ部と、を備え、タッチパネル表示部の所定領域をユーザの手指が触れているか否かを判定するタッチ判定部と、本体部に対するディスプレイ部の角度が所定角度以上に傾倒したか否かを判定する傾倒判定部と、少なくとも本体部に対するディスプレイ部の角度が所定角度以上に傾倒した状態で所定領域にユーザの手指が触れていることが判定された場合に、本体部の内部の記録媒体を、挿排口を通じて外部に排出させる排出制御部と、を備える。
【発明の効果】
【0007】
本発明にかかる車載装置は、記録媒体の排出操作を簡便に行うことができるという効果を奏する。
【図面の簡単な説明】
【0008】
図1は、本実施形態に係る車載装置の外観斜視図である。
図2は、本実施形態に係る車載装置の側面図である。
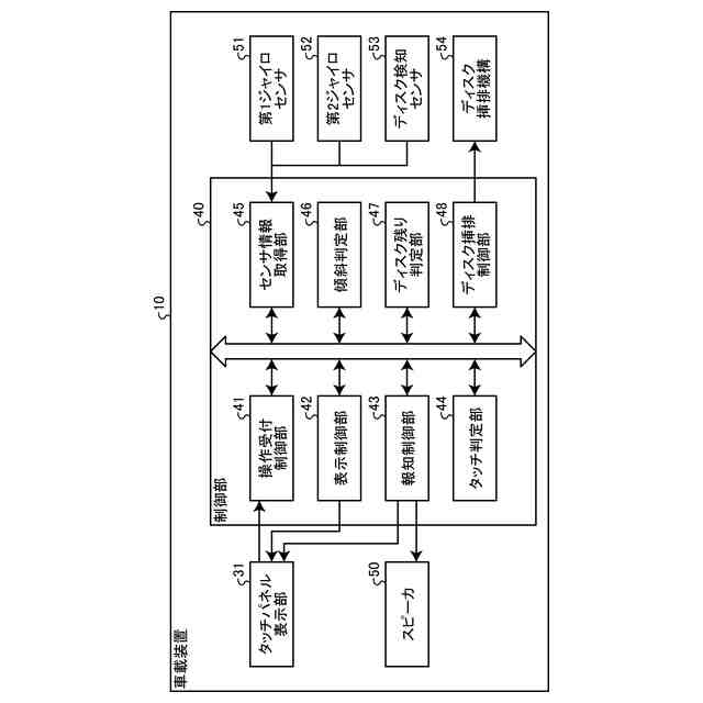
図3は、本実施形態に係る車載装置の機能ブロック図である。
図4は、本実施形態に係る車載装置のディスクの排出動作の手順を示すフローチャートである。
【発明を実施するための形態】
【0009】
以下、発明を実施するための形態(以下、実施形態という)につき図面を参照しつつ詳細に説明する。なお、下記の実施形態により本発明が限定されるものではない。また、下記実施形態における構成要素には、当業者が容易に想定できるもの、実質的に同一のもの、いわゆる均等の範囲のものが含まれる。さらに、下記実施形態で開示した構成要素は適宜組み合わせることが可能である。
【0010】
図1は、本実施形態に係る車載装置の外観斜視図である。図2は、本実施形態に係る車載装置の側面図である。図3は、本実施形態に係る車載装置の機能ブロック図である。図1に示すように、本実施形態の車載装置10は、例えば、車両のダッシュボードに設置されるナビゲーションシステムやオーディオシステムである。車載装置10は、本体部20と、ディスプレイ部30と、を有している。
(【0011】以降は省略されています)
この特許をJ-PlatPat(特許庁公式サイト)で参照する
関連特許
株式会社JVCケンウッド
車載装置
6日前
株式会社JVCケンウッド
表示装置
8日前
株式会社JVCケンウッド
表示装置
8日前
株式会社JVCケンウッド
表示装置
8日前
株式会社JVCケンウッド
仮想空間制御システムおよび仮想空間制御方法
13日前
株式会社JVCケンウッド
取得装置および情報収集システム
13日前
株式会社JVCケンウッド
ゴミ廃棄支援装置及びゴミ廃棄支援方法
13日前
株式会社JVCケンウッド
情報処理装置、情報処理方法及びプログラム
今日
株式会社JVCケンウッド
機械学習装置、機械学習方法、および機械学習プログラム
8日前
株式会社JVCケンウッド
画像符号化装置、画像符号化方法及び画像符号化プログラム、並びに画像復号化装置、画像復号化方法及び画像復号化プログラム、格納方法、伝送方法
2日前
日本発條株式会社
記録装置
1か月前
RAMXEED株式会社
記憶装置
15日前
株式会社ナノバブル研究所
データ消去装置
1か月前
ローム株式会社
RAM
1か月前
キオクシア株式会社
半導体記憶装置
1か月前
ローム株式会社
メモリ装置
1か月前
キオクシア株式会社
記憶装置
1か月前
キオクシア株式会社
記憶装置
1か月前
キオクシア株式会社
半導体記憶装置
1か月前
ローム株式会社
半導体記憶装置
1か月前
キオクシア株式会社
記憶装置
1か月前
ローム株式会社
半導体メモリ装置
15日前
株式会社東芝
磁気ヘッド、及び、磁気記録装置
1か月前
株式会社東芝
磁気ヘッド、及び、磁気記録装置
2か月前
ローム株式会社
半導体記憶装置
1か月前
ローム株式会社
不揮発性メモリ装置
1か月前
ローム株式会社
不揮発性メモリ装置
1か月前
ローム株式会社
不揮発性メモリ装置
1か月前
キオクシア株式会社
磁気記憶装置
1か月前
キオクシア株式会社
メモリデバイス
1か月前
キオクシア株式会社
メモリデバイス
1か月前
キオクシア株式会社
半導体記憶装置
2か月前
キオクシア株式会社
メモリシステム
1か月前
株式会社JVCケンウッド
車載装置
6日前
キオクシア株式会社
半導体記憶装置
1か月前
キオクシア株式会社
半導体記憶装置
1か月前
続きを見る
他の特許を見る