TOP
|
特許
|
意匠
|
商標
特許ウォッチ
Twitter
他の特許を見る
10個以上の画像は省略されています。
公開番号
2025156361
公報種別
公開特許公報(A)
公開日
2025-10-14
出願番号
2025116798,2025539995
出願日
2025-07-10,2025-03-27
発明の名称
モータの製造装置及びモータの製造方法
出願人
日本発條株式会社
代理人
弁理士法人太陽国際特許事務所
主分類
H02K
15/121 20250101AFI20251002BHJP(電力の発電,変換,配電)
要約
【課題】所望の温度制御を実現することが可能なモータの製造装置及びモータの製造方法を提供すること。
【解決手段】モータの製造装置は、複数の樹脂充填部を含むモータコアを軸方向から保持する金型と、前記金型に形成されその一端が前記樹脂充填部に連通する樹脂材充填路に樹脂材を供給する樹脂材供給装置と、前記金型に保持された前記モータコアを前記軸方向と交差する方向の内側及び外側の少なくとも一方から加熱する加熱器と、を含む。
【選択図】図1
特許請求の範囲
【請求項1】
複数の樹脂充填部と、中央部に軸方向に沿って延びる貫通孔と、を含むモータコアを前記軸方向から保持する金型と、
前記金型に形成されその一端が前記樹脂充填部に連通する樹脂材充填路に樹脂材を供給する樹脂材供給装置と、
前記金型に保持された前記モータコアを前記軸方向と交差する方向の内側及び外側の少なくとも一方から加熱する加熱器と、を備え、
前記加熱器は、前記モータコアの前記貫通孔に挿入される支柱と、前記支柱内に配設され前記モータコアを加熱するための熱源として機能する第1のヒータと、を備える第1の加熱器を備える、
モータの製造装置。
続きを表示(約 1,300 文字)
【請求項2】
前記加熱器は、前記金型に保持された前記モータコアの前記軸方向と交差する外周囲に配設されて前記モータコアを加熱する第2の加熱器をさらに備える、
請求項1に記載のモータの製造装置。
【請求項3】
前記第2の加熱器は、内部に熱源を備える複数のブロック体と、前記複数のブロック体を前記モータコアに近接する方向及び離隔する方向に移動させるアクチュエータと、を備える、
請求項2に記載のモータの製造装置。
【請求項4】
前記モータコアは、中央部に前記軸方向に沿って延びる貫通孔を備えると共に、前記貫通孔の周囲に前記貫通孔と並行に延びる複数の小孔を備え、
前記加熱器は、前記小孔に挿入されて前記モータコアを加熱する第3の加熱器をさらに備える、
請求項1に記載のモータの製造装置。
【請求項5】
金型を用いて、複数の樹脂充填部及び中央部に軸方向に沿って延びる貫通孔を含むモータコアを前記軸方向から保持する工程と、
前記モータコアを予熱する工程と、
樹脂材供給装置から、前記金型に形成されその一端部が前記樹脂充填部に連通する樹脂材充填路に樹脂材を供給する工程と、
樹脂充填部に充填された前記樹脂材を硬化させる工程と、
加熱器を用いて、前記金型に保持された前記モータコアを前記軸方向と交差する方向の内側及び外側の少なくとも一方から加熱する工程であって、少なくとも、前記樹脂材充填路に樹脂材を供給する工程、前記樹脂材を硬化させる工程、及び、前記モータコアを予熱する工程のいずれかに1つの工程において、前記モータコアの加熱を行い、且つ、前記加熱器は、前記モータコアの前記貫通孔に挿入される支柱と、前記支柱内に配設され前記モータコアを加熱するための熱源として機能する第1のヒータと、を備える第1の加熱器を備える、工程と、を備える、
モータの製造方法。
【請求項6】
前記加熱器は、
前記金型に保持された前記モータコアの前記軸方向と交差する外周囲に配設されて前記モータコアを加熱する第2の加熱器、及び
前記貫通孔の周囲に前記貫通孔と並行に延びる複数の小孔に挿入されて前記モータコアを加熱する第3の加熱器、のうちの少なくとも1つをさらに備える、
請求項5に記載のモータの製造方法。
【請求項7】
前記加熱器を用いて、前記金型に保持された前記モータコアを前記軸方向と交差する方向の内側及び外側の少なくとも一方から加熱する工程は、前記金型に設けられた金型加熱器を用いて、前記金型に保持された前記モータコアを前記軸方向から加熱する工程をさらに含む、
請求項5に記載のモータの製造方法。
【請求項8】
前記加熱器は、前記軸方向に沿って配設された前記モータコアの温度を測定する複数の温度センサを備え、
前記加熱器を用いて、前記金型に保持された前記モータコアを前記軸方向と交差する方向の内側及び外側の少なくとも一方から加熱する工程は、前記複数の温度センサの測定結果に基づいて前記加熱器の温度を制御する、
請求項5に記載のモータの製造方法。
発明の詳細な説明
【技術分野】
【0001】
本開示の技術は、モータの製造装置及びモータの製造方法に関する。
続きを表示(約 1,300 文字)
【背景技術】
【0002】
回転電機には、モータコア、例えばロータコアに永久磁石を取り付けたものがある。モータコアに永久磁石を取り付ける場合には、モータコアに設けられたスロット内に永久磁石を挿入した後、周囲に樹脂材を充填し硬化させることで固定する方法が知られている。
【0003】
例えば、特許第4855123号には、樹脂溜めポット内で溶融している樹脂原料をプランジャで押し出し磁石挿入孔内に注入させた後、金型の加熱手段で加熱して硬化させることで、磁石挿入孔の永久磁石を固定することが記載されている。
【発明の概要】
【発明が解決しようとする課題】
【0004】
上記特許第4855123号に記載のもののように、モータコアのスロット内に永久磁石を取り付ける装置においては、モータコアの予熱や樹脂材の硬化のための加熱に、金型に設けられた加熱手段を用いるのが一般的である。しかし、金型に保持されるモータコアが大型で、例えばその軸方向長さが長いと、モータコアの軸方向中央部分は金型から離れた位置で支持されるため、温度分布にムラが生じ、所望の温度制御を実現できない可能性がある。
【0005】
本開示は、モータコア全体の所望の温度制御を実現することが可能なモータの製造装置及びモータの製造方法を提供する。
【課題を解決するための手段】
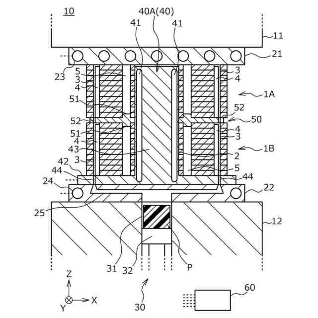
【0006】
本開示の第1の態様に係るモータの製造装置は、複数の樹脂充填部を含むモータコアを軸方向から保持する金型と、前記金型に形成されその一端が前記樹脂充填部に連通する樹脂材充填路に樹脂材を供給する樹脂材供給装置と、前記金型に保持された前記モータコアを前記軸方向と交差する方向の内側及び外側の少なくとも一方から加熱する加熱器と、を含む。
【0007】
このようなモータの製造装置においては、加熱器によってモータコアがその内側及び外側の少なくとも一方から加熱されるため、モータコアの軸方向の全長にわたって均等に加熱することができ、モータコア全体の温度制御が容易となる。
【0008】
本開示の第2の態様に係るモータの製造装置は、上記本開示の第1の態様に係るモータの製造装置において、前記モータコアは、中央部に前記軸方向に沿って延びる貫通孔を備え、前記加熱器は、前記モータコアの前記貫通孔に挿入されて前記モータコアを加熱する第1の加熱器を含む。
【0009】
このようなモータの製造装置においては、モータコアが第1の加熱器によりその内側から加熱されることで、モータコアの軸方向の全長にわたって均等に加熱することができ、モータコア全体の温度制御が容易となる。
【0010】
本開示の第3の態様に係るモータの製造装置は、上記本開示の第1又は第2の態様に係るモータの製造装置において、前記加熱器は、前記金型に保持された前記モータコアの前記軸方向と交差する外周囲に配設されて前記モータコアを加熱する第2の加熱器を含む。
(【0011】以降は省略されています)
この特許をJ-PlatPat(特許庁公式サイト)で参照する
関連特許
日本発條株式会社
積層体
1か月前
日本発條株式会社
積層体
1か月前
日本発條株式会社
記録装置
1か月前
日本発條株式会社
支持構造物
1か月前
日本発條株式会社
支持構造物
1か月前
日本発條株式会社
車両用シート
1か月前
日本発條株式会社
車両用シート
1か月前
日本発條株式会社
車両用シート
1か月前
日本発條株式会社
車両用シート
1か月前
日本発條株式会社
車両用シート
1か月前
日本発條株式会社
車両用シート
1か月前
日本発條株式会社
車両用立寝装置
1か月前
日本発條株式会社
車両用リアシート
1か月前
日本発條株式会社
車両用シート装置
1か月前
日本発條株式会社
シート用操作装置
1か月前
日本発條株式会社
車両用シート装置
1か月前
日本発條株式会社
コンタクトプローブ
1か月前
日本発條株式会社
コンタクトプローブ
1か月前
日本発條株式会社
車両用ハンモック装置
1か月前
日本発條株式会社
接合体および接合方法
1か月前
日本発條株式会社
車両用シートフレーム
1日前
日本発條株式会社
シートカバーの固定方法
1か月前
日本発條株式会社
ハーネス固定位置の識別構造
25日前
日本発條株式会社
シートカバー及び車両用シート
1か月前
日本発條株式会社
ジョー組立体及びその把持面構造
1日前
日本発條株式会社
車両用シートの操作アシスト構造
1か月前
日本発條株式会社
ケーブルユニット及びその製造方法
1日前
日本発條株式会社
介在物評価方法及び試験片の製造方法
29日前
日本発條株式会社
制御装置、制御方法、及び、プログラム
1か月前
日本発條株式会社
記録装置、カバー、及びカバーの製造方法
1か月前
日本発條株式会社
駐車用パレット及びこれを有する駐車装置
1か月前
日本発條株式会社
リヤシートクッション及び車両用リヤシート
1か月前
日本発條株式会社
車両用シートのアームレスト及び車両用シート
1か月前
日本発條株式会社
チェーン、チェーン収容装置、及び、駐車装置
29日前
日本発條株式会社
シートクッションスプリング及び車両用シート
1か月前
日本発條株式会社
面状ヒータの製造方法、面状ヒータ及び加熱装置
1か月前
続きを見る
他の特許を見る