TOP
|
特許
|
意匠
|
商標
特許ウォッチ
Twitter
他の特許を見る
10個以上の画像は省略されています。
公開番号
2025150332
公報種別
公開特許公報(A)
公開日
2025-10-09
出願番号
2024051154
出願日
2024-03-27
発明の名称
車両用立寝装置
出願人
日本発條株式会社
代理人
弁理士法人太陽国際特許事務所
主分類
B60N
2/34 20060101AFI20251002BHJP(車両一般)
要約
【課題】車両の乗員が立位姿勢で仮眠等をとることができる車両用立寝装置を得る。
【解決手段】車両用立寝装置10は、乗員Pが着座可能な通常状態と、立位姿勢の乗員Pを支持可能な立寝使用状態とに変形可能な車両用シート12を含んで構成されている。車両用シート12には、立位姿勢の乗員Pの足裏Rを下方側から支持する第1支持部28と、立位姿勢の乗員Rの膝部Kを前方側から支持する第2支持部36と、立位姿勢の乗員Pの臀部Bを下方側から支持する第3支持部52と、立位姿勢の乗員Pの腕部A及び頭部Hを下方側から支持する第4支持部58とが設けられている。
【選択図】図2
特許請求の範囲
【請求項1】
車両の乗員が着座可能な通常状態と、立位姿勢の乗員の少なくとも下半身を支持可能な立寝使用状態とに変形可能な車両用シートを含んで構成された車両用立寝装置であって、
前記車両用シートに設けられ、立位姿勢の乗員の足裏を下方側から支持する第1支持部と、
前記車両用シートに設けられ、立位姿勢の乗員の膝部を前方側から支持する第2支持部と、
前記車両用シートに設けられ、立位姿勢の乗員の臀部を下方側から支持する第3支持部と、
前記車両用シート又は前記車両の天井部に設けられ、立位姿勢の乗員の腕部及び頭部を下方側から支持する第4支持部と、
を備えた車両用立寝装置。
続きを表示(約 1,200 文字)
【請求項2】
前記第2支持部は、
前記車両用シートのシートクッションと、
前記シートクッションを、乗員が着座可能な通常位置と前記膝部を支持可能な膝部支持位置との間で変位させるクッション変位機構と、
を有する請求項1に記載の車両用立寝装置。
【請求項3】
前記第1支持部は、
前記車両用シートのフットレストと、
前記フットレストを、前記車両用シートの前端部に格納される格納位置と前記足裏を支持可能な足裏支持位置との間で変位させるフットレスト変位機構と、
を有する請求項2に記載の車両用立寝装置。
【請求項4】
前記第3支持部は、
前記車両用シートのアームレストと、
前記アームレストを、前記車両用シートのシートバックの側部に格納される格納位置と前記臀部を支持可能な臀部支持位置との間で変位させるアームレスト変位機構と、
を有する請求項2又は請求項3に記載の車両用立寝装置。
【請求項5】
前記第4支持部は、
前記腕部及び前記頭部を支持するための支持板と、
前記支持板を、前記車両用シートのシートバックの後方に格納される格納位置と前記腕部及び前記頭部を支持可能な上昇位置との間で変位させる支持板変位機構と、
を有する請求項2又は請求項3に記載の車両用立寝装置。
【請求項6】
前記第1支持部は、
前記車両用シートのシートバックの下部を構成するバック下部と、
前記バック下部を、前記車両用シートのシートクッションに着座した乗員の背部を支持可能な通常位置と前記足裏を支持可能な足裏支持位置との間で変位させるバック下部変位機構と、
を有する請求項2に記載の車両用立寝装置。
【請求項7】
前記第3支持部は、
前記車両用シートのシートバックの上部を構成するバック上部と、
前記バック上部を、前記車両用シートのシートクッションに着座した乗員の背部を支持可能な通常位置と前記臀部を支持可能な臀部支持位置との間で変位させるバック上部変位機構と、
を有する請求項6に記載の車両用立寝装置。
【請求項8】
前記第4支持部は、
前記腕部及び前記頭部を支持するための支持板と、
前記支持板を、前記車両用シートのシートバックの後方に格納される格納位置と前記腕部及び前記頭部を支持可能な上昇位置との間で変位させる支持板変位機構と、
を有する請求項6又は請求項7に記載の車両用立寝装置。
【請求項9】
前記第4支持部は、前記車両の天井部に設けられた収納庫のドアであり、
前記ドアは、前記収納庫の開口部を閉塞する閉塞位置と、前記開口部を開放し且つ前記腕部及び前記頭部を支持可能な開放位置との間で変位可能とされる請求項6又は請求項7に記載の車両用立寝装置。
発明の詳細な説明
【技術分野】
【0001】
本発明は、車両の乗員が立位姿勢で仮眠等をとるための車両用立寝装置に関する。
続きを表示(約 1,900 文字)
【背景技術】
【0002】
下記特許文献1には、トラック等のキャブオーバー型車両に適した車両用シート構造が開示されている。この車両用シート構造では、運転室内に車幅方向に離間配置された一対のシートと、一方のシートに設けられ、一方のシートのシートバックの背面が他方のシートとは反対側の車幅方向を向くように一方のシートを回転させる第1回転機構と、他方のシートに設けられ、他方のシートのシートバックの背面が一方のシートのシートクッション側を向くように他方のシートを回転させる第2回転機構と、少なくも他方のシートに設けられ、他方のシートのシートバックをその背面側に傾倒させるリクライニング機構と、一方のシートに設けられ、一方のシートを横方向にスライド移動させるスライド機構と、を備えている。これにより、乗員が仮眠等をとるためのベッド面を簡素な構成で形成するようにしている。
【0003】
下記特許文献2には、オフィスワーカー等に適した人体収納用構造体が開示されている。人体収納用構造体は、人体を収納する収納空間を備え、該収納空間に収納した人体を立位状態で支持するように構成されている。人体収納用構造体は、収納空間に収納された人体の重量の少なくとも一部を下方から支持するように人体の臀部を支持する第一支持部と、収納空間に収納された人体の上半身の水平方向における移動を阻止するように上半身を支持する第二支持部と、収納空間に収納された人体の膝部が前方に移動することを阻止するように膝部を支持する第三支持部と、を備えている。これにより、水平方向に広いスペースを必要とすることなく、人体を立位状態で支持するようにしている。
【先行技術文献】
【特許文献】
【0004】
特開2021-142771号公報
特開2023-29509号公報
【発明の概要】
【発明が解決しようとする課題】
【0005】
上記特許文献1に開示された先行技術では、乗員がベッド面に身体を横たえることから、仮眠が熟睡に変わり易いため、乗員がトラックの配送予定時間等を守れずに寝過ごす事態が発生する。一方、上記特許文献2に開示された人体収納用構造体では、利用者が立位姿勢で脱力してもリラックス可能であり、立位姿勢のままで仮眠とることができるため、熟睡せずに短時間でリフレッシュする効果が得られる。しかしながら、上記特許文献2に開示された人体収納用構造体は、車両への適用について考慮されていない。
【0006】
本発明は、車両の乗員が立位姿勢で仮眠等をとることができる車両用立寝装置を得ることを目的とする。
【課題を解決するための手段】
【0007】
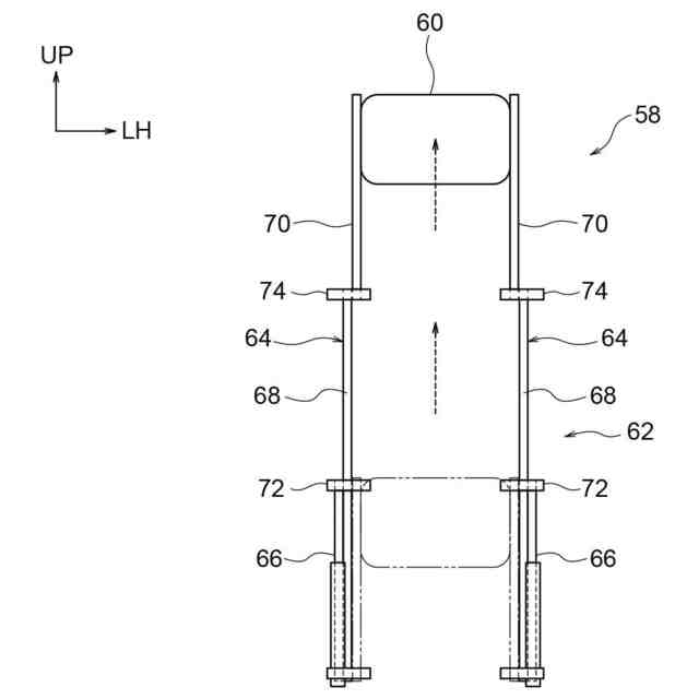
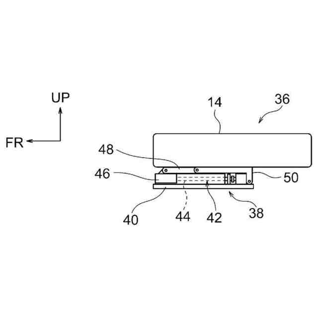
第1の態様の車両用立寝装置は、車両の乗員が着座可能な通常状態と、立位姿勢の乗員の少なくとも下半身を支持可能な立寝使用状態とに変形可能な車両用シートを含んで構成された車両用立寝装置であって、前記車両用シートに設けられ、立位姿勢の乗員の足裏を下方側から支持する第1支持部と、前記車両用シートに設けられ、立位姿勢の乗員の膝部を前方側から支持する第2支持部と、前記車両用シートに設けられ、立位姿勢の乗員の臀部を下方側から支持する第3支持部と、前記車両用シート又は前記車両の天井部に設けられ、立位姿勢の乗員の腕部及び頭部を下方側から支持する第4支持部と、を備えている。
【0008】
なお、請求項1に記載の「立位姿勢」には、半立位姿勢も含まれる。
【0009】
第1の態様の車両用立寝装置は、車両の乗員が着座可能な通常状態と、立位姿勢の乗員の少なくとも下半身を支持可能な立寝使用状態とに変形可能な車両用シートを含んで構成されている。この車両用シートには、立位姿勢の乗員の足裏を下方側から支持する第1支持部と、立位姿勢の乗員の膝部を前方側から支持する第2支持部と、立位姿勢の乗員の臀部を下方側から支持する第3支持部とが設けられている。さらに、この車両用立寝装置では、車両用シート又は車両の天井部には、立位姿勢の乗員の腕部及び頭部を下方側から支持する第4支持部が設けられている。これにより、乗員が立位姿勢で仮眠等をとることができる。
【0010】
第2の態様の車両用立寝装置は、第1の態様において、前記第2支持部は、前記車両用シートのシートクッションと、前記シートクッションを、乗員が着座可能な通常位置と前記膝部を支持可能な膝部支持位置との間で変位させるクッション変位機構と、を有する。
(【0011】以降は省略されています)
この特許をJ-PlatPat(特許庁公式サイト)で参照する
関連特許
日本発條株式会社
積層体
1か月前
日本発條株式会社
積層体
1か月前
日本発條株式会社
記録装置
1か月前
日本発條株式会社
支持構造物
1か月前
日本発條株式会社
支持構造物
1か月前
日本発條株式会社
ヒータ装置
1か月前
日本発條株式会社
車両用シート
2か月前
日本発條株式会社
車両用シート
1か月前
日本発條株式会社
車両用シート
1か月前
日本発條株式会社
車両用シート
1か月前
日本発條株式会社
車両用シート
1か月前
日本発條株式会社
車両用シート
1か月前
日本発條株式会社
クリップ部材
2か月前
日本発條株式会社
車両用シート
2か月前
日本発條株式会社
車両用シート
1か月前
日本発條株式会社
車両用支持装置
1か月前
日本発條株式会社
車両用立寝装置
1か月前
日本発條株式会社
車両用リアシート
1か月前
日本発條株式会社
車両用シート装置
1か月前
日本発條株式会社
車両用シート装置
1か月前
日本発條株式会社
車両用リアシート
1か月前
日本発條株式会社
シート用操作装置
1か月前
日本発條株式会社
車両用リアシート
1か月前
日本発條株式会社
コンタクトプローブ
1か月前
日本発條株式会社
インサート成形部品
2か月前
日本発條株式会社
コンタクトプローブ
1か月前
日本発條株式会社
接合体および接合方法
1か月前
日本発條株式会社
車両用シートフレーム
17日前
日本発條株式会社
車両用ハンモック装置
1か月前
日本発條株式会社
シートカバーの固定方法
1か月前
日本発條株式会社
ハーネス固定位置の識別構造
1か月前
日本発條株式会社
固定子鉄心片の打ち抜き方法
2か月前
日本発條株式会社
アームレスト及び車両用シート
1か月前
日本発條株式会社
プローブホルダおよび検査方法
2か月前
日本発條株式会社
アームレスト及び車両用シート
4日前
日本発條株式会社
シートカバー及び車両用シート
1か月前
続きを見る
他の特許を見る