TOP
|
特許
|
意匠
|
商標
特許ウォッチ
Twitter
他の特許を見る
公開番号
2025145368
公報種別
公開特許公報(A)
公開日
2025-10-03
出願番号
2024045505
出願日
2024-03-21
発明の名称
シート用操作装置
出願人
日本発條株式会社
代理人
弁理士法人太陽国際特許事務所
主分類
B60N
2/90 20180101AFI20250926BHJP(車両一般)
要約
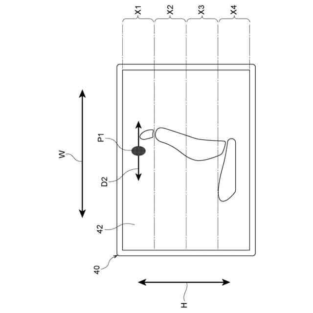
【課題】ユーザが操作部を目視しなくても容易にシートの各部位を操作することができるシート用操作装置を得る。
【解決手段】シート用操作装置10は、ユーザの操作指の接触により操作可能な操作部40と、操作部40において行われるユーザの操作指の動作に基づいて、シート12の各部位の駆動を制御する制御部50と、を備え、制御部50は、操作部40における操作指の接触位置に基づいて、接触位置で操作可能なシート12の部位を通知するための通知信号を出力する。
【選択図】図1
特許請求の範囲
【請求項1】
ユーザの操作指の接触により操作可能な操作部と、
前記操作部において行われる前記操作指の動作に基づいて、シートの各部位の駆動を制御する制御部と、を備え、
前記制御部は、前記操作部における前記操作指の接触位置に基づいて、前記接触位置で操作可能な前記シートの部位を通知するための通知信号を出力する、
シート用操作装置。
続きを表示(約 620 文字)
【請求項2】
前記制御部は、前記操作部に対して、前記操作指が第1方向に沿ってスライドする動作が行われることを条件に、前記接触位置に基づく前記通知信号の出力を開始する、
請求項1に記載のシート用操作装置。
【請求項3】
前記制御部は、前記操作部に対して、前記操作指が前記第1方向と異なる第2方向に沿ってスライドする動作に基づいて、操作可能な前記シートの部位を駆動させる、
請求項2に記載のシート用操作装置。
【請求項4】
前記制御部は、前記操作部に対して、前記操作指が前記第2方向に沿ってスライドする動作が行われた後、前記操作部から前記操作指が離れることを条件に、操作可能な前記シートの部位に対する操作の受付を終了する、
請求項3に記載のシート用操作装置。
【請求項5】
前記制御部は、前記通知信号として、前記シートの各部位に搭載された振動装置を作動させる出力信号、前記シートの各部位を駆動させる駆動機構を微作動させる出力信号、及びスピーカを介して前記シートの各部位を音声で通知する出力信号の少なくとも一つを出力する、
請求項1~請求項4の何れか1項に記載のシート用操作装置。
【請求項6】
前記操作部は、車両の室内に設けられたタッチパネル式のディスプレイとされている、
請求項1~請求項4の何れか1項に記載のシート用操作装置。
発明の詳細な説明
【技術分野】
【0001】
本発明は、シート用操作装置に関する。
続きを表示(約 1,300 文字)
【背景技術】
【0002】
特許文献1には、操作パネルに対する車両用シートの各部位の駆動にそれぞれ対応した視認不要な個別の操作の検知に基づいてスライド用モータ及びリクライニング用モータを駆動する制御部を備える車両用シート制御装置が開示されている。
【先行技術文献】
【特許文献】
【0003】
特開2020-079056号公報
【発明の概要】
【発明が解決しようとする課題】
【0004】
特許文献1に開示された技術のように、シートの各部位の駆動に対応した複数の駆動機構を操作する際に、例えば、シートバックを大きく後傾させ、リラックスした姿勢で着座している状態では、操作部を目視しながらの操作が困難な場合が想定される。このため、ユーザが操作部を目視しなくても容易に車両用シートの各部位を操作することができることが望ましい。
【0005】
本発明は上記事実を考慮し、ユーザが操作部を目視しなくても容易にシートの各部位を操作することができるシート用操作装置を得ることを目的とする。
【課題を解決するための手段】
【0006】
請求項1に記載の本発明に係るシート用操作装置は、ユーザの操作指の接触により操作可能な操作部と、前記操作部において行われる前記操作指の動作に基づいて、シートの各部位の駆動を制御する制御部と、を備え、前記制御部は、前記操作部における前記操作指の接触位置に基づいて、前記接触位置で操作可能な前記シートの部位を通知するための通知信号を出力する。
【0007】
請求項1に記載の本発明に係るシート用操作装置では、制御部は、前記操作部における前記操作指の接触位置に基づいて、前記接触位置で操作可能な前記シートの部位を通知するための通知信号を出力する。これにより、ユーザが操作部を目視しなくても、通知信号の出力により操作可能なシートの部位が分かるため、容易にシートの各部位を操作することができる。
【0008】
請求項2に記載の本発明に係るシート用操作装置は、請求項1に記載の構成において、前記制御部は、前記操作部に対して、前記操作指が第1方向に沿ってスライドする動作が行われることを条件に、前記接触位置に基づく前記通知信号の出力を開始する。
【0009】
請求項2に記載の本発明に係るシート用操作装置では、ユーザの操作指が第1方向に沿ってスライドする動作が行われることを条件に、接触位置に基づく通知信号の出力を開始する。これにより、通知信号の出力を開始するにあたり、ユーザの意思を確認することができるので、ユーザの操作指が意図せずに操作部へ接触することによる通知の誤作動を抑制することができる。
【0010】
請求項3に記載の本発明に係るシート用操作装置は、請求項2に記載の構成において、前記制御部は、前記操作部に対して、前記操作指が前記第1方向と異なる第2方向に沿ってスライドする動作に基づいて、操作可能な前記シートの部位を駆動させる。
(【0011】以降は省略されています)
この特許をJ-PlatPat(特許庁公式サイト)で参照する
関連特許
日本発條株式会社
支持構造物
1か月前
日本発條株式会社
支持構造物
1か月前
日本発條株式会社
車両用シート
1か月前
日本発條株式会社
車両用シート
1か月前
日本発條株式会社
車両用シート
1か月前
日本発條株式会社
車両用シート
1か月前
日本発條株式会社
車両用立寝装置
1か月前
日本発條株式会社
車両用シート装置
1か月前
日本発條株式会社
車両用シート装置
1か月前
日本発條株式会社
コンタクトプローブ
1か月前
日本発條株式会社
コンタクトプローブ
1か月前
日本発條株式会社
車両用シートフレーム
17日前
日本発條株式会社
シートカバーの固定方法
1か月前
日本発條株式会社
ハーネス固定位置の識別構造
1か月前
日本発條株式会社
アームレスト及び車両用シート
4日前
日本発條株式会社
ジョー組立体及びその把持面構造
17日前
日本発條株式会社
車両用シートの操作アシスト構造
1か月前
日本発條株式会社
ケーブルユニット及びその製造方法
17日前
日本発條株式会社
介在物評価方法及び試験片の製造方法
1か月前
日本発條株式会社
制御装置、制御方法、及び、プログラム
1か月前
日本発條株式会社
記録装置、カバー、及びカバーの製造方法
1か月前
日本発條株式会社
駐車用パレット及びこれを有する駐車装置
1か月前
日本発條株式会社
チェーン、チェーン収容装置、及び、駐車装置
1か月前
日本発條株式会社
面状ヒータの製造方法、面状ヒータ及び加熱装置
1か月前
日本発條株式会社
車両用シートのブロア取付構造及び車両用シート
17日前
日本発條株式会社
設計探査方法、設計探査プログラムおよび設計探査装置
1か月前
日本発條株式会社
サスペンション装置のロック機構及びサスペンション装置
1か月前
日本発條株式会社
モータの製造方法
17日前
日本発條株式会社
ケーブルの進退機構及びこれを用いたエンドエフェクターアッセンブリー
17日前
日本発條株式会社
設計探査方法、設計探査プログラム、設計探査装置および学習済みモデルの生成方法
1か月前
日本発條株式会社
モータの製造装置及びモータの製造方法
1か月前
個人
タイヤレバー
3か月前
個人
前輪キャスター
3か月前
個人
上部一体型自動車
1か月前
個人
ホイルのボルト締結
4か月前
個人
ルーフ付きトライク
3か月前
続きを見る
他の特許を見る