TOP
|
特許
|
意匠
|
商標
特許ウォッチ
Twitter
他の特許を見る
公開番号
2025154529
公報種別
公開特許公報(A)
公開日
2025-10-10
出願番号
2024057583
出願日
2024-03-29
発明の名称
介在物評価方法及び試験片の製造方法
出願人
日本発條株式会社
代理人
個人
,
個人
主分類
G01N
1/28 20060101AFI20251002BHJP(測定;試験)
要約
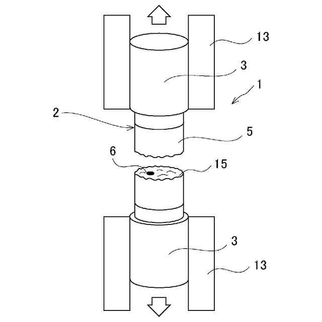
【課題】掴み部と有効部との間の径の変化がほとんど無いような場合であっても、破壊試験において掴み部での破壊をし難くすることが可能な介在物評価方法を提供する。
【解決手段】両端部の掴み部3とこの掴み部3間の中間部2に設けられた有効部5とを備えた金属材料製の試験片1に対して水素チャージを行い、水素チャージされた試験片1に対して破壊試験を行い、破壊の起点となった非金属介在物6の寸法を測定する介在物評価方法であって、試験片1が、線材から切り出されて線材の外面によって構成される外面7を有し、中間部2において外面7から表層8が除去され、少なくとも掴み部3における外面7に水素の侵入を抑制するマスキング11が行われ、少なくとも表層8が除去されている中間部2の一部がマスキング11を行われずに有効部5とされる。
【選択図】図1
特許請求の範囲
【請求項1】
両端部の掴み部と該掴み部間の中間部に設けられた有効部とを備えた金属材料製の試験片に対して水素を侵入させ、
前記水素を侵入させた試験片に対して破壊試験を行い、
前記破壊の起点となった非金属介在物の寸法を測定する介在物評価方法であって、
前記試験片は、金属材料製の線材から切り出され前記線材の外面によって構成される外面を有し、少なくとも前記中間部の一部において前記外面から表層が除去され、少なくとも前記掴み部における前記外面に前記水素の侵入を抑制するマスキングが行われ、少なくとも前記表層が除去されている前記中間部の前記一部が前記マスキングを行われずに前記有効部とされる、
介在物評価方法。
続きを表示(約 990 文字)
【請求項2】
請求項1の介在物評価方法であって、
前記表層の除去は、切削により行われる、
介在物評価方法。
【請求項3】
請求項2の介在物評価方法であって、
前記切削された部分を研磨する、
介在物評価方法。
【請求項4】
請求項1~3の何れか一項の介在物評価方法であって、
前記有効部における前記外面の表面粗さRaは、1μm<Ra<6.2μmである、
介在物評価方法。
【請求項5】
請求項1~3の何れか一項の介在物評価方法であって、
前記試験片は、軸方向に交差する方向の断面形状が円形である、
介在物評価方法。
【請求項6】
請求項2又は3の介在物評価方法であって、
前記表層の除去は、前記中間部の全体にわたって行われ、
前記試験片は、前記掴み部と前記中間部との間に前記表層の除去による段差を有し、
前記マスキングは、前記両端部の前記掴み部から前記段差を超えて前記中間部の一部にわたる、
介在物評価方法。
【請求項7】
請求項6の介在物評価方法であって、
前記段差は、前記掴み部の外径の2.5%以下である、
介在物評価方法。
【請求項8】
請求項7の介在物評価方法であって、
前記段差は、0.3mm以下である、
介在物評価方法。
【請求項9】
請求項1~3の何れか一項の介在物評価方法であって、
前記マスキングは、樹脂被膜である、
介在物評価方法。
【請求項10】
両端部の掴み部と該掴み部間の中間部に設けられた有効部とを備え、水素を侵入させた後に破壊試験が行われる金属材料製の試験片の製造方法であって、
金属材料製の線材から切り出され前記線材の外面によって構成される外面を有し、
少なくとも前記中間部の一部において前記外面から表層が除去され、
少なくとも前記掴み部における前記外面に前記水素の侵入を抑制するマスキングが行われ、
少なくとも前記表層が除去されている前記中間部の前記一部が前記マスキングを行われずに前記有効部とされる、
試験片の製造方法。
発明の詳細な説明
【技術分野】
【0001】
この発明は、金属材料中に含まれる非金属介在物を評価する介在物評価方法及びこれに用いられる試験片の製造方法に関する。
続きを表示(約 1,300 文字)
【背景技術】
【0002】
金属材料においては、その中に含まれる非金属介在物が疲労破壊の起点となることが知られており、非金属介在物を評価することは重要である。
【0003】
従来の介在物評価方法としては、特許文献1のように、水素を侵入させた金属材料製の試験片に対して破壊試験として引張試験を行うものがある。この介在物評価方法では、引張試験によって破壊の起点となった非金属介在物を同定すると共に寸法を測定して評価する。
【0004】
かかる従来の介在物評価方法では、水素の侵入によって引張試験による非金属介在物を起点とする破壊を生じやすくし、非金属介在物の評価を迅速に行わせることができながら、評価の安定性も確保できる。
【0005】
このような介在物評価方法において、特許文献2のように、金属材料である線材から切り出され、線材の外面からなる外面を有する試験片を用いることで、破壊の起点となった非金属介在物の線材外面からの位置情報を得るものもある。
【0006】
しかし、この試験片は、両端部の掴み部と掴み部間の中間部に位置する破壊が予定される有効部との間で径の変化がほとんど無く、一般的なダンベル形状試験片よりも掴み部での破断が発生し易いという問題があった。
【先行技術文献】
【特許文献】
【0007】
特開2009-65789号
特許第7408007号
【発明の概要】
【発明が解決しようとする課題】
【0008】
解決しようとする問題点は、掴み部と有効部との間の径の変化がほとんど無いような場合に、掴み部での破壊が発生し易いという点である。
【課題を解決するための手段】
【0009】
本発明は、両端部の掴み部と該掴み部間の中間部に設けられた有効部とを備えた金属材料製の試験片に対して水素を侵入させ、前記水素を侵入させた試験片に対して破壊試験を行い、前記破壊の起点となった非金属介在物の寸法を測定する介在物評価方法であって、前記試験片は、金属材料製の線材から切り出され前記線材の外面によって構成される外面を有し、少なくとも前記中間部の一部において前記外面から表層が除去され、少なくとも前記掴み部における前記外面に前記水素の侵入を抑制するマスキングが行われ、少なくとも前記表層が除去されている前記中間部の前記一部が前記マスキングを行われずに前記有効部とされる、介在物評価方法を提供する。
【0010】
また、本発明は、両端部の掴み部と該掴み部間の中間部に設けられた有効部とを備え、水素を侵入させた後に破壊試験が行われる金属材料製の試験片の製造方法であって、金属材料製の線材から切り出され前記線材の外面によって構成される外面を有し、少なくとも前記中間部の一部において前記外面から表層が除去され、少なくとも前記掴み部における前記外面に前記水素の侵入を抑制するマスキングが行われ、少なくとも前記表層が除去されている前記中間部の前記一部が前記マスキングを行われずに前記有効部とされる、試験片の製造方法を提供する。
【発明の効果】
(【0011】以降は省略されています)
特許ウォッチbot のツイートを見る
この特許をJ-PlatPat(特許庁公式サイト)で参照する
関連特許
日本発條株式会社
記録装置
1か月前
日本発條株式会社
支持構造物
29日前
日本発條株式会社
支持構造物
29日前
日本発條株式会社
車両用シート
1か月前
日本発條株式会社
車両用シート
29日前
日本発條株式会社
車両用シート
29日前
日本発條株式会社
車両用シート
29日前
日本発條株式会社
車両用シート
1か月前
日本発條株式会社
車両用シート
1か月前
日本発條株式会社
車両用立寝装置
29日前
日本発條株式会社
シート用操作装置
1か月前
日本発條株式会社
車両用シート装置
29日前
日本発條株式会社
車両用シート装置
29日前
日本発條株式会社
コンタクトプローブ
29日前
日本発條株式会社
コンタクトプローブ
29日前
日本発條株式会社
車両用シートフレーム
今日
日本発條株式会社
シートカバーの固定方法
29日前
日本発條株式会社
ハーネス固定位置の識別構造
24日前
日本発條株式会社
シートカバー及び車両用シート
1か月前
日本発條株式会社
車両用シートの操作アシスト構造
29日前
日本発條株式会社
ジョー組立体及びその把持面構造
今日
日本発條株式会社
ケーブルユニット及びその製造方法
今日
日本発條株式会社
介在物評価方法及び試験片の製造方法
28日前
日本発條株式会社
制御装置、制御方法、及び、プログラム
29日前
日本発條株式会社
記録装置、カバー、及びカバーの製造方法
29日前
日本発條株式会社
駐車用パレット及びこれを有する駐車装置
29日前
日本発條株式会社
チェーン、チェーン収容装置、及び、駐車装置
28日前
日本発條株式会社
面状ヒータの製造方法、面状ヒータ及び加熱装置
29日前
日本発條株式会社
車両用シートのブロア取付構造及び車両用シート
今日
日本発條株式会社
設計探査方法、設計探査プログラムおよび設計探査装置
29日前
日本発條株式会社
サスペンション装置のロック機構及びサスペンション装置
1か月前
日本発條株式会社
モータの製造方法
今日
日本発條株式会社
ケーブルの進退機構及びこれを用いたエンドエフェクターアッセンブリー
今日
日本発條株式会社
設計探査方法、設計探査プログラム、設計探査装置および学習済みモデルの生成方法
29日前
日本発條株式会社
モータの製造装置及びモータの製造方法
24日前
日本発條株式会社
研磨装置及び研磨方法、並びに機械部品
1か月前
続きを見る
他の特許を見る