TOP
|
特許
|
意匠
|
商標
特許ウォッチ
Twitter
他の特許を見る
10個以上の画像は省略されています。
公開番号
2025150845
公報種別
公開特許公報(A)
公開日
2025-10-09
出願番号
2024051978
出願日
2024-03-27
発明の名称
面状ヒータの製造方法、面状ヒータ及び加熱装置
出願人
日本発條株式会社
代理人
弁理士法人太陽国際特許事務所
主分類
H05B
3/20 20060101AFI20251002BHJP(他に分類されない電気技術)
要約
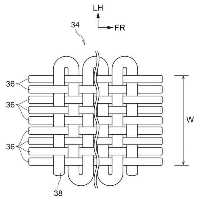
【課題】電気が流れたときに発熱し且つ一方向に沿って並べられた複数の電熱経糸と、電熱経糸とともに帯状の織物を構成する緯糸と、を備える面状ヒータの電熱経糸が断線するおそれを小さくできる面状ヒータの製造方法、面状ヒータ及び加熱装置を得る。
【解決手段】電気が流れたときに発熱し且つ一方向に沿って並べられた複数の電熱経糸と、電熱経糸とともに織物34を構成する1本の緯糸と、を有し且つ一方向に直交する直交方向に延びる帯状体30を、直交方向に搬送する搬送ステップ、及び複数の電熱経糸に接触するように、電極29を帯状体に接続する電極接続ステップ、を有する。
【選択図】図1
特許請求の範囲
【請求項1】
電気が流れたときに発熱し且つ一方向に沿って並べられた複数の電熱経糸と、前記電熱経糸とともに織物を構成する1本の緯糸と、を有し且つ前記一方向に直交する直交方向に延びる帯状体を、前記直交方向に搬送する搬送ステップ、及び
複数の前記電熱経糸に接触するように、電極を前記帯状体に接続する電極接続ステップ、
を有する面状ヒータの製造方法。
続きを表示(約 530 文字)
【請求項2】
前記搬送ステップにおいて搬送される前記帯状体が、前記直交方向に延び且つ一方の面によって前記電熱経糸及び前記緯糸を仮保持する台紙を備え、
前記台紙を前記電熱経糸及び前記緯糸から分離する分離ステップを有する請求項1に記載の面状ヒータの製造方法。
【請求項3】
前記電極が前記一方向に延びる帯状であり、
前記帯状体及び前記電極を、前記電極の幅方向の中央部を前記一方向に通り抜ける直線である切断線に沿って切断する切断ステップを有する請求項1又は請求項2に記載の面状ヒータの製造方法。
【請求項4】
電気が流れたときに発熱し且つ一方向に沿って並べられた複数の電熱経糸と、
前記電熱経糸とともに一方向に直交する直交方向に延びる織物である帯状体を構成する1本の緯糸と、
複数の前記電熱経糸に接続された負極部及び正極部と、
を備える面状ヒータ。
【請求項5】
請求項4に記載された複数の前記面状ヒータと、
複数の前記面状ヒータの前記負極部に接続された負極導電体と、
複数の前記面状ヒータの前記正極部に接続された正極導電体と、
を備える加熱装置。
発明の詳細な説明
【技術分野】
【0001】
本発明は、面状ヒータの製造方法、面状ヒータ及び加熱装置に関する。
続きを表示(約 1,300 文字)
【背景技術】
【0002】
下記特許文献1には、車両用シートの内部に加熱装置として面状ヒータを設けた発明が開示されている。
【先行技術文献】
【特許文献】
【0003】
特開2024-009048号公報
【発明の概要】
【発明が解決しようとする課題】
【0004】
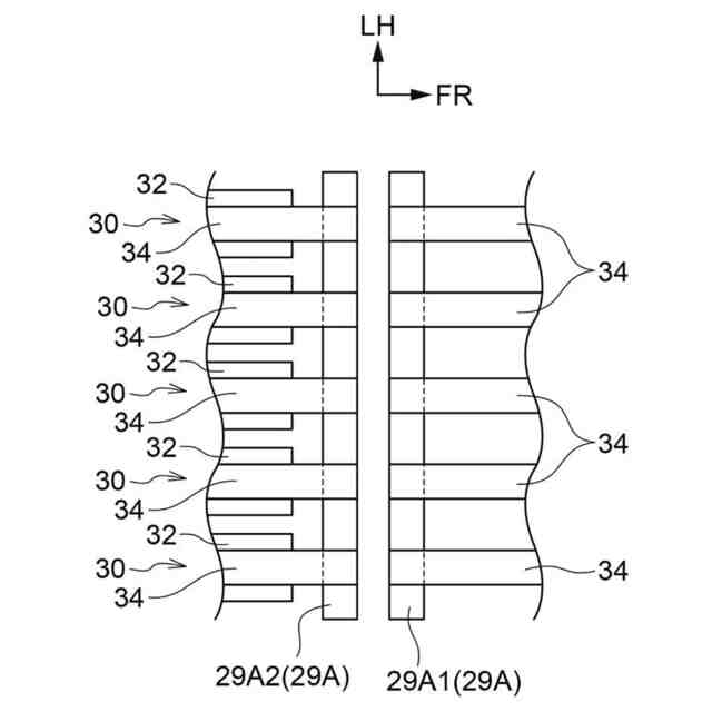
ここで、電気が流れたときに発熱し且つ一方向に沿って並べられた複数の電熱経糸と、電熱経糸とともに帯状の織物を構成する緯糸と、を利用して所定幅の面状ヒータを構成する場合を想定する。
【0005】
このように所定幅の織物である面状ヒータを製造しようとする場合、各電熱経糸が断線するおそれがある。
【0006】
本発明は上記事実を考慮し、電気が流れたときに発熱し且つ一方向に沿って並べられた複数の電熱経糸と、電熱経糸とともに帯状の織物を構成する緯糸と、を備える面状ヒータの電熱経糸が断線するおそれを小さくできる面状ヒータの製造方法、面状ヒータ及び加熱装置を得ることを目的とする。
【課題を解決するための手段】
【0007】
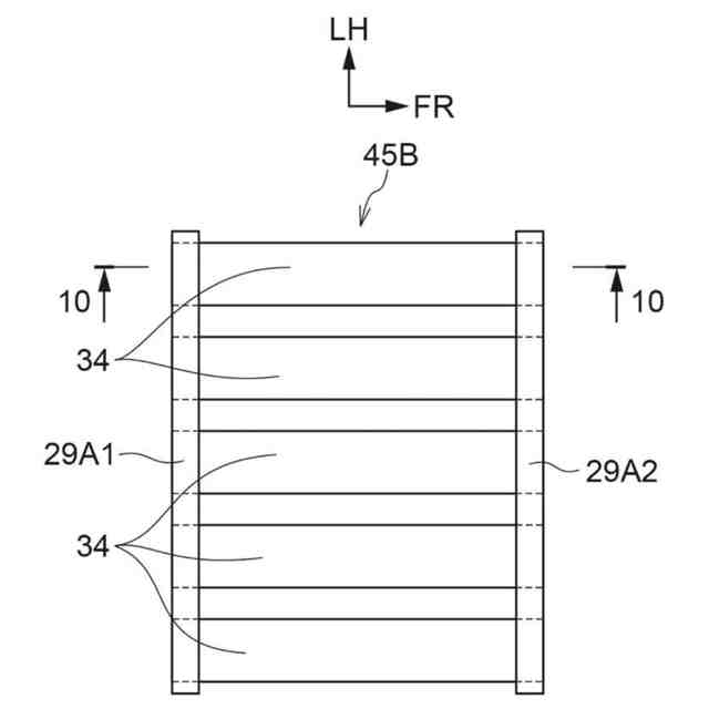
請求項1に記載の発明に係る面状ヒータの製造方法は、電気が流れたときに発熱し且つ一方向に沿って並べられた複数の電熱経糸と、前記電熱経糸とともに織物を構成する1本の緯糸と、を有し且つ前記一方向に直交する直交方向に延びる帯状体を、前記直交方向に搬送する搬送ステップ、及び複数の前記電熱経糸に接触するように、電極を前記帯状体に接続する電極接続ステップ、を有する。
【0008】
請求項1に記載の面状ヒータの製造方法では、電気が流れたときに発熱し且つ一方向に沿って並べられた複数の電熱経糸と、電熱経糸とともに織物を構成する1本の緯糸と、を有し且つ一方向に直交する直交方向に延びる帯状体が直交方向に搬送される。さらに複数の電熱経糸に接触するように、電極が帯状体に接続される。即ち、請求項1に記載の面状ヒータの製造方法は、帯状体を直交方向に沿って切断することにより、帯状体(面状ヒータ)の幅を所定幅に変更する工程を有さない。そのため請求項1に記載の面状ヒータの製造方法は、電気が流れたときに発熱し且つ一方向に沿って並べられた複数の電熱経糸と、電熱経糸とともに帯状の織物を構成する緯糸と、を備える面状ヒータの電熱経糸が断線するおそれを小さくできる。
【0009】
請求項2に記載の発明に係る面状ヒータの製造方法は、請求項1に記載の面状ヒータの製造方法において、前記搬送ステップにおいて搬送される前記帯状体が、前記直交方向に延び且つ一方の面によって前記電熱経糸及び前記緯糸を仮保持する台紙を備え、前記台紙を前記電熱経糸及び前記緯糸から分離する分離ステップを有する。
【0010】
請求項2に記載の面状ヒータの製造方法は、搬送ステップにおいて搬送される帯状体が、直交方向に延び且つ一方の面によって電熱経糸及び緯糸を仮保持する台紙を備え、さらに台紙を電熱経糸及び緯糸から分離する分離ステップを有する。そのため各電熱経糸の位置関係を維持したまま面状ヒータを製造するのが容易である。
(【0011】以降は省略されています)
この特許をJ-PlatPat(特許庁公式サイト)で参照する
関連特許
日本発條株式会社
記録装置
10日前
日本発條株式会社
支持構造物
9日前
日本発條株式会社
支持構造物
9日前
日本発條株式会社
車両用シート
9日前
日本発條株式会社
車両用シート
15日前
日本発條株式会社
車両用シート
10日前
日本発條株式会社
車両用シート
9日前
日本発條株式会社
車両用シート
15日前
日本発條株式会社
車両用シート
9日前
日本発條株式会社
車両用立寝装置
9日前
日本発條株式会社
車両用シート装置
9日前
日本発條株式会社
シート用操作装置
15日前
日本発條株式会社
車両用シート装置
9日前
日本発條株式会社
コンタクトプローブ
9日前
日本発條株式会社
コンタクトプローブ
9日前
日本発條株式会社
シートカバーの固定方法
9日前
日本発條株式会社
ハーネス固定位置の識別構造
4日前
日本発條株式会社
シートカバー及び車両用シート
15日前
日本発條株式会社
車両用シートの操作アシスト構造
9日前
日本発條株式会社
介在物評価方法及び試験片の製造方法
8日前
日本発條株式会社
制御装置、制御方法、及び、プログラム
9日前
日本発條株式会社
駐車用パレット及びこれを有する駐車装置
9日前
日本発條株式会社
記録装置、カバー、及びカバーの製造方法
9日前
日本発條株式会社
リヤシートクッション及び車両用リヤシート
16日前
日本発條株式会社
チェーン、チェーン収容装置、及び、駐車装置
8日前
日本発條株式会社
車両用シートのアームレスト及び車両用シート
17日前
日本発條株式会社
面状ヒータの製造方法、面状ヒータ及び加熱装置
9日前
日本発條株式会社
設計探査方法、設計探査プログラムおよび設計探査装置
9日前
日本発條株式会社
サスペンション装置のロック機構及びサスペンション装置
10日前
日本発條株式会社
設計探査方法、設計探査プログラム、設計探査装置および学習済みモデルの生成方法
9日前
日本発條株式会社
研磨装置及び研磨方法、並びに機械部品
12日前
日本発條株式会社
モータの製造装置及びモータの製造方法
4日前
個人
電子部品の実装方法
17日前
愛知電機株式会社
装柱金具
9日前
日本精機株式会社
回路基板
1か月前
個人
電気式バーナー
1日前
続きを見る
他の特許を見る