TOP
|
特許
|
意匠
|
商標
特許ウォッチ
Twitter
他の特許を見る
公開番号
2025138457
公報種別
公開特許公報(A)
公開日
2025-09-25
出願番号
2024037562
出願日
2024-03-11
発明の名称
プローブホルダおよび検査方法
出願人
日本発條株式会社
代理人
弁理士法人酒井国際特許事務所
主分類
G01R
1/06 20060101AFI20250917BHJP(測定;試験)
要約
【課題】の摩耗を簡易に確認することができるプローブホルダおよび検査方法を提供すること。
【解決手段】本発明に係るプローブホルダは、長手方向の一方の端部側で接触対象の電極とそれぞれ接触するコンタクトプローブを保持するプローブホルダであって、コンタクトプローブを保持するホルダ孔が複数形成され、ホルダ孔には、コンタクトプローブの一方の端部側に開口部が形成され、開口部は、ホルダ孔の開口端から当該ホルダ孔の軸線方向に延びる側壁と、当該側壁の軸線方向の端部であって、開口端とは反対側の端部に設けられる底面部と、を有する。
【選択図】図1
特許請求の範囲
【請求項1】
長手方向の一方の端部側で接触対象の電極と接触するコンタクトプローブを保持するプローブホルダであって、
前記コンタクトプローブを保持するホルダ孔が複数形成され、
前記ホルダ孔には、前記コンタクトプローブの前記一方の端部側に開口部が形成され、
前記開口部は、
前記ホルダ孔の開口端から当該ホルダ孔の軸線方向に延びる側壁と、
当該側壁の前記軸線方向の端部であって、前記開口端とは反対側の端部に設けられる底面部と、
を有する、
ことを特徴とするプローブホルダ。
続きを表示(約 870 文字)
【請求項2】
前記底面部は、前記軸線方向に対して垂直な平面によって形成される、
ことを特徴とする請求項1に記載のプローブホルダ。
【請求項3】
前記底面部は、前記軸線方向に対して傾斜した平面によって形成される、
ことを特徴とする請求項1に記載のプローブホルダ。
【請求項4】
前記開口部は、
前記ホルダ孔の開口端から前記軸線方向に延びる第1開口部と、
前記第1開口部から前記開口端側とは反対側に延びる第2開口部と、
を有し、
前記第1開口部は、
開口端から当該ホルダ孔の軸線方向に延びる第1の側壁と、
当該第1の側壁の前記軸線方向の端部であって、前記開口端とは反対側の端部から内部側に向かって延びる中空板状の第1の底面部と、
からなり、
前記第2開口部は、
前記第1の底面部が形成する開口端から当該ホルダ孔の軸線方向に延びる第2の側壁と、
当該第2の側壁の前記軸線方向の端部であって、前記第1の底面部の開口端とは反対側の端部から内部側に向かって延びる中空板状の第2の底面部と、
からなることを特徴とする請求項1に記載のプローブホルダ。
【請求項5】
前記底面部には、孔が形成され、
前記底面部の前記孔の径は、前記ホルダ孔の摩耗限界に基づいて設定される、
ことを特徴とする請求項1に記載のプローブホルダ。
【請求項6】
長手方向の一方の端部側で接触対象の一つの電極とそれぞれ接触するコンタクトプローブを保持するプローブホルダを検査する検査方法であって、
前記コンタクトプローブを保持するホルダ孔における、前記コンタクトプローブの前記一方の端部側が延出する側の開口端から当該ホルダ孔の軸線方向にみたときに観察される、当該ホルダ孔内の段部の縁端部分の態様に基づいて、前記ホルダ孔の摩耗度合いを検査する、
ことを特徴とする検査方法。
発明の詳細な説明
【技術分野】
【0001】
本発明は、プローブホルダおよび検査方法に関するものである。
続きを表示(約 1,500 文字)
【背景技術】
【0002】
従来、半導体集積回路や液晶表示装置などの検査対象物の導通状態検査や動作特性検査を行う際には、検査対象と検査用信号を出力する回路基板を有する信号処理装置との間の電気的な接続を図る導電性のコンタクトプローブが用いられる(例えば、特許文献1を参照)。半導体ウエハーレベル検査では、一般に、複数のコンタクトプローブを配置したプローブカードが使用される。また、半導体完成品検査には、一般に、複数のコンタクトプローブを配置したプローブブロックが組み込まれているソケットが使用される。
【先行技術文献】
【特許文献】
【0003】
特開2022-151628号公報
【発明の概要】
【発明が解決しようとする課題】
【0004】
これら複数のコンタクトプローブを保持するプローブホルダでは、検査時等のコンタクトプローブの摺動により、コンタクトプローブが挿通されるホルダの孔の壁面が徐々に摩耗する。孔の摩耗が進むと、プローブホルダにおけるコンタクトプローブの位置が変わるり、検査に影響を及ぼすおそれがある。一方、コンタクトプローブをプローブホルダから外して孔の摩耗を確認するには、手間を要していた。このため、孔の摩耗を簡易に確認できることが求められていた。
【0005】
本発明は、上記に鑑みてなされたものであって、孔の摩耗を簡易に確認することができるプローブホルダおよび検査方法を提供することを目的とする。
【課題を解決するための手段】
【0006】
上述した課題を解決し、目的を達成するために、本発明にかかるプローブホルダは、長手方向の一方の端部側で接触対象の電極と接触するコンタクトプローブを保持するプローブホルダであって、前記コンタクトプローブを保持するホルダ孔が複数形成され、前記ホルダ孔には、前記コンタクトプローブの前記一方の端部側に開口部が形成され、開口部は、前記ホルダ孔の開口端から当該ホルダ孔の軸線方向に延びる側壁と、当該側壁の前記軸線方向の端部であって、前記開口端とは反対側の端部に設けられる底面部と、を有する、ことを特徴とする。
【0007】
また、本発明にかかるプローブホルダは、上記の発明において、前記底面部は、前記軸線方向に対して垂直な平面によって形成される、ことを特徴とする。
【0008】
また、本発明にかかるプローブホルダは、上記の発明において、前記底面部は、前記軸線方向に対して傾斜した平面によって形成される、ことを特徴とする。
【0009】
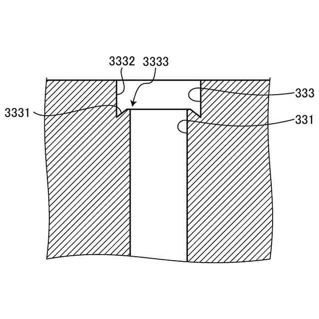
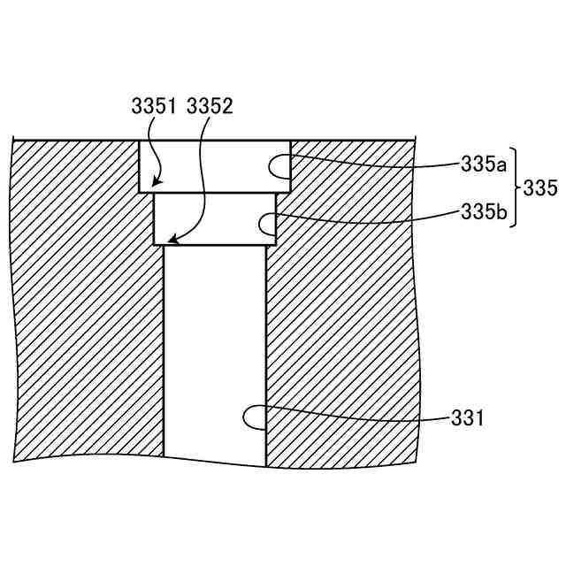
また、本発明にかかるプローブホルダは、上記の発明において、前記開口部は、前記ホルダ孔の開口端から前記軸線方向に延びる第1開口部と、前記第1開口部から前記開口端側とは反対側に延びる第2開口部と、を有し、前記第1開口部は、開口端から当該ホルダ孔の軸線方向に延びる第1の側壁と、当該第1の側壁の前記軸線方向の端部であって、前記開口端とは反対側の端部から内部側に向かって延びる中空板状の第1の底面部と、からなり、前記第2開口部は、前記第1の底面部が形成する開口端から当該ホルダ孔の軸線方向に延びる第2の側壁と、当該第2の側壁の前記軸線方向の端部であって、前記第1の底面部の開口端とは反対側の端部から内部側に向かって延びる中空板状の第2の底面部と、からなることを特徴とする。
【0010】
また、本発明にかかるプローブホルダは、上記の発明において、前記底面部には、孔が形成され、前記底面部の前記孔の径は、前記ホルダ孔の摩耗限界に基づいて設定される、ことを特徴とする。
(【0011】以降は省略されています)
この特許をJ-PlatPat(特許庁公式サイト)で参照する
関連特許
日本発條株式会社
支持構造物
1か月前
日本発條株式会社
支持構造物
1か月前
日本発條株式会社
車両用シート
1か月前
日本発條株式会社
車両用シート
1か月前
日本発條株式会社
車両用シート
1か月前
日本発條株式会社
車両用シート
1か月前
日本発條株式会社
車両用立寝装置
1か月前
日本発條株式会社
車両用シート装置
1か月前
日本発條株式会社
車両用シート装置
1か月前
日本発條株式会社
コンタクトプローブ
1か月前
日本発條株式会社
コンタクトプローブ
1か月前
日本発條株式会社
車両用シートフレーム
17日前
日本発條株式会社
シートカバーの固定方法
1か月前
日本発條株式会社
ハーネス固定位置の識別構造
1か月前
日本発條株式会社
アームレスト及び車両用シート
4日前
日本発條株式会社
ジョー組立体及びその把持面構造
17日前
日本発條株式会社
車両用シートの操作アシスト構造
1か月前
日本発條株式会社
ケーブルユニット及びその製造方法
17日前
日本発條株式会社
介在物評価方法及び試験片の製造方法
1か月前
日本発條株式会社
制御装置、制御方法、及び、プログラム
1か月前
日本発條株式会社
記録装置、カバー、及びカバーの製造方法
1か月前
日本発條株式会社
駐車用パレット及びこれを有する駐車装置
1か月前
日本発條株式会社
チェーン、チェーン収容装置、及び、駐車装置
1か月前
日本発條株式会社
面状ヒータの製造方法、面状ヒータ及び加熱装置
1か月前
日本発條株式会社
車両用シートのブロア取付構造及び車両用シート
17日前
日本発條株式会社
設計探査方法、設計探査プログラムおよび設計探査装置
1か月前
日本発條株式会社
サスペンション装置のロック機構及びサスペンション装置
1か月前
日本発條株式会社
モータの製造方法
17日前
日本発條株式会社
ケーブルの進退機構及びこれを用いたエンドエフェクターアッセンブリー
17日前
日本発條株式会社
設計探査方法、設計探査プログラム、設計探査装置および学習済みモデルの生成方法
1か月前
日本発條株式会社
モータの製造装置及びモータの製造方法
1か月前
個人
採尿及び採便具
25日前
日本精機株式会社
検出装置
19日前
個人
計量機能付き容器
14日前
個人
高精度同時多点測定装置
1か月前
個人
アクセサリー型テスター
1か月前
続きを見る
他の特許を見る