TOP
|
特許
|
意匠
|
商標
特許ウォッチ
Twitter
他の特許を見る
10個以上の画像は省略されています。
公開番号
2025149698
公報種別
公開特許公報(A)
公開日
2025-10-08
出願番号
2024050502
出願日
2024-03-26
発明の名称
車両用シート
出願人
日本発條株式会社
代理人
弁理士法人太陽国際特許事務所
主分類
B60N
2/32 20060101AFI20251001BHJP(車両一般)
要約
【課題】座面に置いた荷物の落下を防止するストッパーモードと着座乗員の脹脛を支持するオットマンモードとを取り得る構造を有するシートクッションにおいて、そのモードチェンジ操作が片手で簡単にできる車両用シートを得る。
【解決手段】シートクッションのシート前方側端部にシート前方向へ引出可能に設けられた座面延長板24と、座面延長板24のシート前方側端部にシート幅方向を軸方向として回動可能に垂設されたベース板40と、ベース板40にシート上方向及びシート下方向へスライド可能に支持されるとともに、シート上方向へスライドした上方位置を取ったときがシートクッションの座面に置いた荷物の落下を防止するストッパーモードとされ、シート下方向へスライドした下方位置を取ったときが着座乗員の脹脛を支持するオットマンモードとされるサポート板50と、を備えた車両用シートとする。
【選択図】図4
特許請求の範囲
【請求項1】
シートクッションのシート前方側端部にシート前方向へ引出可能に設けられた座面延長板と、
前記座面延長板のシート前方側端部にシート幅方向を軸方向として回動可能に垂設されたベース板と、
前記ベース板にシート上方向及びシート下方向へスライド可能に支持されるとともに、前記シート上方向へスライドした上方位置を取ったときが前記シートクッションの座面に置いた荷物の落下を防止するストッパーモードとされ、前記シート下方向へスライドした下方位置を取ったときが着座乗員の脹脛を支持するオットマンモードとされるサポート板と、
を備えた車両用シート。
続きを表示(約 310 文字)
【請求項2】
前記座面延長板と前記ベース板との間に前記ベース板を所定の回動角度に保持するリンク機構が設けられている請求項1に記載の車両用シート。
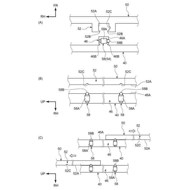
【請求項3】
前記ベース板は、前記サポート板を前記ストッパーモード及び前記オットマンモードにそれぞれ保持する保持機構を有する請求項1又は請求項2に記載の車両用シート。
【請求項4】
前記保持機構は、前記サポート板に摺接する板バネを含んで構成されている請求項3に記載の車両用シート。
【請求項5】
前記保持機構は、前記サポート板に形成されている凹部に嵌合可能なプランジャーを含んで構成されている請求項3に記載の車両用シート。
発明の詳細な説明
【技術分野】
【0001】
本発明は、車両用シートに関する。
続きを表示(約 1,700 文字)
【背景技術】
【0002】
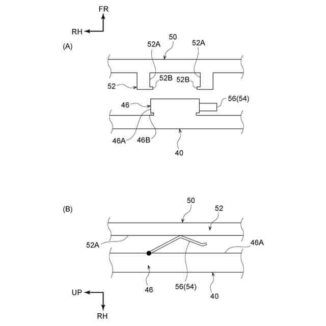
シートクッションの前方外縁部とフロアとの間を閉鎖する壁部材を上下方向に設け、その壁部材に対して上下方向に摺動可能な板状部材を設けた乗物用シートは、従来から知られている(例えば、特許文献1参照)。この板状部材は、上方向に摺動させたときには、シートクッションの座面に載せた荷物が振動等によって前方側へ移動しても落下しないように、シートクッションの座面より上に延出した状態で保持され、下方向に摺動させたときには、シートクッションに着座する着座者の体に干渉しない位置に保持されるようになっている。
【先行技術文献】
【特許文献】
【0003】
特開2015-151045号公報
【発明の概要】
【発明が解決しようとする課題】
【0004】
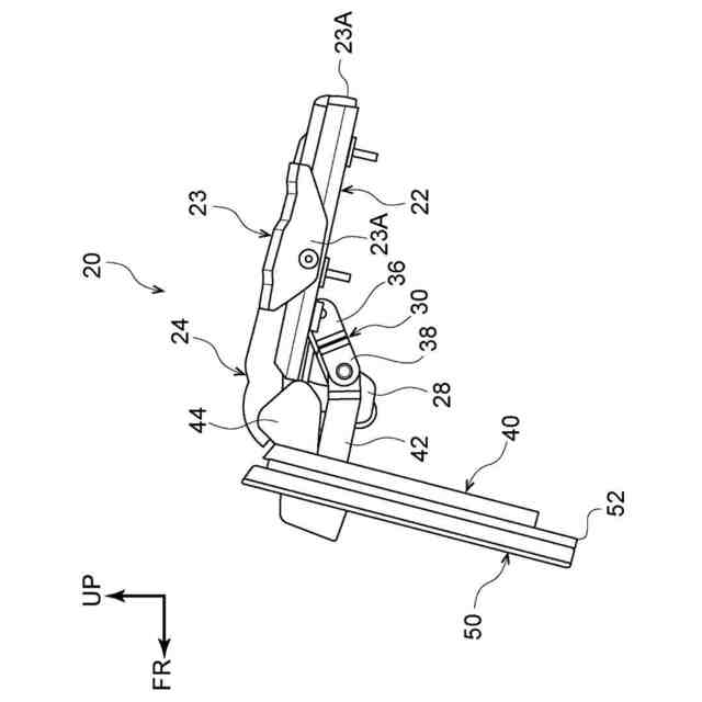
ところで、シートクッションの前端部の一部が、前方側へ引き出されて着座乗員の脹脛を支持するオットマンとして使用可能になるオットマンモードと、上方向へ回動されてシートクッションの座面に置いた荷物の振動等による落下を防止するストッパーモードと、を取り得るシートも知られている。しかしながら、このような構成のシートでは、そのモードチェンジ操作、特に引出位置や回動位置に保持されている状態を解除するアンロック操作が片手で簡単にできないという問題がある。
【0005】
そこで、本発明は、座面に置いた荷物の落下を防止するストッパーモードと着座乗員の脹脛を支持するオットマンモードとを取り得る構造を有するシートクッションにおいて、そのモードチェンジ操作が片手で簡単にできる車両用シートを得ることを目的とする。
【課題を解決するための手段】
【0006】
上記の目的を達成するために、本発明に係る第1の態様の車両用シートは、シートクッションのシート前方側端部にシート前方向へ引出可能に設けられた座面延長板と、前記座面延長板のシート前方側端部にシート幅方向を軸方向として回動可能に垂設されたベース板と、前記ベース板にシート上方向及びシート下方向へスライド可能に支持されるとともに、前記シート上方向へスライドした上方位置を取ったときが前記シートクッションの座面に置いた荷物の落下を防止するストッパーモードとされ、前記シート下方向へスライドした下方位置を取ったときが着座乗員の脹脛を支持するオットマンモードとされるサポート板と、を備えている。
【0007】
第1の態様の発明によれば、シートクッションのシート前方側端部に、座面延長板がシート前方向へ引出可能に設けられ、座面延長板のシート前方側端部に、ベース板がシート幅方向を軸方向として回動可能に垂設されている。そして、そのベース板に、サポート板がシート上方向及びシート下方向へスライド可能に支持されており、シート上方向へスライドした上方位置を取ったときがシートクッションの座面に置いた荷物の落下を防止するストッパーモードとされ、シート下方向へスライドした下方位置を取ったときが着座乗員の脹脛を支持するオットマンモードとされている。
【0008】
つまり、ベース板に対してサポート板をシート上方向又はシート下方向スライドさせるだけで、ストッパーモードとオットマンモードとのモードチェンジができる。このように、本発明によれば、オットマンモードとストッパーモードとを取り得る構造を有する車両用シートのシートクッションにおいて、そのモードチェンジ操作が片手で簡単に実行できる。
【0009】
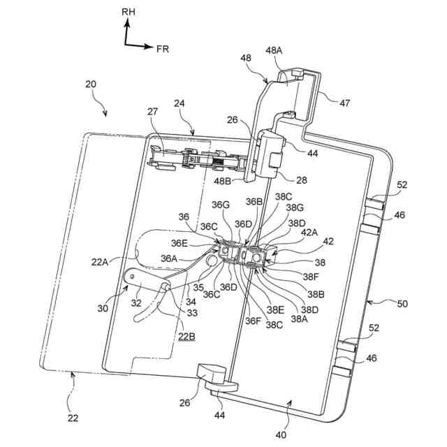
また、本発明に係る第2の態様の車両用シートは、第1の態様の車両用シートであって、前記座面延長板と前記ベース板との間に前記ベース板を所定の回動角度に保持するリンク機構が設けられている。
【0010】
第2の態様の発明によれば、座面延長板とベース板との間に、そのベース板を所定の回動角度に保持するリンク機構が設けられている。したがって、ベース板は、その所定の回動角度に適切に保持される。
(【0011】以降は省略されています)
この特許をJ-PlatPat(特許庁公式サイト)で参照する
関連特許
日本発條株式会社
積層体
9日前
日本発條株式会社
積層体
9日前
日本発條株式会社
記録装置
今日
日本発條株式会社
空調シート
29日前
日本発條株式会社
ヒータ装置
9日前
日本発條株式会社
放熱構造体
20日前
日本発條株式会社
車両用シート
今日
日本発條株式会社
車両用シート
19日前
日本発條株式会社
クリップ部材
13日前
日本発條株式会社
車両用シート
19日前
日本発條株式会社
車両用シート
28日前
日本発條株式会社
車両用シート
28日前
日本発條株式会社
車両用シート
28日前
日本発條株式会社
車両用シート
5日前
日本発條株式会社
車両用シート
29日前
日本発條株式会社
車両用シート
5日前
日本発條株式会社
車両用シート
19日前
日本発條株式会社
車両用支持装置
9日前
日本発條株式会社
車両用リアシート
7日前
日本発條株式会社
車両用リアシート
9日前
日本発條株式会社
車両用リアシート
9日前
日本発條株式会社
シート用操作装置
5日前
日本発條株式会社
インサート成形部品
13日前
日本発條株式会社
車両用ハンモック装置
7日前
日本発條株式会社
接合体および接合方法
9日前
日本発條株式会社
アームレスト回転制動構造
29日前
日本発條株式会社
固定子鉄心片の打ち抜き方法
13日前
日本発條株式会社
アームレスト及び車両用シート
9日前
日本発條株式会社
プローブホルダおよび検査方法
13日前
日本発條株式会社
シートカバー及び車両用シート
5日前
日本発條株式会社
ウレタンパッド及びその製造方法
19日前
日本発條株式会社
操作ストラップ及び車両用シート
19日前
日本発條株式会社
セグメントコイルの取出装置及び方法
29日前
日本発條株式会社
クッション長可変装置及び車両用シート
1か月前
日本発條株式会社
バックポケットの芯材及びトリムカバー
12日前
日本発條株式会社
放熱構造体および放熱構造体の製造方法
20日前
続きを見る
他の特許を見る