TOP
|
特許
|
意匠
|
商標
特許ウォッチ
Twitter
他の特許を見る
公開番号
2025143109
公報種別
公開特許公報(A)
公開日
2025-10-01
出願番号
2024042852
出願日
2024-03-18
発明の名称
車両用リアシート
出願人
日本発條株式会社
代理人
弁理士法人太陽国際特許事務所
主分類
B60N
2/42 20060101AFI20250924BHJP(車両一般)
要約
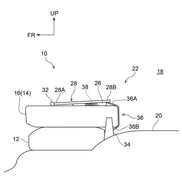
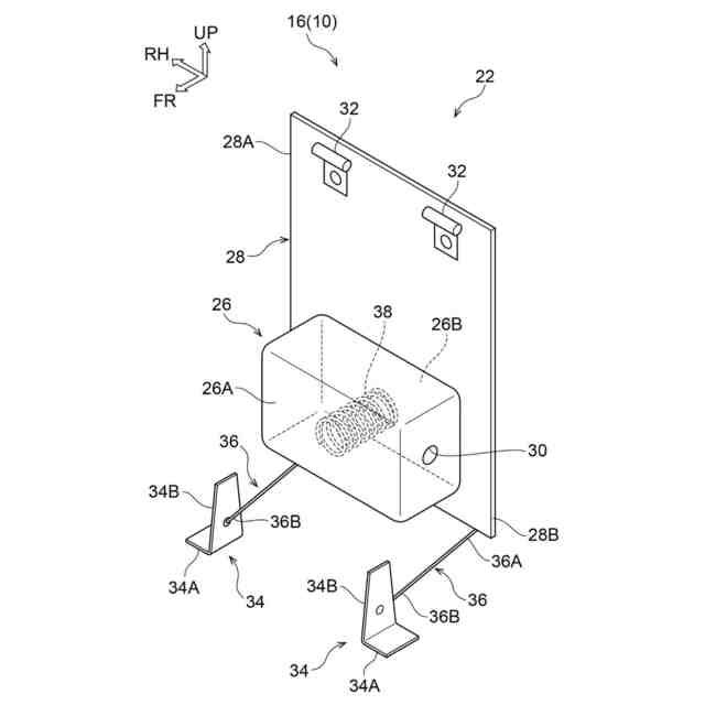
【課題】積荷衝突時に衝撃を吸収してシートバックの前倒れを抑制しつつ、シートフレームを軽量化することができる車両用リアシートを得る。
【解決手段】車両用リアシート10は、車両の荷室18の車両前方側に配置され、シートクッション12上に傾倒可能に構成されたシートバック16と、シートバック16側に設けられ、シートバック16の起立状態でシートバック16の背面側に膨らんだ状態で配置される空気袋26と、を有する。
【選択図】図1
特許請求の範囲
【請求項1】
車両の荷室の車両前方側に配置され、シートクッション上に傾倒可能に構成されたシートバックと、
前記シートバック側に設けられ、起立位置に位置するシートバックの背面側に膨らんだ状態で配置される空気袋と、
を有する車両用リアシート。
続きを表示(約 540 文字)
【請求項2】
前記空気袋のシートバック後方側には、シートバック後方側から見て前記空気袋を覆う板状部材が配置されている、
請求項1に記載の車両用リアシート。
【請求項3】
前記板状部材の前記起立位置における上端部は、前記シートバックの背面に回動可能に接続されており、
前記板状部材の前記起立位置における下端部には、前記シートバックがシート前方側へ倒された際に、当該下端部をシートバック前方側へ引っ張る引張部材の一端部が固定されており、
前記空気袋には、通気孔が設けられている、
請求項2に記載の車両用リアシート。
【請求項4】
前記引張部材は、シート幅方向に一対設けられており、それぞれの前記一端部は、前記板状部材の前記下端部においてシート幅方向の端部に固定されている、
請求項3に記載の車両用リアシート。
【請求項5】
前記空気袋を膨らませる方向に付勢する付勢部材が配設されている、
請求項1又は請求項2に記載の車両用リアシート。
【請求項6】
前記空気袋を膨らませる方向に付勢する付勢部材が配設されている、
請求項3又は請求項4に記載の車両用リアシート。
発明の詳細な説明
【技術分野】
【0001】
本発明は、車両用リアシートに関する。
続きを表示(約 1,500 文字)
【背景技術】
【0002】
下記特許文献1には、荷室の車両前方側に配置されたリヤシート(リアシート)が開示されている。このリヤシートは、荷室の積荷がシートバックの背面に衝突した際(積荷衝突時)のシートバックへの衝突荷重を低減するため、シートクッションの後端部にプロテクトバーを備えている。プロテクトバーは、シートクッションの後端から車両後方側へ突設されており、車両幅方向に延在している。
【先行技術文献】
【特許文献】
【0003】
特開平10-217819号公報
【発明の概要】
【発明が解決しようとする課題】
【0004】
しかしながら、上記技術では、プロテクトバーが積荷から直接衝突荷重を受けるため、シートフレームを高剛性にする必要がある。よって、積荷衝突時に衝撃を吸収してシートバックの前倒れを抑制しつつ、シートフレームを軽量化するには改善の余地がある。
【0005】
本発明は上記事実を考慮し、積荷衝突時に衝撃を吸収してシートバックの前倒れを抑制しつつ、シートフレームを軽量化することができる車両用リアシートを得ることを目的とする。
【課題を解決するための手段】
【0006】
請求項1に記載の本発明に係る車両用リアシートは、車両の荷室の車両前方側に配置され、シートクッション上に傾倒可能に構成されたシートバックと、前記シートバック側に設けられ、起立位置に位置するシートバックの背面側に膨らんだ状態で配置される空気袋と、を有している。
【0007】
請求項1に記載の本発明によれば、シートバックはシートクッション上に傾れることで格納される。このシートバックは、車両の荷室の車両前方側に配置されている。また、シートバックの起立状態におけるシートバックの背面側には、空気袋が膨らんだ状態で配置される。よって、車両の急減速時又は前面衝突時に、車両の荷室に積まれた積荷が車両後方側からシートバックへ衝突しようとすると、シートバックの背面側に配置された空気袋が緩衝材となって衝突荷重が吸収される。よって、シートバックへの衝撃が緩和されるため、シートバックの前倒れが抑制される。また、空気袋は金属製のプロテクトバー等と比較して、軽量であるため、車両用リアシートを軽量化することができる。
【0008】
請求項2に記載の本発明に係る車両用リアシートは、請求項1に記載の発明において、前記空気袋のシートバック後方側には、シートバック後方側から見て前記空気袋を覆う板状部材が配置されている。
【0009】
請求項2に記載の本発明によれば、空気袋は、シートバック後方側から見て板状部材に覆われている。車両の急減速時又は前面衝突時に、積荷が車両前方側へ移動すると、積荷は板状部材に衝突して、その車両前方側の空気袋によって衝撃が吸収される。ここで、板状部材はシートバック後方側から見て空気袋を覆っているため、板状部材の面で積荷の衝撃を受けて、空気袋全体へ広く衝突荷重を分散させることができる。また、積荷が直接衝突するのは板状部材であるため、空気袋の破損を防ぐことができる。
【0010】
請求項3に記載の本発明に係る車両用リアシートは、請求項2に記載の発明において、前記板状部材の前記起立位置における上端部は、前記シートバックの背面に回動可能に接続されており、前記板状部材の前記起立位置における下端部には、前記シートバックがシート前方側へ倒された際に、当該下端部をシートバック前方側へ引っ張る引張部材の一端部が固定されており、前記空気袋には、通気孔が設けられている。
(【0011】以降は省略されています)
この特許をJ-PlatPat(特許庁公式サイト)で参照する
関連特許
日本発條株式会社
記録装置
1か月前
日本発條株式会社
支持構造物
1か月前
日本発條株式会社
支持構造物
1か月前
日本発條株式会社
車両用シート
1か月前
日本発條株式会社
車両用シート
1か月前
日本発條株式会社
車両用シート
1か月前
日本発條株式会社
車両用シート
1か月前
日本発條株式会社
車両用シート
1か月前
日本発條株式会社
車両用立寝装置
1か月前
日本発條株式会社
車両用シート装置
1か月前
日本発條株式会社
車両用シート装置
1か月前
日本発條株式会社
コンタクトプローブ
1か月前
日本発條株式会社
コンタクトプローブ
1か月前
日本発條株式会社
車両用シートフレーム
17日前
日本発條株式会社
シートカバーの固定方法
1か月前
日本発條株式会社
ハーネス固定位置の識別構造
1か月前
日本発條株式会社
アームレスト及び車両用シート
4日前
日本発條株式会社
ジョー組立体及びその把持面構造
17日前
日本発條株式会社
車両用シートの操作アシスト構造
1か月前
日本発條株式会社
ケーブルユニット及びその製造方法
17日前
日本発條株式会社
介在物評価方法及び試験片の製造方法
1か月前
日本発條株式会社
制御装置、制御方法、及び、プログラム
1か月前
日本発條株式会社
駐車用パレット及びこれを有する駐車装置
1か月前
日本発條株式会社
記録装置、カバー、及びカバーの製造方法
1か月前
日本発條株式会社
チェーン、チェーン収容装置、及び、駐車装置
1か月前
日本発條株式会社
車両用シートのブロア取付構造及び車両用シート
17日前
日本発條株式会社
面状ヒータの製造方法、面状ヒータ及び加熱装置
1か月前
日本発條株式会社
設計探査方法、設計探査プログラムおよび設計探査装置
1か月前
日本発條株式会社
サスペンション装置のロック機構及びサスペンション装置
1か月前
日本発條株式会社
モータの製造方法
17日前
日本発條株式会社
ケーブルの進退機構及びこれを用いたエンドエフェクターアッセンブリー
17日前
日本発條株式会社
設計探査方法、設計探査プログラム、設計探査装置および学習済みモデルの生成方法
1か月前
日本発條株式会社
モータの製造装置及びモータの製造方法
1か月前
日本発條株式会社
研磨装置及び研磨方法、並びに機械部品
1か月前
個人
タイヤレバー
3か月前
個人
前輪キャスター
3か月前
続きを見る
他の特許を見る