TOP
|
特許
|
意匠
|
商標
特許ウォッチ
Twitter
他の特許を見る
10個以上の画像は省略されています。
公開番号
2025151829
公報種別
公開特許公報(A)
公開日
2025-10-09
出願番号
2024053424
出願日
2024-03-28
発明の名称
駐車用パレット及びこれを有する駐車装置
出願人
日本発條株式会社
,
株式会社ニッパツパーキングシステムズ
代理人
弁理士法人高橋・林アンドパートナーズ
主分類
E04H
6/42 20060101AFI20251002BHJP(建築物)
要約
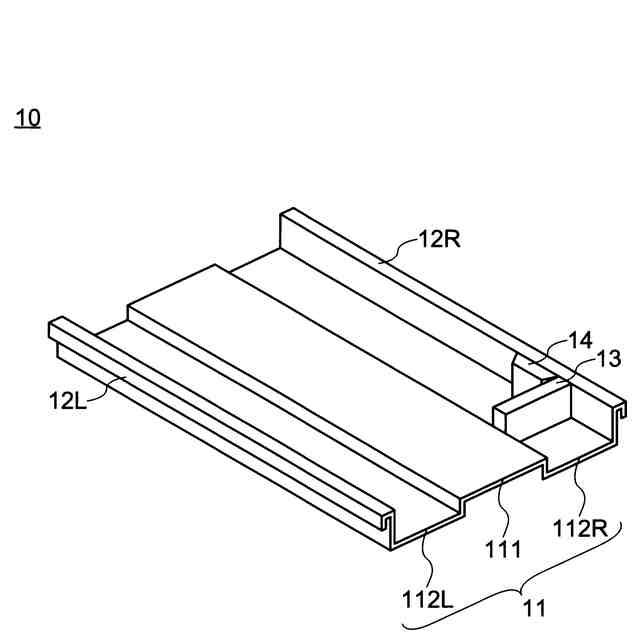
【課題】充電中における充電口のカバーや充電コネクタが昇降移動や横行移動の妨げとならないように電気自動車の車種に合わせて対応することができる駐車用パレットの提供を目的とする。
【解決手段】自動車を載置する矩形の本体部と、前記本体部の一方の長辺に沿って配置されており、前記一方の長辺に沿った長さが前記本体部の前記一方の長辺の長さより短いガイド部と、を備える、駐車用パレット。前記ガイド部は、前記本体部の一方の短辺側に配置されてもよい。
【選択図】図5
特許請求の範囲
【請求項1】
自動車を載置する矩形の本体部と、
前記本体部の一方の長辺に沿って配置されており、前記一方の長辺に沿った長さが前記本体部の前記一方の長辺の長さより短いガイド部と、を備える、駐車用パレット。
続きを表示(約 730 文字)
【請求項2】
前記ガイド部は、前記本体部の一方の短辺側に配置される、請求項1に記載の駐車用パレット。
【請求項3】
前記ガイド部は、前記本体部の一方の短辺側に配置される第1ガイド部と、前記本体部の他方の短辺側に配置される第2ガイド部と、を含み、
前記第1ガイド部及び前記第2ガイド部は、前記本体部の前記一方の長辺に沿って間隔を開けて配置される、請求項1に記載の駐車用パレット。
【請求項4】
前記第1ガイド部及び前記第2ガイド部は、前記一方の長辺に沿った長さが異なる、請求項3に記載の駐車用パレット。
【請求項5】
前記間隔に前記自動車の車輪が入り込んだ際、前記自動車が前記本体部から飛び出すように、前記第1ガイド部及び前記第2ガイド部は配置される、請求項4に記載の駐車用パレット。
【請求項6】
前記第1ガイド部及び前記第2ガイド部のそれぞれは、前記一方の長辺に沿った方向に対する垂直な方向を中心軸として対称である、請求項5に記載の駐車用パレット。
【請求項7】
前記本体部の前記一方の長辺に沿って連結され、前記本体部から立ち上がる側縁部をさらに備え、
前記ガイド部は前記側縁部に取り付けられる、請求項1に記載の駐車用パレット。
【請求項8】
前記ガイド部は、前記側縁部の側面に取り付けられ上面を有するベース部材と、前記ベース部材の上面に取り付けられるカバー部材と、を含む、請求項7に記載の駐車用パレット。
【請求項9】
請求項1に記載の駐車用パレットと、前記駐車用パレットを昇降移動させる昇降装置と、を有する、駐車装置。
発明の詳細な説明
【技術分野】
【0001】
本発明は、自動車の駐車用パレット及びこれを有する駐車装置に関する。
続きを表示(約 1,000 文字)
【背景技術】
【0002】
自動車の駐車装置として、自動車を載置することができる複数の駐車用パレットを立体的に有する、いわゆる多段式駐車装置が知られている。多段式駐車装置においては、駐車用パレットの昇降移動や横行移動が行われる。
【0003】
多段式駐車装置においては、近年の電気自動車の普及から、例えば特許文献1に開示されるように、駐車用パレットごとに充電装置が設けられている。
【先行技術文献】
【特許文献】
【0004】
特許第2789062号公報
【発明の概要】
【発明が解決しようとする課題】
【0005】
電気自動車の充電中、電気自動車の車種によっては、充電口のカバーや充電口に接続される充電コネクタが車体の側面から大きく飛び出すことがある。このため、電気自動車を駐車用パレットの一方側に寄せ過ぎて駐車してしまうと、車体の側面から飛び出した充電口のカバーや充電コネクタが駐車用パレットの内側に収まらず、これらが駐車用パレットの昇降移動や横行移動の妨げとなるおそれがあった。
【0006】
また、電気自動車の車種によって充電口の位置、充電口のカバーの形状等は様々であることから、ユーザが使用する電気自動車の車種に合った対応が求められる。
【0007】
そこで本発明は、充電中における充電口のカバーや充電コネクタが昇降移動や横行移動の妨げとならないように電気自動車の車種に合わせて対応することができる駐車用パレットの提供を目的とする。
【課題を解決するための手段】
【0008】
本発明の一実施形態に係る駐車用パレットは、自動車を載置する矩形の本体部と、前記本体部の一方の長辺に沿って配置されており、前記一方の長辺に沿った長さが前記本体部の前記一方の長辺の長さより短いガイド部と、を備える。
【0009】
本発明の一実施形態に係る駐車用パレットにおいて、前記ガイド部は、前記本体部の一方の短辺側に配置されてもよい。
【0010】
本発明の一実施形態に係る駐車用パレットにおいて、前記ガイド部は、前記本体部の一方の短辺側に配置される第1ガイド部と、前記本体部の他方の短辺側に配置される第2ガイド部と、を含み、前記第1ガイド部及び前記第2ガイド部は、前記本体部の前記一方の長辺に沿って間隔を開けて配置されてもよい。
(【0011】以降は省略されています)
この特許をJ-PlatPat(特許庁公式サイト)で参照する
関連特許
日本発條株式会社
積層体
2か月前
日本発條株式会社
積層体
2か月前
日本発條株式会社
記録装置
1か月前
日本発條株式会社
支持構造物
1か月前
日本発條株式会社
支持構造物
1か月前
日本発條株式会社
ヒータ装置
2か月前
日本発條株式会社
車両用シート
1か月前
日本発條株式会社
車両用シート
1か月前
日本発條株式会社
車両用シート
1か月前
日本発條株式会社
車両用シート
1か月前
日本発條株式会社
車両用シート
1か月前
日本発條株式会社
車両用シート
1か月前
日本発條株式会社
車両用シート
3日前
日本発條株式会社
クリップ部材
2か月前
日本発條株式会社
車両用支持装置
2か月前
日本発條株式会社
グリップパッド
4日前
日本発條株式会社
車両用立寝装置
1か月前
日本発條株式会社
車両用シート装置
1か月前
日本発條株式会社
車両用リアシート
2か月前
日本発條株式会社
シート用操作装置
1か月前
日本発條株式会社
車両用リアシート
2か月前
日本発條株式会社
車両用リアシート
2か月前
日本発條株式会社
車両用シート装置
1か月前
日本発條株式会社
コンタクトプローブ
1か月前
日本発條株式会社
インサート成形部品
2か月前
日本発條株式会社
コンタクトプローブ
1か月前
日本発條株式会社
接合体および接合方法
2か月前
日本発條株式会社
車両用シートフレーム
24日前
日本発條株式会社
車両用ハンモック装置
2か月前
日本発條株式会社
車両の運転席用シート
3日前
日本発條株式会社
シートカバーの固定方法
1か月前
日本発條株式会社
ハーネス固定位置の識別構造
1か月前
日本発條株式会社
固定子鉄心片の打ち抜き方法
2か月前
日本発條株式会社
シートカバー及び車両用シート
1か月前
日本発條株式会社
プローブホルダおよび検査方法
2か月前
日本発條株式会社
アームレスト及び車両用シート
2か月前
続きを見る
他の特許を見る