TOP
|
特許
|
意匠
|
商標
特許ウォッチ
Twitter
他の特許を見る
公開番号
2025140854
公報種別
公開特許公報(A)
公開日
2025-09-29
出願番号
2024040459
出願日
2024-03-14
発明の名称
車両用リアシート
出願人
日本発條株式会社
代理人
弁理士法人太陽国際特許事務所
主分類
B60N
2/427 20060101AFI20250919BHJP(車両一般)
要約
【課題】荷室の積荷がシートバックの背面に衝突した際に、車両幅方向中央部を含めてシートバックの前倒れを抑制することができる車両用リアシートを得る。
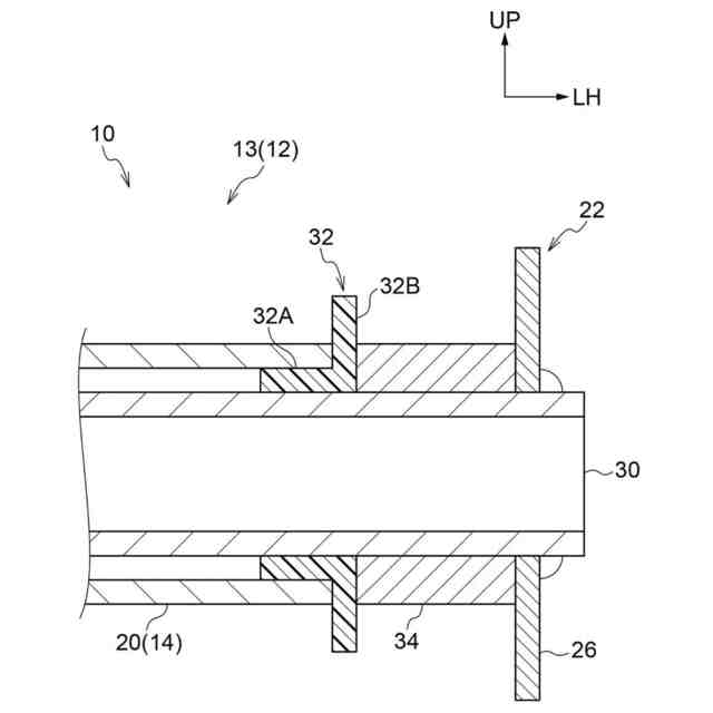
【解決手段】車両用リアシート10は、車両の荷室の車両前方で車両幅方向の少なくとも一方側に配置され、シートバック13の骨格を構成するシートバックフレーム14と、シートバックフレーム14の下端部においてシート幅方向に延在する円筒状のロアパイプ20と、ロアパイプ20に挿通されて車両幅方向に延在しかつ両端部が車体に固定されると共に、ロアパイプ20を周方向に摺動可能に支持する支持軸30と、を有する。
【選択図】図1
特許請求の範囲
【請求項1】
車両の荷室の車両前方で車両幅方向の少なくとも一方側に配置され、シートバックの骨格を構成するシートバックフレームと、
前記シートバックフレームの下端部においてシート幅方向に延在する円筒状のロアパイプと、
前記ロアパイプに挿通されて車両幅方向に延在しかつ両端部が車体に固定されると共に、前記ロアパイプを周方向に摺動可能に支持する支持軸と、
を有する車両用リアシート。
続きを表示(約 130 文字)
【請求項2】
前記支持軸は、円筒状に形成されている、
請求項1に記載の車両用リアシート。
【請求項3】
前記ロアパイプと前記支持軸との間には、樹脂ブッシュが配置されている、
請求項1又は請求項2に記載の車両用リアシート。
発明の詳細な説明
【技術分野】
【0001】
本発明は、車両用リアシートに関する。
続きを表示(約 1,300 文字)
【背景技術】
【0002】
下記特許文献1には、車両のトランクルーム(荷室)の前方に設けられる車両用シートユニット(車両用リアシート)が開示されている。下記特許文献1に記載の技術では、荷室に積まれた積荷によって、車両の急減速時や前面衝突時に、横並びする二つのシートが前方に押されて観音開き状態になることを防ぐために、左右のシートバックがストライカで連結されている。左右のシートの車両幅方向外側は、それぞれ車体の側壁に固定されている。この技術では、ストライカによる連結を解除することで、各シートを別々に起倒できるようになっている。
【先行技術文献】
【特許文献】
【0003】
特開2011-046241号公報
【発明の概要】
【発明が解決しようとする課題】
【0004】
しかしながら、上記技術では、車両用リアシートの車両幅方向中央部は、ストライカによって左右のシートバックが連結されているだけで、車体には固定されていない。よって、荷室の積荷がシートバックの背面に衝突した際(積荷衝突時)に、車両幅方向中央部を含めてシートバックの前倒れを抑制するには改善の余地がある。
【0005】
本発明は上記事実を考慮し、荷室の積荷がシートバックの背面に衝突した際に、車両幅方向中央部を含めてシートバックの前倒れを抑制することができる車両用リアシートを得ることを目的とする。
【課題を解決するための手段】
【0006】
請求項1に記載の本発明に係る車両用リアシートは、車両の荷室の車両前方で車両幅方向の少なくとも一方側に配置され、シートバックの骨格を構成するシートバックフレームと、前記シートバックフレームの下端部においてシート幅方向に延在する円筒状のロアパイプと、前記ロアパイプに挿通されて車両幅方向に延在しかつ両端部が車体に固定されると共に、前記ロアパイプを周方向に摺動可能に支持する支持軸と、
を有している。
【0007】
請求項1に記載の本発明によれば、シートバックの骨格を構成するシートバックフレームの下端部に、シート幅方向に延在する円筒状のロアパイプが設けられており、このロアパイプに支持軸が挿通されている。ロアパイプは、周方向に摺動可能に支持軸に支持されている。
【0008】
通常時には、ロアパイプは、支持軸の径方向外側を周方向に摺動する。これにより、シートバックフレームは、支持軸周りに回動する。よって、シートバックは滑らかに起倒することができる。
【0009】
一方、車両の急減速時や前面衝突時に、荷室の積荷がシートバックの背面に衝突すると、ロアパイプ及び支持軸は、積荷からの衝突荷重によって、車両前方側へ凸となるように湾曲する。この状態でシートバックフレームが回動しようとすると、ロアパイプが支持軸に干渉する。よって、積荷衝突時のシートバックフレーム、ひいてはシートバックの回動が規制される。
【0010】
請求項2に記載の本発明に係る車両用リアシートは、請求項1に記載の発明において、前記支持軸は、円筒状に形成されている。
(【0011】以降は省略されています)
この特許をJ-PlatPat(特許庁公式サイト)で参照する
関連特許
日本発條株式会社
積層体
1か月前
日本発條株式会社
積層体
1か月前
日本発條株式会社
記録装置
1か月前
日本発條株式会社
ヒータ装置
1か月前
日本発條株式会社
放熱構造体
2か月前
日本発條株式会社
支持構造物
1か月前
日本発條株式会社
支持構造物
1か月前
日本発條株式会社
クリップ部材
2か月前
日本発條株式会社
車両用シート
1か月前
日本発條株式会社
車両用シート
1か月前
日本発條株式会社
車両用シート
1か月前
日本発條株式会社
車両用シート
1か月前
日本発條株式会社
車両用シート
1か月前
日本発條株式会社
車両用シート
1か月前
日本発條株式会社
車両用シート
2か月前
日本発條株式会社
車両用シート
2か月前
日本発條株式会社
車両用シート
2か月前
日本発條株式会社
車両用支持装置
1か月前
日本発條株式会社
車両用立寝装置
1か月前
日本発條株式会社
車両用リアシート
1か月前
日本発條株式会社
車両用リアシート
1か月前
日本発條株式会社
シート用操作装置
1か月前
日本発條株式会社
車両用リアシート
1か月前
日本発條株式会社
車両用シート装置
1か月前
日本発條株式会社
車両用シート装置
1か月前
日本発條株式会社
コンタクトプローブ
1か月前
日本発條株式会社
インサート成形部品
2か月前
日本発條株式会社
コンタクトプローブ
1か月前
日本発條株式会社
車両用シートフレーム
17日前
日本発條株式会社
接合体および接合方法
1か月前
日本発條株式会社
車両用ハンモック装置
1か月前
日本発條株式会社
シートカバーの固定方法
1か月前
日本発條株式会社
ハーネス固定位置の識別構造
1か月前
日本発條株式会社
固定子鉄心片の打ち抜き方法
2か月前
日本発條株式会社
アームレスト及び車両用シート
1か月前
日本発條株式会社
プローブホルダおよび検査方法
2か月前
続きを見る
他の特許を見る