TOP
|
特許
|
意匠
|
商標
特許ウォッチ
Twitter
他の特許を見る
10個以上の画像は省略されています。
公開番号
2025151757
公報種別
公開特許公報(A)
公開日
2025-10-09
出願番号
2024053336
出願日
2024-03-28
発明の名称
支持構造物
出願人
日本発條株式会社
代理人
弁理士法人高橋・林アンドパートナーズ
主分類
F16F
15/067 20060101AFI20251002BHJP(機械要素または単位;機械または装置の効果的機能を生じ維持するための一般的手段)
要約
【課題】新規な構造を備え、ばねの伸縮の誤動作を抑制することができる支持構造物を提供すること。
【解決手段】支持構造物は、少なくとも一つのばねと、ばねの上に位置し、上面部と、ばねの中心軸から離れる第1方向に上面部から突出する突出部と、上面部から突出部にかけて形成される穴部とを有するばね座と、ばね座の下に位置し、ばねを挟む一対の側面部と、一対の側面部から第1方向に突出し、端部に開口を有する穴を有する突縁部と、ばね座と対向する底面部と、を有するケースと、ばね座と突縁部との間に位置し、穴部および突縁部の穴を通り、上面部の上に第1締結部および突縁部の下に第2締結部を有するロック装置と、第1締結部の上に位置する上部と、上部と突出部との間に位置する中部と、中部の下であって穴部の内側に位置する下部とを有する阻止部と、を有する。
【選択図】図1
特許請求の範囲
【請求項1】
少なくとも一つのばねと、
前記ばねの上に位置し、上面部と、前記ばねの中心軸から離れる第1方向に前記上面部から突出する突出部と、前記上面部から前記突出部にかけて形成される穴部とを有するばね座と、
前記ばね座の下に位置し、前記ばねを挟む一対の側面部と、前記一対の側面部から前記第1方向に突出し、端部に開口を有する穴を有する突縁部と、前記ばね座と対向する底面部と、を有するケースと、
前記ばね座と前記突縁部との間に位置し、前記穴部および前記突縁部の穴を通り、前記上面部の上に第1締結部および前記突縁部の下に第2締結部を有するロック装置と、
前記第1締結部の上に位置する上部と、前記上部と前記突出部との間に位置する中部と、前記中部の下であって前記穴部の内側に位置する下部とを有する阻止部と、を有する、
支持構造物。
続きを表示(約 1,600 文字)
【請求項2】
前記ロック装置は、前記第1締結部と前記第2締結部との間に軸部をさらに有し、
前記第1方向において、
前記穴部の一端から他端までの長さは、前記軸部の幅と前記第1締結部の二面幅の和を2で割ったときの商と前記下部の一端から他端までの第1長さとの和より長く、前記第1長さと前記幅と前記第1締結部の二面幅との和より短い、
請求項1に記載の支持構造物。
【請求項3】
少なくとも一つのばねと、
前記ばねの上に位置し、上面部と、前記ばねの中心軸から離れる第1方向に前記上面部から突出する突出部と、前記上面部から前記突出部にかけて形成される穴部とを有するばね座と、
前記ばね座の下に位置し、前記ばねを挟む一対の側面部と、前記一対の側面部から前記第1方向に突出し、端部に開口を有する穴を有する突縁部と、前記ばね座と対向する底面部と、を有するケースと、
前記ばね座と前記突縁部との間に位置し、前記穴部および前記突縁部の穴を通り、前記上面部の上に第1締結部および前記突縁部の下に第2締結部を有するロック装置と、
前記突出部の上に位置する阻止部と、を有する、
支持構造物。
【請求項4】
前記ばね座は、前記上面部から連続し、前記第1方向と交差する第2方向に前記突出部を挟み、前記ばねの中心軸が伸びる方向に貫通する第1設置穴および第2設置穴をそれぞれ有する第1設置部および第2設置部を有し、
前記阻止部は、前記穴部、前記第1設置部、および前記第2設置部の上に配置され、前記第2方向に延びる第1本体部を有する、
請求項3に記載の支持構造物。
【請求項5】
前記阻止部は、前記第1設置穴に配置され、前記第1設置部の厚さより長い第1脚部と、前記第2設置穴に配置され、前記第2設置部の厚さより長い第2脚部とを有し、
前記第1脚部および前記第2脚部は、前記第1本体部と接続する、
請求項4に記載の支持構造物。
【請求項6】
前記阻止部は、上面視において前記第1設置穴と重畳する第1固定穴と、前記第1設置穴および前記第1固定穴を貫通し、前記第1本体部の上に第1頭部が配置される第1締結部と、前記第1設置部の下に配置される第2締結部と、前記第2設置穴と重畳する第2固定穴と、前記第2設置穴および前記第2固定穴を貫通し、前記第1本体部の上に第2頭部が配置される第2締結部と、前記第2設置部の下に配置される第2締結部と、を有する、
請求項4に記載の支持構造物。
【請求項7】
前記穴部の上における前記第1本体部の幅は、前記第1方向において、前記第1固定穴の中心を通る前記第1本体部の幅より小さい、
請求項6に記載の支持構造物。
【請求項8】
前記阻止部は、前記第1頭部と前記第1本体部との間の第1ばねと、前記第2頭部と前記第1本体部との間の第2ばねとをさらに有する、
請求項6に記載の支持構造物。
【請求項9】
前記ばね座は、前記ばねの中心軸が伸びる方向に貫通する第1設置穴を有し、前記上面部から連続し、前記突出部と隣接する第1設置部を有し、
前記阻止部は、前記第1設置穴を通り、前記第1設置部の上に第1締結部および前記第1設置部の下に第2締結部を有する第1阻止部を有する、
請求項3に記載の支持構造物。
【請求項10】
前記ばね座は、前記ばねの中心軸が伸びる方向に貫通する第2設置穴を有し、前記上面部から連続し、前記突出部と隣接する第2設置部を有し、
前記阻止部は、前記第2設置穴を通り、前記第2設置部の上に第1締結部および前記第2設置部の下に第2締結部を有する第2阻止部をさらに有する、
請求項9に記載の支持構造物。
(【請求項11】以降は省略されています)
発明の詳細な説明
【技術分野】
【0001】
本発明の実施形態の一つは、支持構造物に関する。
続きを表示(約 1,700 文字)
【0002】
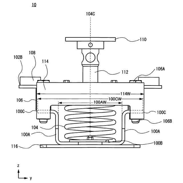
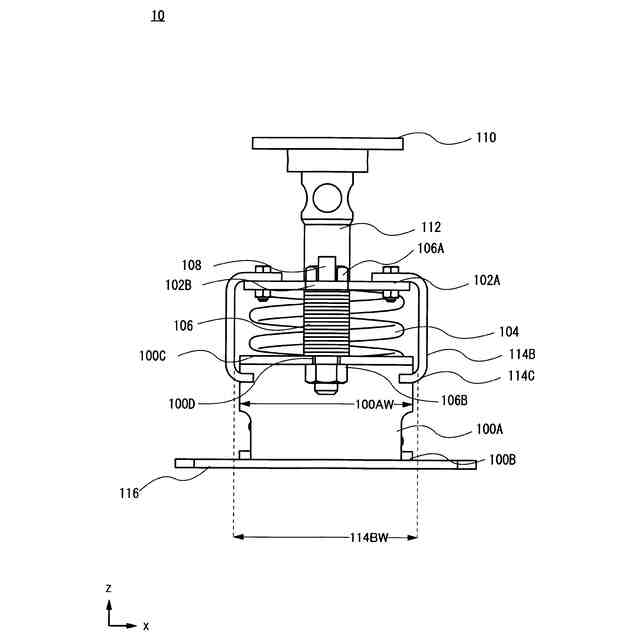
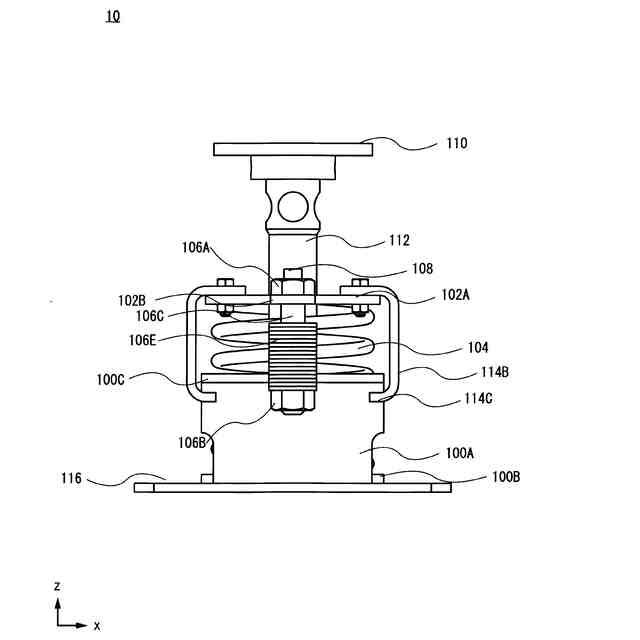
流体を輸送するため配管、流体の制御を行うバルブ、または流体を貯める容器などの機器は、それらの内部に流体が流れたり、流体が貯められたりして運搬されることにより、重量や温度変化が発生し、それらの機器が動く。その動きに一定の反力を発生させつつ追従するのが、支持構造物である。例えば特許文献1に開示された配管である機器を支持する支持構造物は、ばねの上にばね座と、ばねの下に底面ならび突縁部を設ける側面を有するケースとを有し、ばね座と突縁部との間に設けられたロック装置によりばねを圧縮することで、ばね座を所定の高さに設定している。
【先行技術文献】
【特許文献】
【0003】
特許第7345695号公報
【発明の概要】
【発明が解決しようとする課題】
【0004】
本発明の実施形態の課題の一つは、新規な構造を備える支持構造物を提供することを課題の一つとする。あるいは、本発明の実施形態の課題の一つは、ばねの圧縮した状態または伸縮する状態を維持することができる支持構造物を提供することを課題の一つとする。
【課題を解決するための手段】
【0005】
本発明の実施形態の一つは、支持構造物である。この支持構造物は、少なくとも一つのばねと、ばねの上に位置し、上面部と、ばねの中心軸から離れる第1方向に上面部から突出する突出部と、上面部から突出部にかけて形成される穴部とを有するばね座と、ばね座の下に位置し、ばねを挟む一対の側面部と、一対の側面部から第1方向に突出し、端部に開口を有する穴を有する突縁部と、ばね座と対向する底面部と、を有するケースと、ばね座と突縁部との間に位置し、穴部および突縁部の穴を通り、上面部の上に第1締結部および突縁部の下に第2締結部を有するロック装置と、第1締結部の上に位置する上部と、上部と突出部との間に位置する中部と、中部の下であって穴部の内側に位置する下部とを有する阻止部と、を有する。
【0006】
ロック装置は、第1締結部と第2締結部との間に軸部をさらに有し、第1方向において、穴部の一端から他端までの長さは、軸部の幅と第1締結部の二面幅の和を2で割ったときの商と下部の一端から他端までの第1長さとの和より長く、第1長さと幅と第1締結部の二面幅との和より短くあってもよい。
【0007】
本発明の実施形態の一つは、支持構造物である。この支持構造物は、少なくとも一つのばねと、ばねの上に位置し、上面部と、ばねの中心軸から離れる第1方向に上面部から突出する突出部と、上面部から突出部にかけて形成される穴部とを有するばね座と、ばね座の下に位置し、ばねを挟む一対の側面部と、一対の側面部から第1方向に突出し、端部に開口を有する穴を有する突縁部と、ばね座と対向する底面部と、を有するケースと、ばね座と突縁部との間に位置し、穴部および突縁部の穴を通り、上面部の上に第1締結部および突縁部の下に第2締結部を有するロック装置と、突出部の上に位置する阻止部と、を有する。
【0008】
ばね座は、上面部から連続し、第1方向と交差する第2方向に突出部を挟み、ばねの中心軸が伸びる方向に貫通する第1設置穴および第2設置穴をそれぞれ有する第1設置部および第2設置部を有し、阻止部は、穴部、第1設置部、および第2設置部の上に配置され、第2方向に延びる第1本体部を有してもよい。
【0009】
阻止部は、第1設置穴に配置され、第1設置部の厚さより長い第1脚部と、第2設置穴に配置され、第2設置部の厚さより長い第2脚部とを有し、第1脚部および第2脚部は、第1本体部と接続してもよい。
【0010】
阻止部は、上面視において第1設置穴と重畳する第1固定穴と、第1設置穴および第1固定穴を貫通し、第1本体部の上に第1頭部が配置される第1締結部と、第1設置部の下に配置される第2締結部と、第2設置穴と重畳する第2固定穴と、第2設置穴および第2固定穴を貫通し、第1本体部の上に第2頭部が配置される第2締結部と、第2設置部の下に配置される第2締結部と、を有してもよい。
(【0011】以降は省略されています)
この特許をJ-PlatPat(特許庁公式サイト)で参照する
関連特許
日本発條株式会社
支持構造物
1か月前
日本発條株式会社
支持構造物
1か月前
日本発條株式会社
車両用シート
1か月前
日本発條株式会社
車両用シート
1か月前
日本発條株式会社
車両用シート
1か月前
日本発條株式会社
車両用シート
1か月前
日本発條株式会社
車両用立寝装置
1か月前
日本発條株式会社
車両用シート装置
1か月前
日本発條株式会社
車両用シート装置
1か月前
日本発條株式会社
コンタクトプローブ
1か月前
日本発條株式会社
コンタクトプローブ
1か月前
日本発條株式会社
車両用シートフレーム
1日前
日本発條株式会社
シートカバーの固定方法
1か月前
日本発條株式会社
ハーネス固定位置の識別構造
25日前
日本発條株式会社
ジョー組立体及びその把持面構造
1日前
日本発條株式会社
車両用シートの操作アシスト構造
1か月前
日本発條株式会社
ケーブルユニット及びその製造方法
1日前
日本発條株式会社
介在物評価方法及び試験片の製造方法
29日前
日本発條株式会社
制御装置、制御方法、及び、プログラム
1か月前
日本発條株式会社
駐車用パレット及びこれを有する駐車装置
1か月前
日本発條株式会社
記録装置、カバー、及びカバーの製造方法
1か月前
日本発條株式会社
チェーン、チェーン収容装置、及び、駐車装置
29日前
日本発條株式会社
車両用シートのブロア取付構造及び車両用シート
1日前
日本発條株式会社
面状ヒータの製造方法、面状ヒータ及び加熱装置
1か月前
日本発條株式会社
設計探査方法、設計探査プログラムおよび設計探査装置
1か月前
日本発條株式会社
サスペンション装置のロック機構及びサスペンション装置
1か月前
日本発條株式会社
モータの製造方法
1日前
日本発條株式会社
ケーブルの進退機構及びこれを用いたエンドエフェクターアッセンブリー
1日前
日本発條株式会社
設計探査方法、設計探査プログラム、設計探査装置および学習済みモデルの生成方法
1か月前
日本発條株式会社
モータの製造装置及びモータの製造方法
25日前
個人
留め具
25日前
個人
鍋虫ねじ
2か月前
個人
回転伝達機構
3か月前
個人
紛体用仕切弁
2か月前
個人
ホース保持具
6か月前
個人
トーションバー
7か月前
続きを見る
他の特許を見る