TOP
|
特許
|
意匠
|
商標
特許ウォッチ
Twitter
他の特許を見る
公開番号
2025170555
公報種別
公開特許公報(A)
公開日
2025-11-19
出願番号
2024075221
出願日
2024-05-07
発明の名称
筐体
出願人
金子産業株式会社
代理人
個人
,
個人
主分類
F16K
37/00 20060101AFI20251112BHJP(機械要素または単位;機械または装置の効果的機能を生じ維持するための一般的手段)
要約
【課題】筐体の内部に設置されたセンサと、センサの検知対象である検知体の相対関係を、筐体の外部から調整可能な手段を備える筐体を提供する。
【解決手段】
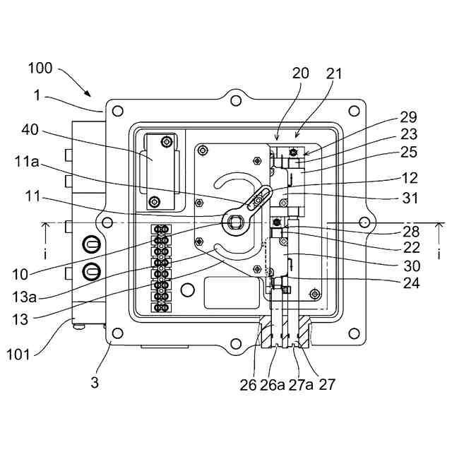
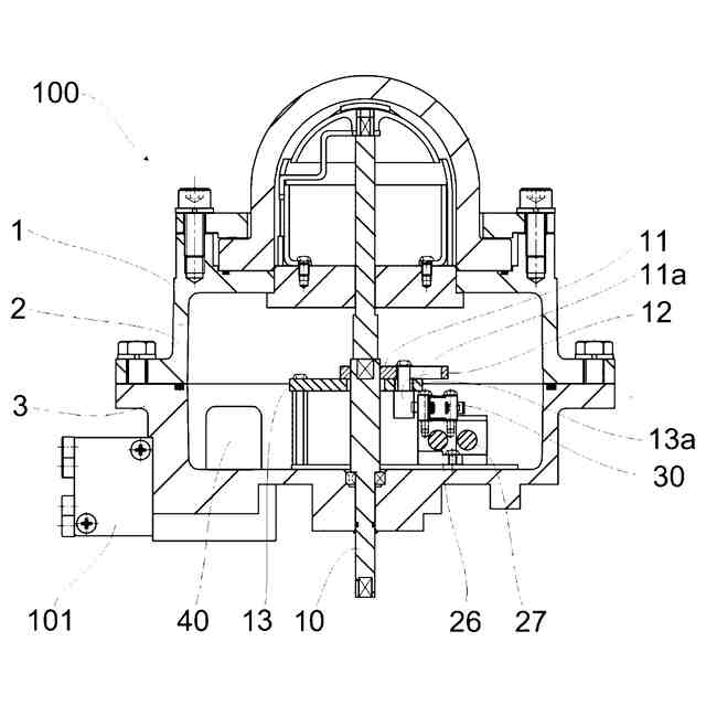
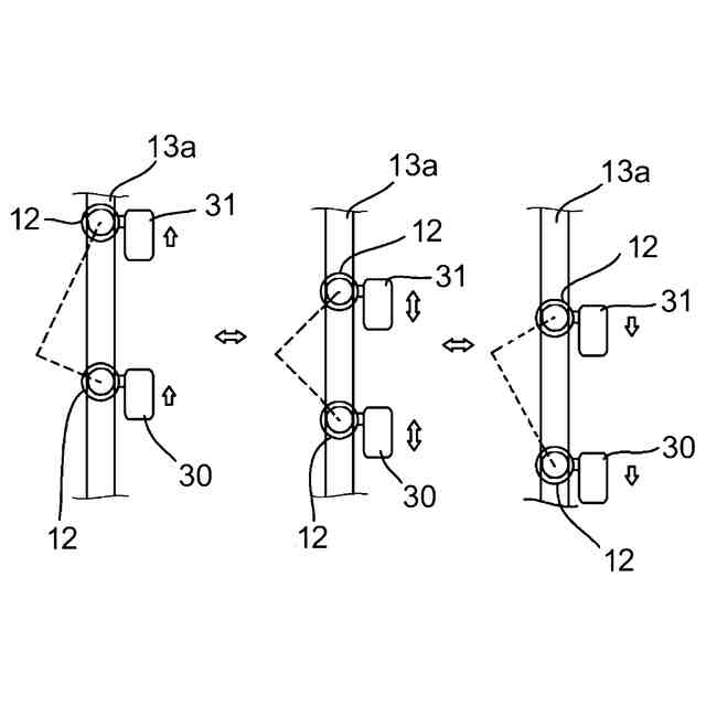
筐体1は、筐体1の内部に設置されたセンサ30と、センサの検知対象である検知体12と、センサ30と検知体12との相対関係を筐体の外部から調整する調整部20とを備える。これにより、筐体1の外部から、センサ30と検知体12の相対関係を調整できるため、爆発性雰囲気においても安全に筐体1内のセンサ30と検知体12の相対関係を調整することができる。
【選択図】 図2
特許請求の範囲
【請求項1】
筐体であって、
前記筐体の内部に設置されたセンサと、
前記センサの検知対象である検知体と、
前記センサと前記検知体との相対関係を前記筐体の外部から調整する調整部と、
を備える、筐体。
続きを表示(約 1,100 文字)
【請求項2】
前記センサは、前記検知体の所定の位置を検知する位置検知センサであり、
前記調整部は、前記相対関係として前記検知体の所定の位置を調整する、
請求項1に記載の筐体。
【請求項3】
前記調整部は、前記筐体における前記センサの設置位置を調整することで、前記検知体の所定の位置を調整する、
請求項2に記載の筐体。
【請求項4】
前記検知体は、前記筐体の内部で可動する可動体であり、
前記検知体の所定の位置は、前記可動体が特定の状態にあることを表す位置である、
請求項3に記載の筐体。
【請求項5】
前記位置検知センサは、前記検知体に当接することで、前記所定の位置を検知する、
請求項4に記載の筐体。
【請求項6】
前記筐体は、当該筐体の内部と外部とを連通する回転軸をさらに備え、
前記検知体は、前記回転軸の回転に応じて可動する、
請求項5に記載の筐体。
【請求項7】
前記筐体は、防爆対応である、請求項1乃至請求項6のいずれか一項に記載の筐体。
【請求項8】
前記筐体は、スプール弁を操作するコイルをさらに備える、
請求項7に記載の筐体。
【請求項9】
筐体であって、
当該筐体の内部と外部とを連通する回転軸と、
検知体と、
前記回転軸の回転運動に応じて前記検知体を直線上に可動させるカム機構と、
前記可動により所定の位置に到達した特定の状態の前記検知体を検知するセンサと、
調整部とを備え、
前記調整部は、
前記センサを支持している台座と、
前記台座を前記直線に沿って移動可能に支持するレールと、
少なくとも一端が前記筐体の外部に露出している棒状部材として形成され長手方向の軸線回りに回転可能に支持された駆動部材と、
前記駆動部材の回転運動を前記レールに沿った前記台座の直線運動に変換する変換機構と、
を有し、前記一端に回転力を加えることによって、前記筐体における前記センサの設置位置を調整することで、前記検知体の所定の位置を調整する、筐体。
【請求項10】
前記駆動部材は、前記棒状部材の外周にねじ山が形成されており、
前記台座は、内周に前記ねじ山に対応するねじ溝が形成され前記直線に沿って延びる穴を有しており、
前記変換機構は、前記駆動部材の回転運動を、前記ねじ山と前記ねじ溝との嵌合作用によって、前記レールに沿った前記台座の直線運動に変換する、
請求項9に記載の筐体。
(【請求項11】以降は省略されています)
発明の詳細な説明
【技術分野】
【0001】
本発明は、筐体に関する。
続きを表示(約 1,300 文字)
【背景技術】
【0002】
従来、主弁を備える装置において、主弁の開閉を検知するセンサの位置を調整する機構が知られている。例えば、特許文献1には、流量調整弁を設けたドラフトチャンバーにおいて、流量調整弁の開閉を検知するリミットスイッチの位置を調整する手段を有する、ドラフトチャンバーの排気装置が開示されている。
【先行技術文献】
【特許文献】
【0003】
特開2003-106590号公報
【発明の概要】
【発明が解決しようとする課題】
【0004】
特許文献1に開示されたドラフトチャンバーの排気装置は、リミットスイッチの取付け位置を調整するために、リミットスイッチが固定された取付け板を、流量調整弁の回転軸の軸心回りに無段階的に回動調節し得るように設けている。
【0005】
しかしながら、特許文献1では、リミットスイッチの位置を調整する際に、流量調整弁を動かすモータのカバーを取り外す必要があった。そのため、従来の排気装置を可燃性物質と支燃性物質とにより生成された爆発性ガス蒸気雰囲気の中に設置した場合には、カバーを取り外すことで、着火の原因となる電気花火や電気機器の故障などによる過熱で高温となる部分(着火源)が爆発性ガス蒸気雰囲気に晒されることになるため、火災や爆発の発生を防ぐために、筐体のカバーを取り外して筐体におけるリミットスイッチ等のセンサの設置位置を調整することができないという問題点があった。
【0006】
また、上述のようなリミットスイッチを備える排気装置のみならず、センサを備える筐体においては、爆発性ガスに晒される状態でなくとも、カバーを取り外す必要があり、また、場合によってはカバーの取り外しのために他の部品も取り外す必要もあることから、メンテナンス性が悪く、容易にセンサとセンサの検知対象である検知体との相対関係を調整することができないという問題もあった。
【0007】
本発明は、このような事情に鑑みてなされたものであって、リミットスイッチ等のセンサが内部に設置された筐体のカバーを取り外すことなく、筐体の外部からセンサと検知体との相対関係を調整する手段を備えた筐体を提供することを目的とする。
【課題を解決するための手段】
【0008】
本発明は、上記課題を解決するものであって、本発明の一実施形態に係る筐体は、
前記筐体の内部に設置されたセンサと、
前記センサの検知対象である検知体と、
前記センサと前記検知体との相対関係を前記筐体の外部から調整する調整部と、
を備える。
【発明の効果】
【0009】
本発明の一実施形態に係る筐体によれば、筐体の外部から、筐体の内部に設置されたセンサと検知体との相対関係を調整する調整部を備えている。
【0010】
そのため、筐体のカバーを取り外すことなく、筐体の内部に設置されたセンサと検知体との相対関係を調整することができる。
【図面の簡単な説明】
(【0011】以降は省略されています)
この特許をJ-PlatPat(特許庁公式サイト)で参照する
関連特許
金子産業株式会社
筐体
1日前
株式会社ニッスイ
生マグロ肉包装品、生マグロ肉包装品の製造方法、生マグロ塊肉の変色抑制方法、生マグロ塊肉、及び生マグロ塊肉の提供方法
2か月前
個人
留め具
1か月前
個人
鍋虫ねじ
2か月前
個人
紛体用仕切弁
2か月前
個人
回転伝達機構
3か月前
個人
ジョイント
2か月前
個人
給排気装置
1か月前
個人
ナット
2か月前
個人
地震の揺れ回避装置
3か月前
個人
ナット
15日前
個人
ゲート弁バルブ
今日
個人
吐出量監視装置
2か月前
柿沼金属精機株式会社
分岐管
3か月前
兼工業株式会社
バルブ
16日前
カヤバ株式会社
緩衝器
1か月前
アズビル株式会社
回転弁
1か月前
株式会社奥村組
制振機構
1か月前
株式会社奥村組
制振機構
1か月前
株式会社不二工機
電磁弁
2か月前
株式会社ニフコ
クリップ
1か月前
株式会社ノーリツ
分配弁
1か月前
株式会社タカギ
水栓装置
3か月前
株式会社不二工機
電動弁
1か月前
株式会社ニフコ
クリップ
今日
株式会社三五
ドライブシャフト
29日前
株式会社オンダ製作所
識別リング
3か月前
アイホン株式会社
電気機器
1か月前
株式会社不二越
転がり軸受
3か月前
株式会社ケアコム
取付器具
3か月前
アマテイ株式会社
釘
22日前
個人
誘導電流活用式差動制限装置
1か月前
株式会社ノナガセ
免震装置
1か月前
カヤバ株式会社
シリンダ装置
14日前
Astemo株式会社
緩衝器
21日前
個人
交互ピッチ湾曲保持ばね構造体
3か月前
続きを見る
他の特許を見る