TOP
|
特許
|
意匠
|
商標
特許ウォッチ
Twitter
他の特許を見る
公開番号
2025176359
公報種別
公開特許公報(A)
公開日
2025-12-04
出願番号
2024082453
出願日
2024-05-21
発明の名称
シリンダ装置
出願人
カヤバ株式会社
代理人
個人
主分類
F16F
9/32 20060101AFI20251127BHJP(機械要素または単位;機械または装置の効果的機能を生じ維持するための一般的手段)
要約
【課題】高速で伸縮しても十分な推力の発揮と、良好な搭載性とを実現可能なシリンダ装置を提供する。
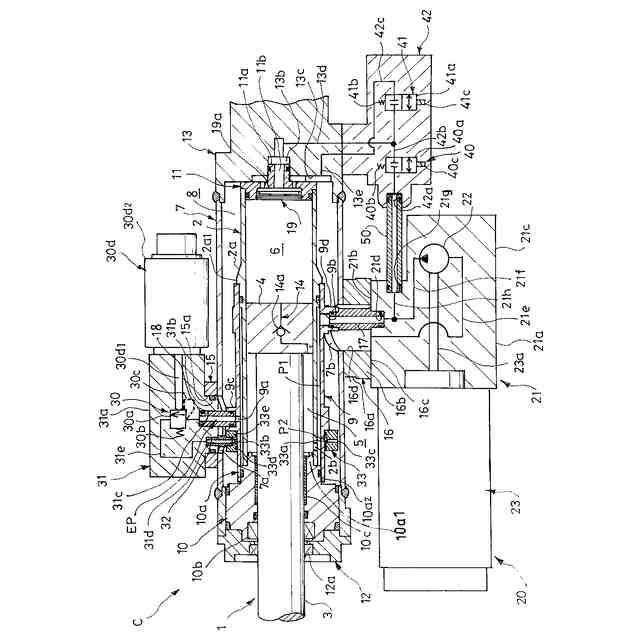
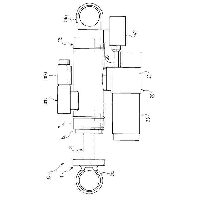
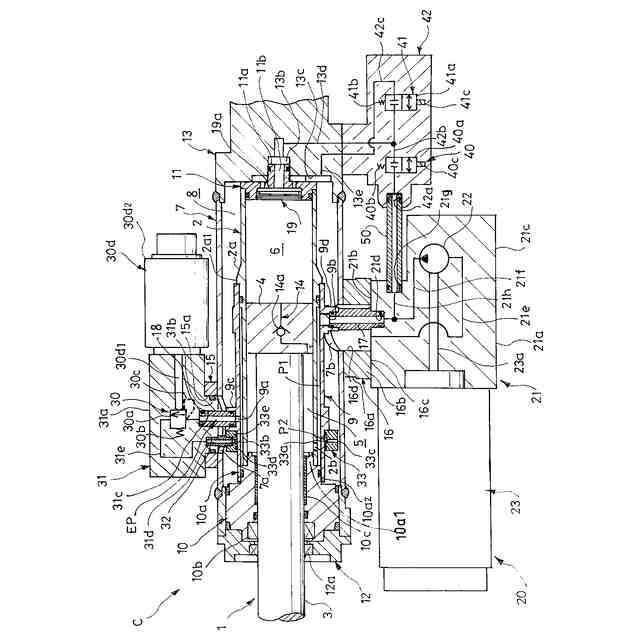
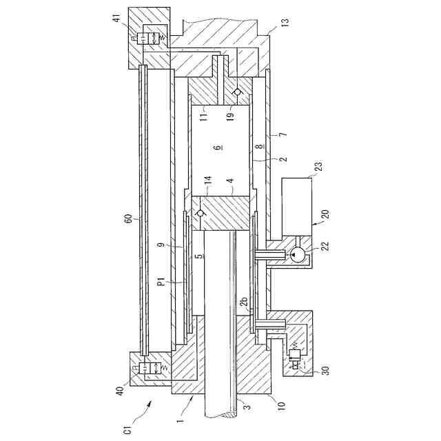
【解決手段】本発明のシリンダ装置Cは、シリンダ2と、ロッド3と、シリンダ2内をロッド側室5とピストン側室6とに区画するピストン4と、シリンダ2との間にタンク8を形成するアウターシェル7とを有する伸縮ユニット1と、タンク8からロッド側室5へ液体を供給可能なポンプ22を有するポンプユニット20と、ロッド側室5からタンク8へ向かう液体の流れに抵抗を与える可変リリーフ弁30と、ロッド側室5とピストン側室6との間に設けられる第1開閉弁40と、ピストン側室6とタンク8との間に設けられる第2開閉弁41とを備え、ロッド側室5と第1開閉弁40とを接続する通路の一部或はピストン側室6と第1開閉弁40とを接続する通路の一部がアウターシェル7の外側に配置される外配管50によって形成される。
【選択図】図2
特許請求の範囲
【請求項1】
シリンダと、前記シリンダ内に軸方向へ移動可能に挿入されるロッドと、前記シリンダ内に軸方向へ移動可能に挿入されて前記ロッドに連結されるとともに前記シリンダ内をロッド側室とピストン側室とに区画するピストンと、筒状であって前記シリンダの外周に配置されて前記シリンダとの間に液体を貯留するタンクを形成するアウターシェルとを有する伸縮ユニットと、
前記ロッド側室と前記タンクとの間に設けられて前記タンクから前記ロッド側室へ液体を供給可能なポンプと前記ポンプを駆動するモータとを有するポンプユニットと、
前記ロッド側室と前記タンクとの間に設けられて前記ロッド側室から前記タンクへ向かう液体の流れに抵抗を与える可変リリーフ弁と、
前記ロッド側室と前記ピストン側室との間に設けられる第1開閉弁と、
前記ピストン側室と前記タンクとの間に設けられる第2開閉弁とを備え、
前記ロッド側室と前記第1開閉弁とを接続する通路の一部或は前記ピストン側室と前記第1開閉弁とを接続する通路の一部は、前記アウターシェルの外側に配置される外配管によって形成される
ことを特徴とするシリンダ装置。
続きを表示(約 440 文字)
【請求項2】
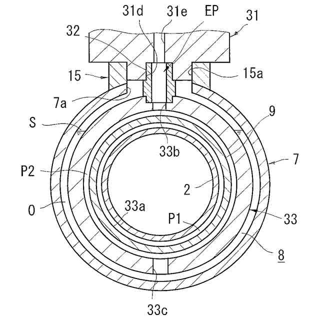
前記伸縮ユニットは、前記シリンダと前記アウターシェルとの間に設けられて、前記シリンダの少なくとも一部を覆うとともに前記シリンダとの間であって前記ロッド側室に連通される環状通路を形成する中間筒を有し、
前記ポンプ、前記可変リリーフ弁および前記第1開閉弁は、前記環状通路を介して前記ロッド側室に接続される
ことを特徴とする請求項1に記載のシリンダ装置。
【請求項3】
前記可変リリーフ弁は、前記アウターシェルの外周に装着されており、
前記可変リリーフ弁を前記タンクに連通する排出通路を備え、
前記排出通路は、
前記可変リリーフ弁から前記タンク内に延びる排出管路と、
前記中間筒の外周に嵌合するリングに設けられて前記排出管路に連通されるとともに前記タンク内であって少なくとも液体の液面より下方に連通される環状のタンク内通路とで形成される
ことを特徴とする請求項2に記載のシリンダ装置。
発明の詳細な説明
【技術分野】
【0001】
本発明は、シリンダ装置に関する。
続きを表示(約 1,600 文字)
【背景技術】
【0002】
従来、この種のシリンダ装置にあっては、制振対象に利用されて制振対象の振動を抑制する目的で使用される。シリンダ装置としては、たとえば、鉄道車両に車体の進行方向に対して左右方向の振動を抑制すべく、車体と台車との間に介装されて使用されるものが知られている。
【0003】
このようなシリンダ装置は、鉄道車両の台車と、鉄道車両の車体下部に設けた中心ピンとの間に介装されて使用され、出力する減衰力或いは推力で鉄道車両の進行方向に対して横方向の車体の振動を抑制でき、鉄道車両における乗心地を向上させる。
【0004】
シリンダ装置は、たとえば、シリンダと、シリンダを覆ってシリンダとの間にタンクを形成するアウターシェルと、シリンダ内に軸方向へ移動可能に挿入されるロッドと、シリンダ内に摺動自在に挿入されてロッドに連結されるとともにシリンダ内をロッド側室とピストン側室とに区画するピストンとを有する伸縮ユニットと、ロッド側室とタンクとを連通する供給通路の途中に設けられてタンクからロッド側室へ液体を供給可能なポンプとポンプを駆動するモータとを有するポンプユニットと、ロッド側室とタンクとを連通する排出通路の途中に設けられた可変リリーフ弁と、ロッド側室とピストン側室とを連通する第1通路の途中に設けられた第1開閉弁と、ピストン側室とタンクとを連通する第2通路の途中に設けられた第2開閉弁とを備えており、ポンプの駆動によって推力を発揮して車体の振動を抑制する(たとえば、特許文献1参照)。
【先行技術文献】
【特許文献】
【0005】
特許第7352710号公報
【発明の概要】
【発明が解決しようとする課題】
【0006】
シリンダ装置が利用される制振対象としての鉄道車両の中には、行先の異なる列車同士を連結して編成される編成列車中に組み込まれることがある。このような編成列車がトンネル内に侵入する際に、編成列車中の連結部分で気流が乱れて車体が高速で振動する現象がみられるが、車体が高速度振動して伸縮ユニットが伸縮すると、シリンダ内の容積変化にポンプの流量が追い付かずにシリンダ装置の車体の振動を抑制できなくなる可能性がある。
【0007】
ポンプの流量を大きくするには、ポンプを大型化すればよいのであるが、ポンプのみを大型化するだけでモータが出力可能なトルクが小さいと、ポンプの吐出圧が低下してシリンダ装置が発揮する推力が小さくなってしまうので、ポンプの大型化に伴ってモータも大型化する必要がある。このように、シリンダ装置が外力によって高速で伸縮する可能性がある用途で使用される場合には、ポンプユニットを大型化する必要がある。
【0008】
ポンプユニットを大型化すると、シリンダ装置全体が大型になってしまって、制振対象への搭載性が悪化するので、アウターシェルを可能な限り小径にしてシリンダ装置の大型化を避けたい。
【0009】
他方、従来のシリンダ装置では、ロッド側室をピストン側室へ連通させる必要があるため、シリンダとアウターシェルとの間にロッド側室内に連通されるともにタンクから隔絶される通路を形成するパイプをタンク内に収容しており、当該通路を第1通路の一部として利用して第1開閉弁をロッド側室に連通させている。このような従来のシリンダ装置では、タンク内にパイプを収容する必要があってパイプ内の通路面積の確保も必要であるため、アウターシェルの外径を小さくしてシリンダ装置を小型化したくとも小型化できない。
【0010】
それゆえ、従来のシリンダ装置では、高速で伸縮しても推力を発揮しできるようにポンプユニットを大型化すると、制振対象への搭載性が悪化してしまう問題があった。
(【0011】以降は省略されています)
この特許をJ-PlatPat(特許庁公式サイト)で参照する
関連特許
カヤバ株式会社
緩衝器
1か月前
カヤバ株式会社
緩衝器
1か月前
カヤバ株式会社
緩衝器
8日前
カヤバ株式会社
防水構造
1か月前
カヤバ株式会社
ミキサ車
1か月前
カヤバ株式会社
ミキサ車
1か月前
カヤバ株式会社
ミキサ車
1か月前
カヤバ株式会社
ギヤポンプ
1か月前
カヤバ株式会社
展開デッキ
1か月前
カヤバ株式会社
電動ポンプ
29日前
カヤバ株式会社
ギヤポンプ
1か月前
カヤバ株式会社
ギヤポンプ
1か月前
カヤバ株式会社
シリンダ装置
2日前
カヤバ株式会社
苗木植付装置
1か月前
カヤバ株式会社
苗木植付装置
1か月前
カヤバ株式会社
苗木植付装置
1か月前
カヤバ株式会社
苗木抜出装置
1か月前
カヤバ株式会社
シリンダ装置
1か月前
カヤバ株式会社
苗木植付装置
1か月前
カヤバ株式会社
苗木植付装置
1か月前
カヤバ株式会社
プラグ取付装置
2日前
カヤバ株式会社
筒型リニアモータ
1か月前
カヤバ株式会社
筒部材及び緩衝器
1か月前
カヤバ株式会社
筒部材及び緩衝器
1か月前
カヤバ株式会社
筒部材及び緩衝器
1か月前
カヤバ株式会社
ポンプの取付構造
2か月前
カヤバ株式会社
減衰力制御システム
8日前
カヤバ株式会社
ミキサドラムのシール構造
1か月前
カヤバ株式会社
ミキサ車及び状態検出装置
1か月前
カヤバ株式会社
ミキサドラムの積載量測定装置
16日前
カヤバ株式会社
ソレノイドバルブおよび緩衝器
1か月前
カヤバ株式会社
ソレノイドバルブおよび緩衝器
1か月前
カヤバ株式会社
減衰力制御装置および減衰力制御システム
8日前
カヤバ株式会社
減衰力制御装置および減衰力制御システム
8日前
カヤバ株式会社
ダンパ減衰力特性生成装置、ダンパ提示装置、及びプログラム
1か月前
カヤバ株式会社
減衰力制御装置、減衰力制御システムおよびセンサ部の補正方法
8日前
続きを見る
他の特許を見る