TOP
|
特許
|
意匠
|
商標
特許ウォッチ
Twitter
他の特許を見る
公開番号
2025154814
公報種別
公開特許公報(A)
公開日
2025-10-10
出願番号
2024058013
出願日
2024-03-29
発明の名称
ギヤポンプ
出願人
カヤバ株式会社
代理人
弁理士法人後藤特許事務所
主分類
F04C
2/18 20060101AFI20251002BHJP(液体用容積形機械;液体または圧縮性流体用ポンプ)
要約
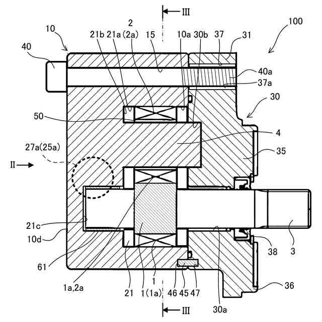
【課題】ギヤポンプの製造コストを低減させる。
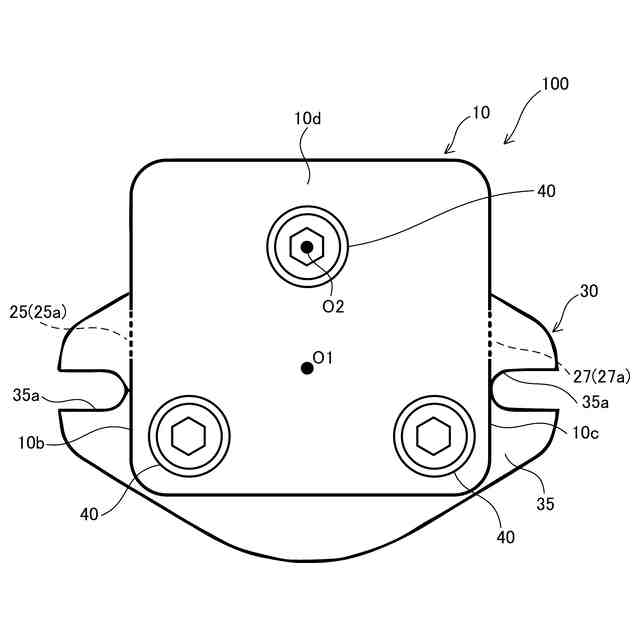
【解決手段】ギヤポンプ100は、動力源に連結される第一回転軸3を有するドライブギヤ1と、第二回転軸4に回転自在に支持されるとともに、ドライブギヤ1と噛み合いドライブギヤ1により回転されるドリブンギヤ2と、ドライブギヤ1及びドリブンギヤ2が収容されるボディ10と、ボディ10の開口部を覆うカバー30と、を備え、第一回転軸3は、ボディ10及びカバー30に回転自在に支持され、第二回転軸4は、ボディ10及びカバー30の一方と一体に形成される。
【選択図】図1
特許請求の範囲
【請求項1】
動力源に連結される第一回転軸を有するドライブギヤと、
第二回転軸に回転自在に支持されるとともに、前記ドライブギヤと噛み合い前記ドライブギヤにより回転されるドリブンギヤと、
前記ドライブギヤ及び前記ドリブンギヤが収容されるボディと、
前記ボディの開口部を覆うカバーと、を備え、
前記第一回転軸は、前記ボディ及び前記カバーに回転自在に支持され、
前記第二回転軸は、前記ボディ及び前記カバーの一方と一体に形成されることを特徴とするギヤポンプ。
続きを表示(約 220 文字)
【請求項2】
請求項1に記載のギヤポンプであって、
前記第二回転軸は、前記ボディ及び前記カバーの他方に嵌合することにより前記ボディに対する前記カバーの位置決めをすることを特徴とするギヤポンプ。
【請求項3】
請求項2に記載のギヤポンプであって、
前記ボディと前記カバーとを固定する複数の締結部材をさらに備え、
前記締結部材の一つは、前記第二回転軸を貫通して設けられることを特徴とするギヤポンプ。
発明の詳細な説明
【技術分野】
【0001】
本発明は、ギヤポンプに関するものである。
続きを表示(約 1,200 文字)
【背景技術】
【0002】
特許文献1には、一対のギヤが噛み合いながら回転して流体を吐出するギヤポンプが開示されている。ギヤポンプは、一対のギヤがそれぞれ組み込まれる一対のギヤ室を有するボディと、ボディを挟んで配置され、一対のギヤの回転軸を回転自在に支持する一対のハウジングと、を備える。ボディとハウジングは、位置決めピンによって位置決めされた状態で、締結部材としてのボルトによって締結される。
【先行技術文献】
【特許文献】
【0003】
WO2010/013354A1
【発明の概要】
【発明が解決しようとする課題】
【0004】
特許文献1に記載のギヤポンプでは、ボディ、ハウジング、位置決めピン、及び一対のギヤの回転軸が、それぞれ別体に設けられる。そのため、部品点数が多く、ギヤポンプの製造コストが嵩むおそれがある。
【0005】
本発明は、上記の問題点に鑑みてなされたものであり、ギヤポンプの製造コストを低減させることを目的とする。
【課題を解決するための手段】
【0006】
本発明は、ギヤポンプであって、動力源に連結される第一回転軸を有するドライブギヤと、第二回転軸に回転自在に支持されるとともに、ドライブギヤと噛み合いドライブギヤにより回転されるドリブンギヤと、ドライブギヤ及びドリブンギヤが収容されるボディと、ボディの開口部を覆うカバーと、を備え、第一回転軸は、ボディ及びカバーに回転自在に支持され、第二回転軸は、ボディ及びカバーの一方と一体に形成されることを特徴とする。
【0007】
この発明では、ドリブンギヤの第二回転軸がボディまたはカバーと一体に形成されるため、第二回転軸がボディ及びカバーと別体である構成よりもギヤポンプの部品点数を少なくすることができる。また、ドリブンギヤの耐久性を高めることができる。
【0008】
また、本発明は、第二回転軸は、ボディ及びカバーの他方に嵌合することによりボディに対するカバーの位置決めをすることを特徴とする。
【0009】
この発明では、ドリブンギヤの第二回転軸が、ボディに対するカバーの位置決めをする。言い換えれば、ギヤポンプでは、ドリブンギヤの第二回転軸が、ボディに対するカバーの位置決めをする位置決め部材を兼ねる。よって、第二回転軸が、ボディに対するカバーの位置決めとドリブンギヤの回転軸との二つの機能を有するため、位置決め部材を少なくすることができ、ギヤポンプの部品点数を少なくすることができる。
【0010】
また、本発明は、ギヤポンプであって、ボディとカバーとを固定する複数の締結部材をさらに備え、締結部材の一つは、第二回転軸を貫通して設けられることを特徴とする。
(【0011】以降は省略されています)
この特許をJ-PlatPat(特許庁公式サイト)で参照する
関連特許
カヤバ株式会社
緩衝器
1か月前
カヤバ株式会社
緩衝器
1か月前
カヤバ株式会社
防水構造
1か月前
カヤバ株式会社
ミキサ車
1か月前
カヤバ株式会社
ミキサ車
1か月前
カヤバ株式会社
ミキサ車
1か月前
カヤバ株式会社
電動ポンプ
8日前
カヤバ株式会社
ギヤポンプ
1か月前
カヤバ株式会社
ギヤポンプ
1か月前
カヤバ株式会社
ギヤポンプ
1か月前
カヤバ株式会社
展開デッキ
1か月前
カヤバ株式会社
シリンダ装置
9日前
カヤバ株式会社
苗木植付装置
1か月前
カヤバ株式会社
苗木植付装置
1か月前
カヤバ株式会社
苗木抜出装置
1か月前
カヤバ株式会社
苗木植付装置
1か月前
カヤバ株式会社
苗木植付装置
1か月前
カヤバ株式会社
苗木植付装置
1か月前
カヤバ株式会社
筒型リニアモータ
1か月前
カヤバ株式会社
筒部材及び緩衝器
1か月前
カヤバ株式会社
筒部材及び緩衝器
1か月前
カヤバ株式会社
筒部材及び緩衝器
1か月前
カヤバ株式会社
ポンプの取付構造
1か月前
カヤバ株式会社
ミキサドラムのシール構造
1か月前
カヤバ株式会社
ミキサ車及び状態検出装置
1か月前
カヤバ株式会社
ソレノイドバルブおよび緩衝器
1か月前
カヤバ株式会社
ソレノイドバルブおよび緩衝器
1か月前
カヤバ株式会社
ダンパ減衰力特性生成装置、ダンパ提示装置、及びプログラム
1か月前
個人
海流製造装置。
1か月前
株式会社スギノマシン
圧縮機
1か月前
株式会社ツインバード
送風装置
1か月前
ダイニチ工業株式会社
空調装置
5か月前
株式会社ツインバード
送風装置
1か月前
カヤバ株式会社
電動ポンプ
3か月前
日機装株式会社
遠心ポンプ
29日前
カヤバ株式会社
電動ポンプ
8日前
続きを見る
他の特許を見る