TOP
|
特許
|
意匠
|
商標
特許ウォッチ
Twitter
他の特許を見る
10個以上の画像は省略されています。
公開番号
2025154638
公報種別
公開特許公報(A)
公開日
2025-10-10
出願番号
2024057753
出願日
2024-03-29
発明の名称
苗木植付装置
出願人
カヤバ株式会社
代理人
弁理士法人グランダム特許事務所
主分類
A01G
23/04 20060101AFI20251002BHJP(農業;林業;畜産;狩猟;捕獲;漁業)
要約
【課題】取り出し対象の苗木を好適に取り出すことができる苗木植付装置を提供する。
【解決手段】苗木植付装置1は、地面Gに苗木Sを植え付ける。苗木植付装置1は、苗木配置部10と、苗木取出部30と、を備えている。苗木配置部10は、植え付け前の複数の苗木Sを配置する。苗木取出部30は、苗木配置部10から苗木Sを取り出す。苗木取出部30は、取出チャック32と、仕切板33とを有している。取出チャック32は、苗木Sを把持する一対の爪32Aと一対の爪32Aの間隔を変更自在に一対の爪32Aを支持する爪支持部32Bとを有する。仕切板33は、少なくとも1つ、一対の爪32Aの間隔変更の際の移動方向における爪支持部32Bの外側に配置される。
【選択図】図3
特許請求の範囲
【請求項1】
苗木を地面に植え付けるための苗木植付装置であって、
植え付け前の複数の苗木を配置する苗木配置部と、
前記苗木配置部から前記苗木を取り出す苗木取出部と、
を備えており、
前記苗木取出部は、前記苗木を把持する一対の爪と前記一対の爪の間隔を変更自在に前記一対の爪を支持する爪支持部とを有して構成される取出チャックと、
一対の前記爪の間隔変更の際の移動方向における前記爪支持部の外側に配置された少なくとも1つの仕切板と、
を有している、苗木植付装置。
続きを表示(約 94 文字)
【請求項2】
前記仕切板は、取り出し対象の前記苗木との対向方向の前端縁において、上方に向かうにつれて前記対向方向の後方に向けて傾斜している、請求項1に記載の苗木植付装置。
発明の詳細な説明
【技術分野】
【0001】
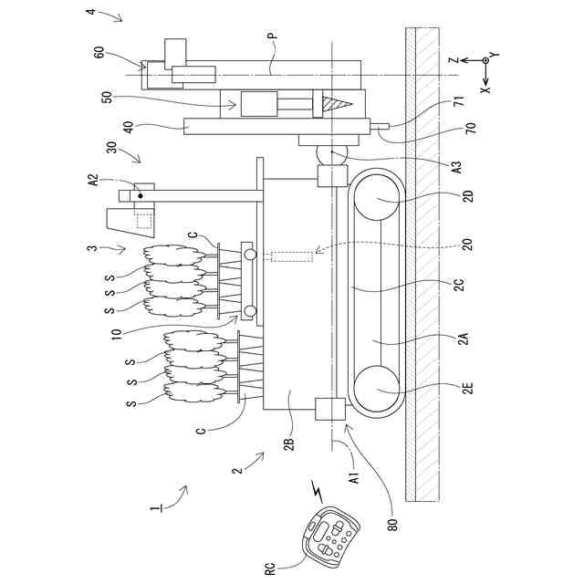
本発明は苗木植付装置に関する。
続きを表示(約 3,000 文字)
【背景技術】
【0002】
特許文献1は従来の苗木植付装置を開示している。この装置は、苗木を地面に植え付けるにあたり、架台上に配置した植え付け前の苗木をロボットハンドによって把持して取り出す。
【先行技術文献】
【特許文献】
【0003】
国際公開第2016/171111号
【発明の概要】
【発明が解決しようとする課題】
【0004】
特許文献1のように植え付け前の苗木を複数配置している場合、ロボットハンドによって取り出し対象の苗木を把持しようとすると、この取り出し対象の苗木に隣接する苗木の枝が取り出し対象の苗木の枝に絡まり合っていることがあり、取り出し対象でない苗木も取り出されてしまうことが懸念される。
【0005】
本発明は、上記従来の実情に鑑みてなされたものであって、取り出し対象の苗木を好適に取り出すことができる苗木植付装置を提供することを解決すべき課題としている。
【課題を解決するための手段】
【0006】
本発明に係る苗木植付装置は、苗木を地面に植え付ける。苗木植付装置は、苗木配置部と、苗木取出部と、を備えている。苗木配置部は、植え付け前の複数の苗木を配置する。苗木取出部は、苗木配置部から苗木を取り出す。苗木取出部は、取出チャックと、仕切板とを有している。取出チャックは、苗木を把持する一対の爪とこれら一対の爪の間隔を変更自在に一対の爪を支持する爪支持部とを有して構成される。仕切板は、少なくとも1つ、一対の爪の間隔変更の際の移動方向における爪支持部の外側に配置される。
【0007】
このような構成によって、苗木植付装置は、苗木取出部によって苗木を取り出す際に、取出チャックの把持対象の苗木と、この苗木に隣接する把持対象でない苗木との間に、仕切板を配置することができる。このため、隣接する把持対象でない苗木の枝が把持対象の苗木に絡まっていた場合でも、仕切板がその絡まりを解くことによって、把持対象の苗木のみを良好に取り出すことができる。また、仕切板は、一対の爪の間隔変更動作から切り離された配置とされる。このため、仕切板は、取り出し対象の苗木と取り出し対象でない苗木との間に配置された場合に、一対の爪の間隔変更動作に伴って移動することなく、その位置を保持することができる。その結果、苗木植付装置は、仕切板による苗木の仕切り機能を良好に発揮させることができる。
【0008】
苗木植付装置において、仕切板は、取り出し対象の苗木との対向方向の前端縁において、上方に向かうにつれて対向方向の後方に向けて傾斜し得る。この場合、苗木植付装置は、仕切板が苗木間に挿入される際の抵抗を小さくできる。これは、苗木等の植物の枝が幹の根元側から枝分かれしているからである。すなわち、仕切板が上方に向かうにつれて対向方向の後方に向けて傾斜した構成の場合、仕切板を枝の基端よりも下方から挿入することができるとともに、前端縁の傾斜面によって枝を上方に払いつつ挿入することができる。このため、少ない侵入抵抗で、仕切板を容易に挿入することができる。
【図面の簡単な説明】
【0009】
実施形態1に係る苗木植付装置を模式的に示す側面図である。
実施形態1に係る苗木植付装置を模式的に示す背面図である。
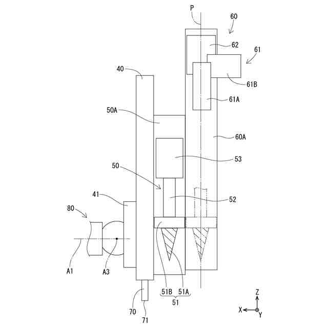
実施形態1に係る苗木取出ユニットを模式的に示す側面図である。
実施形態1に係る苗木取出ユニットを模式的に示す平面図である。
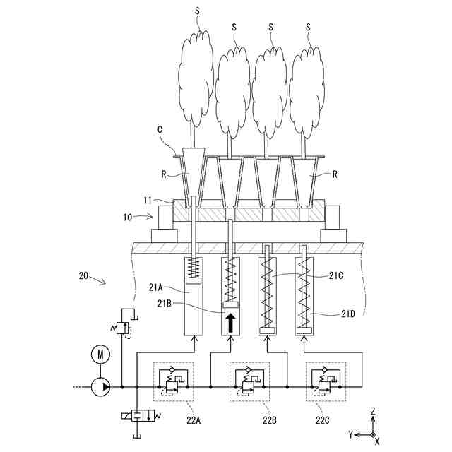
実施形態1に係る苗木植付装置に用いられるコンテナの例を模式的に示す斜視図である。
実施形態1に係る苗木抜出装置を説明するための図である。
実施形態1に係る苗木植付ユニットを模式的に示す側面図である。
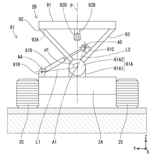
実施形態1に係る姿勢保持部を説明するための図(その1)である。
実施形態1に係る姿勢保持部を説明するための図(その2)である。
実施形態1に係る姿勢保持部を説明するための図(その3)である。
実施形態1に係る姿勢保持部を説明するための図(その4)である。
実施形態1に係る苗木植付装置の動作を説明するための図(その1)である。
実施形態1に係る苗木植付装置の動作を説明するための図(その2)である。
実施形態1に係る苗木植付装置の動作を説明するための図(その3)である。
実施形態1に係る苗木植付装置の動作を説明するための図(その4)である。
実施形態1に係る苗木植付装置の動作を説明するための図(その5)である。
実施形態1に係る苗木植付装置の動作を説明するための図(その6)である。
実施形態1に係る苗木植付装置の動作を説明するための図(その7)である。
実施形態1に係る苗木植付装置の動作を説明するための図(その8)である。
実施形態1に係る苗木植付装置の動作を説明するための図(その9)である。
実施形態1に係る苗木植付装置の動作を説明するための図(その10)である。
実施形態1に係る苗木植付装置の動作を説明するための図(その11)である。
実施形態1に係る苗木植付装置の動作を説明するための図(その12)である。
実施形態1に係る苗木植付装置の動作を説明するための図(その13)である。
実施形態1に係る苗木植付装置の動作を説明するための図(その14)である。
実施形態2に係る苗木植付装置を模式的に示す側面図である。
実施形態2に係る苗木植付装置を模式的に示す平面図である。
実施形態2に係る苗木植付装置を模式的に示す背面図である。
実施形態2に係る穴形成部を模式的に示す背面図である。
実施形態2に係る穴形成部を模式的に示す平面図である。
実施形態2に係る植付部を模式的に示す背面図である。
実施形態2に係る植付部を模式的に示す平面図である。
実施形態2に係る姿勢保持部を説明するための図(その1)である。
実施形態2に係る姿勢保持部を説明するための図(その2)である。
実施形態2に係る苗木植付装置の動作を説明するための図(その1)である。
実施形態2に係る苗木植付装置の動作を説明するための図(その2)である。
実施形態2に係る苗木植付装置の動作を説明するための図(その3)である。
実施形態2に係る苗木植付装置の動作を説明するための図(その4)である。
実施形態2に係る苗木植付装置の動作を説明するための図(その5)である。
実施形態2に係る苗木植付装置の動作を説明するための図(その6)である。
【発明を実施するための形態】
【0010】
<実施形態1>
本発明の苗木植付装置を具体化した実施形態1について、図面を参照しつつ説明する。以下の説明においては、本発明に係る苗木植付装置として、自走式の苗木植付装置1を例示する。また、以下の説明において参照する各図は、要部以外の構成の一部を省略し、簡略化して示している。
(【0011】以降は省略されています)
この特許をJ-PlatPat(特許庁公式サイト)で参照する
関連特許
カヤバ株式会社
緩衝器
1か月前
カヤバ株式会社
減圧弁
1か月前
カヤバ株式会社
緩衝器
1か月前
カヤバ株式会社
防水構造
28日前
カヤバ株式会社
ミキサ車
28日前
カヤバ株式会社
ミキサ車
28日前
カヤバ株式会社
ミキサ車
28日前
カヤバ株式会社
展開デッキ
28日前
カヤバ株式会社
摩擦試験機
1か月前
カヤバ株式会社
電動ポンプ
1か月前
カヤバ株式会社
電動ポンプ
3か月前
カヤバ株式会社
ギヤポンプ
28日前
カヤバ株式会社
ギヤポンプ
28日前
カヤバ株式会社
ギヤポンプ
28日前
カヤバ株式会社
苗木抜出装置
28日前
カヤバ株式会社
苗木植付装置
28日前
カヤバ株式会社
冗長システム
2か月前
カヤバ株式会社
苗木植付装置
28日前
カヤバ株式会社
高所作業装置
1か月前
カヤバ株式会社
シリンダ装置
1日前
カヤバ株式会社
苗木植付装置
28日前
カヤバ株式会社
苗木植付装置
28日前
カヤバ株式会社
苗木植付装置
28日前
カヤバ株式会社
チェックバルブ
1か月前
カヤバ株式会社
流体圧制御装置
1か月前
カヤバ株式会社
筒型リニアモータ
1か月前
カヤバ株式会社
筒部材及び緩衝器
1か月前
カヤバ株式会社
筒部材及び緩衝器
1か月前
カヤバ株式会社
筒部材及び緩衝器
1か月前
カヤバ株式会社
ポンプの取付構造
1か月前
カヤバ株式会社
回転機の製造方法
1か月前
カヤバ株式会社
バルブおよび緩衝器
1か月前
カヤバ株式会社
反力アクチュエータ
1か月前
カヤバ株式会社
バルブおよび緩衝器
1か月前
カヤバ株式会社
ステアバイワイヤ装置
3か月前
カヤバ株式会社
アクチュエータユニット
1か月前
続きを見る
他の特許を見る