TOP
|
特許
|
意匠
|
商標
特許ウォッチ
Twitter
他の特許を見る
10個以上の画像は省略されています。
公開番号
2025154639
公報種別
公開特許公報(A)
公開日
2025-10-10
出願番号
2024057754
出願日
2024-03-29
発明の名称
苗木植付装置
出願人
カヤバ株式会社
代理人
弁理士法人グランダム特許事務所
主分類
A01G
23/04 20060101AFI20251002BHJP(農業;林業;畜産;狩猟;捕獲;漁業)
要約
【課題】苗木を安定した状態で良好に植え付けることができる苗木植付装置を提供する。
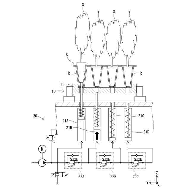
【解決手段】苗木植付装置1は、苗木Sを地面Gに植え付ける。苗木植付装置1は、検出部70を備えている。検出部70は接地部71を有している。接地部71は、昇降自在に設けられて地面Gに接触する。そして、検出部70は、接地部71の地面Gへの接触に基づいて地面Gにおける所定の硬度の層Ghを検出する。
【選択図】図18
特許請求の範囲
【請求項1】
苗木を地面に植え付けるための苗木植付装置であって、
昇降自在に設けられて前記地面に接触する接地部を有し、前記接地部の前記地面への接触に基づいて前記地面における所定の硬度の層を検出する検出部を備えている、苗木植付装置。
続きを表示(約 320 文字)
【請求項2】
前記検出部は、前記接地部を下降させて前記地面に押し付けた際の荷重の大きさを測定する測定部を有する、請求項1に記載の苗木植付装置。
【請求項3】
前記接地部は、流体圧式のアクチュエータによって昇降し、
前記検出部は、前記接地部を下降させて前記地面に押し付けた際に前記アクチュエータに作用する流体圧の大きさを測定する測定部を有する、請求項1に記載の苗木植付装置。
【請求項4】
前記検出部は、前記接地部を下降させて前記地面に押し付けた際の荷重の大きさに応じて収縮するばねと、前記ばねが所定の長さに収縮したことを検知する検知部と、を有している、請求項1に記載の苗木植付装置。
発明の詳細な説明
【技術分野】
【0001】
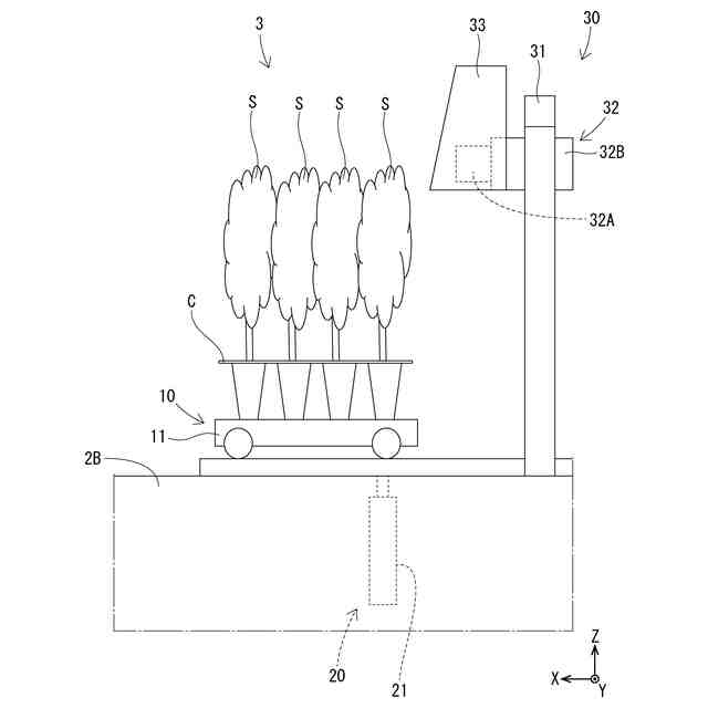
本発明は苗木植付装置に関する。
続きを表示(約 1,200 文字)
【背景技術】
【0002】
特許文献1は従来の苗木植付装置を開示している。この装置は、苗木を地面に植え付ける。苗木は、オーガによって地面に形成された穴に植え付けられる。
【先行技術文献】
【特許文献】
【0003】
国際公開第2016/171111号
【発明の概要】
【発明が解決しようとする課題】
【0004】
苗木の植え付けられる地面の表面には、腐葉土等の軟質な層が形成されている場合がある。地表面の軟質な層に植え付けられた苗木は、安定して固定することが困難である。
【0005】
本発明は、上記従来の実情に鑑みてなされたものであって、苗木を安定した状態で良好に植え付けることができる苗木植付装置を提供することを解決すべき課題としている。
【課題を解決するための手段】
【0006】
本発明に係る苗木植付装置は、苗木を地面に植え付ける。苗木植付装置は検出部を備えている。検出部は、接地部を有している。接地部は、昇降自在に設けられて地面に接触する。検出部は、接地部の地面への接触に基づいて、地面における所定の硬度の層を検出する。
【0007】
このような構成によって、苗木植付装置は、地面における苗木の植え付けに適した硬さの層を良好に把握できる。したがって、苗木植付装置は、苗木を安定した状態で良好に植え付けることができる。
【0008】
苗木植付装置において、検出部は、接地部を下降させて地面に押し付けた際の荷重の大きさを測定する測定部を有し得る。この場合、苗木植付装置は、苗木の植え付けに適した硬さの層を良好に把握できる構成を簡易に実現できる。
【0009】
苗木植付装置において、接地部は、流体圧式のアクチュエータによって昇降し得る。そして、検出部は、接地部を下降させて地面に押し付けた際にアクチュエータに作用する流体圧の大きさを測定する測定部を有し得る。この場合、苗木植付装置は、苗木の植え付けに適した硬さの層を良好に把握できる構成を簡易に実現できる。すなわち、検出部は、接地部の昇降のために設けたアクチュエータを利用し、このアクチュエータに作用する流体圧の大きさを測定することによって、所定の硬さの層を検出する。このため、苗木植付装置1は、簡易な構成による所定の硬さの層の検出を実現できる。
【0010】
苗木植付装置において、検出部は、接地部を下降させて地面に押し付けた際の荷重の大きさに応じて収縮するばねと、ばねが所定の長さに収縮したことを検知する検知部と、を有し得る。この場合、苗木植付装置は、苗木の植え付けに適した硬さの層を良好に把握できる構成を簡易に実現できる。
【図面の簡単な説明】
(【0011】以降は省略されています)
この特許をJ-PlatPat(特許庁公式サイト)で参照する
関連特許
カヤバ株式会社
減圧弁
1か月前
カヤバ株式会社
緩衝器
1か月前
カヤバ株式会社
緩衝器
1か月前
カヤバ株式会社
ミキサ車
1か月前
カヤバ株式会社
ミキサ車
1か月前
カヤバ株式会社
ミキサ車
1か月前
カヤバ株式会社
防水構造
1か月前
カヤバ株式会社
ギヤポンプ
1か月前
カヤバ株式会社
展開デッキ
1か月前
カヤバ株式会社
電動ポンプ
1か月前
カヤバ株式会社
ギヤポンプ
1か月前
カヤバ株式会社
電動ポンプ
8日前
カヤバ株式会社
ギヤポンプ
1か月前
カヤバ株式会社
苗木抜出装置
1か月前
カヤバ株式会社
苗木植付装置
1か月前
カヤバ株式会社
高所作業装置
1か月前
カヤバ株式会社
苗木植付装置
1か月前
カヤバ株式会社
苗木植付装置
1か月前
カヤバ株式会社
苗木植付装置
1か月前
カヤバ株式会社
シリンダ装置
9日前
カヤバ株式会社
苗木植付装置
1か月前
カヤバ株式会社
筒部材及び緩衝器
1か月前
カヤバ株式会社
筒型リニアモータ
1か月前
カヤバ株式会社
回転機の製造方法
1か月前
カヤバ株式会社
筒部材及び緩衝器
1か月前
カヤバ株式会社
筒部材及び緩衝器
1か月前
カヤバ株式会社
ポンプの取付構造
1か月前
カヤバ株式会社
ブッシュ及び液圧回転機
1か月前
カヤバ株式会社
ステアバイワイヤユニット
1か月前
カヤバ株式会社
ミキサ車及び状態検出装置
1か月前
カヤバ株式会社
ミキサドラムのシール構造
1か月前
カヤバ株式会社
ソレノイドバルブおよび緩衝器
1か月前
カヤバ株式会社
ソレノイドバルブおよび緩衝器
1か月前
カヤバ株式会社
モータ制御装置、及びプログラム
1か月前
カヤバ株式会社
ダンパ減衰力特性生成装置、ダンパ提示装置、及びプログラム
1か月前
個人
釣り用錘
5日前
続きを見る
他の特許を見る