TOP
|
特許
|
意匠
|
商標
特許ウォッチ
Twitter
他の特許を見る
公開番号
2025140962
公報種別
公開特許公報(A)
公開日
2025-09-29
出願番号
2024040637
出願日
2024-03-15
発明の名称
バルブおよび緩衝器
出願人
カヤバ株式会社
代理人
個人
主分類
F16F
9/348 20060101AFI20250919BHJP(機械要素または単位;機械または装置の効果的機能を生じ維持するための一般的手段)
要約
【課題】減衰力特性の設定自由度を向上できるとともに、ランド部を省略あるいはランド部の面積を小さくして安定して減衰力を発生可能なバルブを提供する。
【解決手段】本発明のバルブVは、圧側ポート2dを有するピストン2と、ピストン2に積層されて圧側ポート2dを開閉する圧側積層リーフバルブ1とを備え、圧側積層リーフバルブ1は、ピストン2に積層されるとともに圧側ポート2dに連通される圧抜き孔1a3を有する第1リーフバルブ1aと、第1リーフバルブ1aの反ピストン側に積層されて圧抜き孔1a3を閉塞する第2リーフバルブ1bとを有し、圧側積層リーフバルブ1が圧側ポート2dを開放する際に、圧抜き孔1a3は第2リーフバルブ1bによって閉塞されたままとなることを特徴とする。
【選択図】 図2
特許請求の範囲
【請求項1】
ポートを有する弁座部材と、
前記弁座部材に積層されて前記ポートを開閉する積層リーフバルブとを備え、
前記積層リーフバルブは、前記弁座部材に積層されるとともに前記ポートに連通される圧抜き孔を有する第1リーフバルブと、前記第1リーフバルブの反弁座部材側に積層されて前記圧抜き孔を閉塞する第2リーフバルブとを有し、
前記積層リーフバルブが前記ポートを開放する際に、前記圧抜き孔は前記第2リーフバルブによって閉塞されたままとなる
ことを特徴とするバルブ。
続きを表示(約 390 文字)
【請求項2】
前記第1リーフバルブの撓み剛性は、前記第2リーフバルブの撓み剛性以下である
ことを特徴とする請求項1に記載のバルブ。
【請求項3】
前記第1リーフバルブの厚みは、前記第2リーフバルブの厚さ以下である
ことを特徴とする請求項1に記載のバルブ。
【請求項4】
前記第1リーフバルブには、前記圧抜き孔が複数形成されている
ことを特徴とする請求項1に記載のバルブ。
【請求項5】
アウターチューブと、前記アウターチューブ内に軸方向へ移動可能に挿入されるロッドと、前記アウターチューブに対する前記ロッドの移動によって液体が行き来する少なくとも2つの作動室とを有する緩衝器本体と、
前記作動室間に設けられた請求項1から4のいずれか一項に記載のバルブとを備えた
ことを特徴とする緩衝器。
発明の詳細な説明
【技術分野】
【0001】
本発明は、バルブおよび緩衝器に関する。
続きを表示(約 1,500 文字)
【背景技術】
【0002】
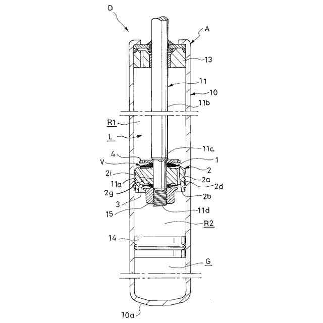
緩衝器は、たとえば、車両における乗心地を向上する目的で、車両における車体と車軸との間に介装されて使用され、伸縮時に発揮する減衰力で車体および車輪の振動を抑制する。
【0003】
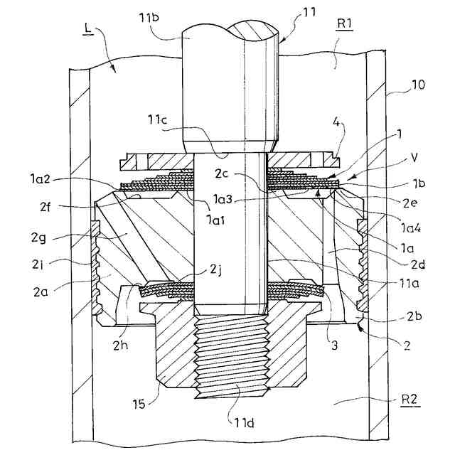
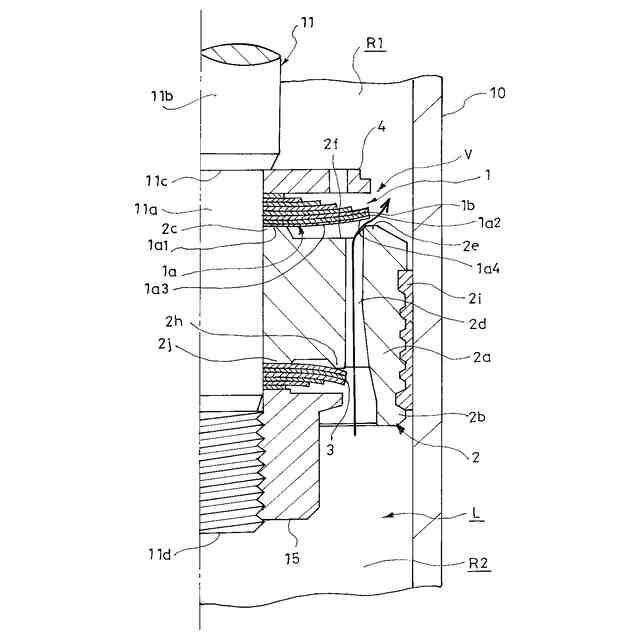
このような緩衝器は、たとえば、シリンダと、シリンダ内に移動自在に挿入されるピストンロッドと、ピストンロッドの一端に連結されてシリンダ内を一方室と他方室に区画するとともに一方室と他方室を連通するポートを有するピストンと、環状であって内周側を固定端としてピストンロッドに固定され外周側を自由端として撓みが許容された状態でピストンの一方室側に積層されてポートの一方室側開口を閉塞する複数のリーフバルブを積層して構成される積層リーフバルブとを備えている。そして、バルブはピストンとリーフバルブとで構成されている。
【0004】
また、ピストンは、ポートの一方室側開口の内周側に設けられて積層リーフバルブの内周側が積層されるボス部と、ポートの一方室側開口の外周側に設けられてポートを囲って積層リーフバルブの自由端側が当接する環状の弁座とを備えている。
【0005】
そして、ピストンが他方室を圧縮する方向に移動すると、他方室の圧力が高くなるので、他方室の作動油はポートを通じて圧力が低い一方室へ移動しようとする。すると、積層リーフバルブは、他方室の圧力をピストン側面となる正面で受けて自由端である外周側を撓ませて弁座から離間させてポートを開放しつつ、通過する作動油の流れに抵抗を与えて減衰力を発生させる(例えば、特許文献1参照)。
【0006】
他方、ピストンが一方室を圧縮する方向に移動すると、一方室の圧力が高くなるが、積層リーフバルブはピストンの一方室側端に積層されていて、一方室の圧力を反ピストン側面となる背面で受けてピストンへ押し付けられるため、ポートを閉塞して作動油の通過を阻止する。
【先行技術文献】
【特許文献】
【0007】
特開2021-143696号公報
【発明の概要】
【発明が解決しようとする課題】
【0008】
従来のバルブでは、ピストンが一方室を圧縮する方向に移動して一方室の圧力が高くなると、最もピストン側に配置されてピストンに当接する1番目のリーフバルブと、1番目のリーフバルブの背面に積層される2番目のリーフバルブとの間に作動油が入り込むことがある。
【0009】
そして、自由端がピストンの弁座に着座している1番目のリーフバルブは、内周がピストンのボス部に支持されるとともに外周がピストンの弁座に支持されているが、固定端と自由端の間の部分は、ピストンのボス部と弁座の間に形成される環状凹部と対向して、何ら支持されていない。そのため、1番目のリーフバルブと2番目のリーフバルブとの間に作動油が入り込むと、1番目のリーフバルブと2番目のリーフバルブの間の圧力が上昇して、1番目のリーフバルブが背面側から押圧されるため、1番目のリーフバルブの固定端と自由端の間の部分がピストン側に凸状に撓んで、1番目のリーフバルブに大きな応力が作用し、1番目のリーフバルブを疲労させてしまう可能性がある。
【0010】
1番目のリーフバルブの疲労を軽減するためには、1番目のリーフバルブの厚みを厚くしたり、1番目のリーフバルブの撓み剛性を高くして、1番目のリーフバルブの耐久性を高める方法が考えられるが、1番目のリーフバルブの耐久性を高くすると積層リーフバルブの開弁圧も高くなるため、バルブの減衰力特性の設定自由度に制約が生じてしまう。
(【0011】以降は省略されています)
この特許をJ-PlatPat(特許庁公式サイト)で参照する
関連特許
カヤバ株式会社
減圧弁
1か月前
カヤバ株式会社
緩衝器
1か月前
カヤバ株式会社
緩衝器
1か月前
カヤバ株式会社
防水構造
1か月前
カヤバ株式会社
ミキサ車
1か月前
カヤバ株式会社
ミキサ車
1か月前
カヤバ株式会社
ミキサ車
1か月前
カヤバ株式会社
電動ポンプ
8日前
カヤバ株式会社
摩擦試験機
1か月前
カヤバ株式会社
展開デッキ
1か月前
カヤバ株式会社
電動ポンプ
1か月前
カヤバ株式会社
ギヤポンプ
1か月前
カヤバ株式会社
ギヤポンプ
1か月前
カヤバ株式会社
ギヤポンプ
1か月前
カヤバ株式会社
高所作業装置
1か月前
カヤバ株式会社
苗木植付装置
1か月前
カヤバ株式会社
苗木植付装置
1か月前
カヤバ株式会社
苗木植付装置
1か月前
カヤバ株式会社
苗木植付装置
1か月前
カヤバ株式会社
苗木植付装置
1か月前
カヤバ株式会社
苗木抜出装置
1か月前
カヤバ株式会社
シリンダ装置
9日前
カヤバ株式会社
チェックバルブ
1か月前
カヤバ株式会社
回転機の製造方法
1か月前
カヤバ株式会社
筒型リニアモータ
1か月前
カヤバ株式会社
筒部材及び緩衝器
1か月前
カヤバ株式会社
筒部材及び緩衝器
1か月前
カヤバ株式会社
筒部材及び緩衝器
1か月前
カヤバ株式会社
ポンプの取付構造
1か月前
カヤバ株式会社
バルブおよび緩衝器
1か月前
カヤバ株式会社
バルブおよび緩衝器
1か月前
カヤバ株式会社
アクチュエータユニット
1か月前
カヤバ株式会社
ブッシュ及び液圧回転機
1か月前
カヤバ株式会社
ステアバイワイヤユニット
1か月前
カヤバ株式会社
ミキサ車及び状態検出装置
1か月前
カヤバ株式会社
ミキサドラムのシール構造
1か月前
続きを見る
他の特許を見る