TOP
|
特許
|
意匠
|
商標
特許ウォッチ
Twitter
他の特許を見る
10個以上の画像は省略されています。
公開番号
2025154640
公報種別
公開特許公報(A)
公開日
2025-10-10
出願番号
2024057755
出願日
2024-03-29
発明の名称
苗木植付装置
出願人
カヤバ株式会社
代理人
弁理士法人グランダム特許事務所
主分類
A01G
23/04 20060101AFI20251002BHJP(農業;林業;畜産;狩猟;捕獲;漁業)
要約
【課題】安定性の向上を図ることができる苗木植付装置を提供する。
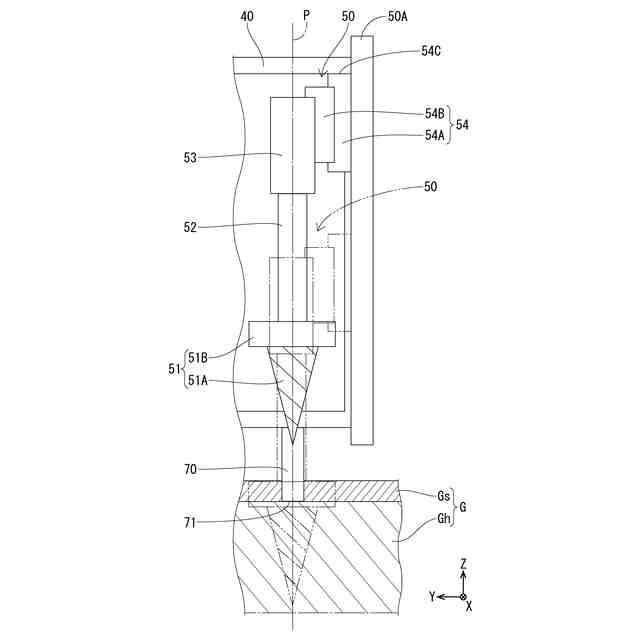
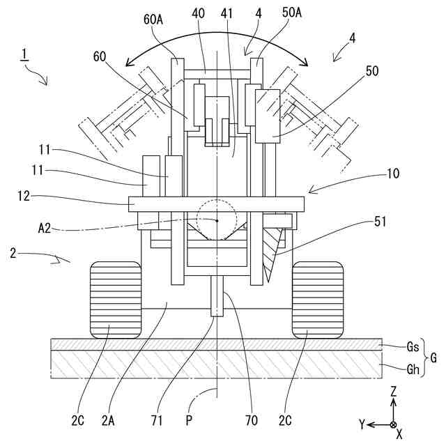
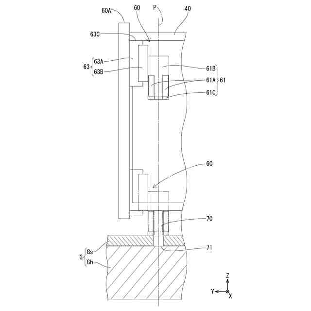
【解決手段】苗木植付装置1は、任意の軸(植付軸P)上の地面Gに苗木Sを植え付ける。苗木植付装置1は、穴形成部50と植付部60とを備える。穴形成部50は、ドリル51及びドリル移動機構部54を有する。穴形成部50は、ドリル移動機構部54によってドリル51を任意の軸上に移動させた状態で、この軸に沿ってドリル51を移動させて軸上の地面Gに穴Dを形成する。植付部60は、植付チャック61及びチャック移動機構部63を有する。植付部60は、チャック移動機構部63によって、植付チャック61を任意の軸上から退避させた位置に移動させて植付チャック61に苗木Sを把持させる。植付部60は、チャック移動機構部63によって植付チャック61を植付軸P上に移動させ、植付チャック61によって把持した苗木Sを穴形成部50が形成した穴Dに植え付ける。
【選択図】図2
特許請求の範囲
【請求項1】
任意の軸上の地面に苗木を植え付ける苗木植付装置であって、
前記地面に穴を形成するドリルと、前記ドリルを前記軸上で移動させるとともに前記軸上の位置と前記軸上から退避した位置との間で前記ドリルを移動させるドリル移動機構部と、を有し、前記ドリル移動機構部によって前記ドリルを前記軸上に移動させた状態で、前記軸に沿って前記ドリルを移動させて前記軸上の前記地面に穴を形成する穴形成部と、
前記苗木を把持する植付チャックと、前記軸上の位置と前記軸上から退避した位置との間で前記植付チャックを移動させるチャック移動機構部と、を有し、前記チャック移動機構部によって前記植付チャックを前記軸上から退避させた位置に移動させて前記植付チャックに前記苗木を把持させるとともに、前記チャック移動機構部によって前記植付チャックを前記軸上に移動させ、前記植付チャックによって把持した前記苗木を前記穴に植え付ける植付部と、
を備えている、苗木植付装置。
続きを表示(約 420 文字)
【請求項2】
上下に延びるスライドレールに沿って移動自在なメインスライダを備え、
前記ドリル移動機構部は、前記メインスライダに固定的に配置された穴形成ガイドレールと、前記穴形成ガイドレール上を移動する穴形成スライド部材と、を有して前記ドリルを前記軸に沿って移動させ、
前記チャック移動機構部は、前記メインスライダに対して固定的に配置された植付ガイドレールと、前記植付ガイドレール上を移動する植付スライド部材と、を有して前記植付チャックを前記軸に沿って移動させる、請求項1に記載の苗木植付装置。
【請求項3】
前記ドリル移動機構部は、前記軸に平行な任意の軸周りに旋回させて前記ドリルを移動させる、請求項1又は請求項2に記載の苗木植付装置。
【請求項4】
前記チャック移動機構部は、前記軸に平行な任意の軸周りに旋回させて前記植付チャックを移動させる、請求項1又は請求項2に記載の苗木植付装置。
発明の詳細な説明
【技術分野】
【0001】
本発明は苗木植付装置に関する。
続きを表示(約 1,900 文字)
【背景技術】
【0002】
特許文献1は従来の苗木植付装置を開示している。この苗木植付装置は、穴形成部としてのさく孔装置と、植付部としての収納植込み装置とを備えている。さく孔装置は、ドリルとしてのオーガによって植込み穴を形成する。収納植込み装置は、チャックとしてのクランプを有して把持した苗木を植込み穴に植え付ける。オーガは送り装置によって上下に移動する。クランプは、スイング機構によってクランプアームを介して旋回し、植込み穴の真上と、この穴の真上位置から退避した位置と、の間で移動する。
【先行技術文献】
【特許文献】
【0003】
特開2004-33152号公報
【発明の概要】
【発明が解決しようとする課題】
【0004】
特許文献1の場合、オーガによる植込み穴の形成時には、クランプが退避位置に退避した状態でオーガを下降させて植込み穴を形成する。クランプによる苗木の植付時には、植込み穴の真上にクランプを移動させて、苗木を穴に植え付ける。この苗木の植付時において、特許文献1の苗木植付装置は、オーガを上方に退避させる。このため、この苗木植付装置は、オーガの上下方向の移動量を退避に必要な分大きくとっている。この場合、苗木植付装置は、全体高さがその分高くなり、重心位置の上昇を招き、安定性が低下する懸念がある。
【0005】
本発明は、上記従来の実情に鑑みてなされたものであって、安定性の向上を図ることができる苗木植付装置を提供することを解決すべき課題としている。
【課題を解決するための手段】
【0006】
本発明に係る苗木植付装置は、任意の軸上の地面に苗木を植え付ける。苗木植付装置は、穴形成部と、植付部とを備える。穴形成部は、ドリルとドリル移動機構部とを有する。ドリルは地面に穴を形成する。ドリル移動機構部は、ドリルを上記軸上で移動させるとともに、上記軸上の位置と上記軸上から退避した位置との間でドリルを移動させる。穴形成部は、ドリル移動機構部によってドリルを上記軸上に移動させた状態で、上記軸に沿ってドリルを移動させて上記軸上の地面に穴を形成する。植付部は、植付チャックとチャック移動機構部とを有する。植付チャックは苗木を把持する。チャック移動機構部は、上記軸上の位置と上記軸上から退避した位置との間で植付チャックを移動させる。植付部は、チャック移動機構部によって植付チャックを上記軸上から退避させた位置に移動させて植付チャックに苗木を把持させる。植付部は、チャック移動機構部によって植付チャックを上記軸上に移動させ、植付チャックによって把持した苗木を穴形成部が形成した穴に植え付ける。
【0007】
この苗木植付装置は、任意の軸上に穴を形成し、この軸上の穴に苗木を植え付けるにあたり、ドリル移動機構部によってドリルをこの軸上から退避させることができるとともに、チャック移動機構部によって植付チャックをこの軸上から退避させることができる。このため、苗木植付装置は、従来のようにドリルと植付チャックのいずれかが植付軸上で上方に退避する構成と比較して、上下方向の大きさを抑えた構成を実現できる。
【0008】
したがって、本発明に係る苗木植付装置は、安定性の向上を図ることができる。
【0009】
本発明の苗木植付装置はメインスライダを有し得る。メインスライダは、上下に延びるスライドレールに沿って移動自在である。ドリル移動機構部は、メインスライダに固定的に配置された穴形成ガイドレールと、この穴形成ガイドレール上を移動する穴形成スライド部材と、を有してドリルを上記軸に沿って移動させ得る。チャック移動機構部は、メインスライダに対して固定的に配置された植付ガイドレールと、この植付ガイドレール上を移動する植付スライド部材と、を有して植付チャックを上記軸に沿って移動させ得る。この場合、苗木植付装置は、装置全体の上下方向の大きさを一層抑えた構成を実現できる。詳細には、苗木植付装置は、全体的な高さを抑えつつ、穴形成部及び植付部の上下方向の移動量を確保することができる。
【0010】
本発明の苗木植付装置において、ドリル移動機構部は、上記軸に平行な任意の軸周りに旋回させてドリルを移動させ得る。この場合、苗木植付装置は、簡易な構成によるドリル移動機構部を実現できる。
(【0011】以降は省略されています)
この特許をJ-PlatPat(特許庁公式サイト)で参照する
関連特許
カヤバ株式会社
減圧弁
1か月前
カヤバ株式会社
緩衝器
1か月前
カヤバ株式会社
緩衝器
1か月前
カヤバ株式会社
防水構造
1か月前
カヤバ株式会社
ミキサ車
1か月前
カヤバ株式会社
ミキサ車
1か月前
カヤバ株式会社
ミキサ車
1か月前
カヤバ株式会社
電動ポンプ
3日前
カヤバ株式会社
摩擦試験機
1か月前
カヤバ株式会社
展開デッキ
1か月前
カヤバ株式会社
電動ポンプ
1か月前
カヤバ株式会社
ギヤポンプ
1か月前
カヤバ株式会社
ギヤポンプ
1か月前
カヤバ株式会社
ギヤポンプ
1か月前
カヤバ株式会社
高所作業装置
1か月前
カヤバ株式会社
苗木植付装置
1か月前
カヤバ株式会社
苗木植付装置
1か月前
カヤバ株式会社
苗木植付装置
1か月前
カヤバ株式会社
苗木植付装置
1か月前
カヤバ株式会社
苗木植付装置
1か月前
カヤバ株式会社
苗木抜出装置
1か月前
カヤバ株式会社
シリンダ装置
4日前
カヤバ株式会社
チェックバルブ
1か月前
カヤバ株式会社
回転機の製造方法
1か月前
カヤバ株式会社
筒型リニアモータ
1か月前
カヤバ株式会社
筒部材及び緩衝器
1か月前
カヤバ株式会社
筒部材及び緩衝器
1か月前
カヤバ株式会社
筒部材及び緩衝器
1か月前
カヤバ株式会社
ポンプの取付構造
1か月前
カヤバ株式会社
バルブおよび緩衝器
1か月前
カヤバ株式会社
バルブおよび緩衝器
1か月前
カヤバ株式会社
アクチュエータユニット
1か月前
カヤバ株式会社
ブッシュ及び液圧回転機
1か月前
カヤバ株式会社
ステアバイワイヤユニット
1か月前
カヤバ株式会社
ミキサ車及び状態検出装置
1か月前
カヤバ株式会社
ミキサドラムのシール構造
1か月前
続きを見る
他の特許を見る