TOP
|
特許
|
意匠
|
商標
特許ウォッチ
Twitter
他の特許を見る
10個以上の画像は省略されています。
公開番号
2025145936
公報種別
公開特許公報(A)
公開日
2025-10-03
出願番号
2024046459
出願日
2024-03-22
発明の名称
高所作業装置
出願人
カヤバ株式会社
代理人
弁理士法人後藤特許事務所
主分類
B66F
9/22 20060101AFI20250926BHJP(巻上装置;揚重装置;牽引装置)
要約
【課題】ショックを抑制する。
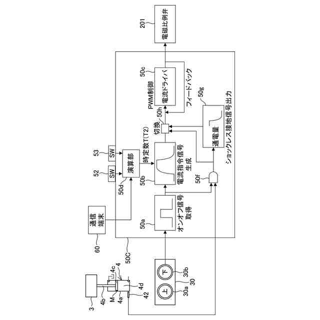
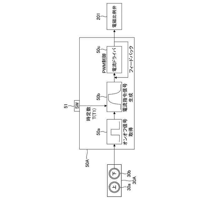
【解決手段】高所作業装置1は、作業台3を昇降させる油圧シリンダ4と、油圧シリンダ4から排出される作動油又は油圧シリンダ4に供給される作動油の流量を制御する電磁比例弁201と、電磁比例弁201の作動を制御するコントローラ50Aと、を備える。コントローラ50Aは、作業台3の作動、停止に用いられるオンオフ信号がオンとオフとの間で切り換えられた際に、オンオフ信号を時定数Tによってなまらせて電磁比例弁201の制御指令信号である電流指令信号を生成し、時定数Tは、油圧シリンダ4に作用する負荷に応じて設定される。
【選択図】図3
特許請求の範囲
【請求項1】
作業台を昇降させる流体圧アクチュエータと、
前記流体圧アクチュエータから排出される作動流体又は前記流体圧アクチュエータに供給される作動流体の流量を制御する電磁比例弁と、
前記電磁比例弁の作動を制御するコントローラと、を備え、
前記コントローラは、前記作業台の作動、停止に用いられるオンオフ信号がオンとオフとの間で切り換えられた際に、前記オンオフ信号を時定数によってなまらせて前記電磁比例弁の制御指令信号を生成し、
前記時定数は、前記流体圧アクチュエータに作用する負荷に応じて設定される、
ことを特徴とする高所作業装置。
続きを表示(約 490 文字)
【請求項2】
請求項1に記載の高所作業装置であって、
前記コントローラは、作業時の前記流体圧アクチュエータの負荷荷重又は負荷に応じた作動流体圧をA、前記流体圧アクチュエータの基準負荷荷重又は基準作動流体圧をA
0
、前記基準負荷荷重又は前記基準作動流体圧に対応する基準時定数をT
0
として、T=T
0
(1/√(√A/√A
0
))で示される式に基づき、前記時定数Tを設定する、
ことを特徴とする高所作業装置。
【請求項3】
請求項1又は2に記載の高所作業装置であって、
前記作業台は、複数の停止位置を有し、
前記コントローラは、前記複数の停止位置を指示可能な指示器からの信号と、前記複数の停止位置のそれぞれよりも手前で、前記作業台の位置を検出可能なセンサからの信号と、に基づき、前記時定数に応じた前記電磁比例弁の停止指令信号を生成し、同じタイミングで、生成された前記停止指令信号に基づき前記電磁比例弁の作動を制御する、
ことを特徴とする高所作業装置。
発明の詳細な説明
【技術分野】
【0001】
本発明は高所作業装置に関する。
続きを表示(約 1,300 文字)
【背景技術】
【0002】
特許文献1には、電磁パイロット弁に並列に接続されるコンデンサ、抵抗の時定数分だけ遅れて電磁パイロット弁を消磁させることで、停止ショックを小さくする技術が開示されている。
【先行技術文献】
【特許文献】
【0003】
特開平05-132247号公報
【発明の概要】
【発明が解決しようとする課題】
【0004】
上記技術では、時定数が固定されているので、負荷に応じて停止位置が異なってしまい、作業上のストレスとなる。
【0005】
本発明はこのような課題に鑑みてなされたもので、作業員の作業上のストレスを低減することを目的とする。
【課題を解決するための手段】
【0006】
本発明は、作業台を昇降させる流体圧アクチュエータと、流体圧アクチュエータから排出される作動流体又は流体圧アクチュエータに供給される作動流体の流量を制御する電磁比例弁と、電磁比例弁の作動を制御するコントローラと、を備え、コントローラは、作業台の作動、停止に用いられるオンオフ信号がオンとオフとの間で切り換えられた際に、オンオフ信号を時定数によってなまらせて電磁比例弁の制御指令信号を生成し、時定数は、流体圧アクチュエータに作用する負荷に応じて設定される、ことを特徴とする。
【0007】
この発明によれば、流体圧アクチュエータの負荷に応じて設定された時定数でオンオフ信号をなまらせて電磁比例弁の制御指令信号を生成するので、負荷に応じた適切な度合いで作業台を緩やかに作動、停止させることができる。このため、ショックを抑制しつつも、作業員は負荷の大きさによらず、作業台を同程度の位置に止め易くなる。
【0008】
また、本発明は、コントローラは、作業時の流体圧アクチュエータの負荷荷重又は負荷に応じた作動流体圧をA、流体圧アクチュエータの基準負荷荷重又は基準作動流体圧をA
0
、基準負荷荷重又は基準作動流体圧に対応する基準時定数をT
0
として、T=T
0
(1/√(√A/√A
0
))で示される式に基づき、時定数Tを設定する、ことを特徴とする。
【0009】
この発明によれば、本発明者らが試行錯誤して見出した上述の式を用いることで、下降する作業台が停止指示に応じて直ちに停止せずに、一次遅れで緩やかに減速する際のオーバーラン量が、流体圧アクチュエータの負荷荷重又は負荷に応じた作動流体圧Aによらず同程度になるように時定数Tを設定できる。このため、ショックを抑制しつつも、作業員は負荷の大きさによらず、作業台を同程度の位置に止め易くなる。
【0010】
また、本発明は、作業台は、複数の停止位置を有し、コントローラは、複数の停止位置を指示可能な指示器からの信号と、複数の停止位置のそれぞれよりも手前で、作業台の位置を検出可能なセンサからの信号と、に基づき、時定数に応じた電磁比例弁の停止指令信号を生成し、同じタイミングで、生成された停止指令信号に基づき電磁比例弁の作動を制御する、ことを特徴とする。
(【0011】以降は省略されています)
この特許をJ-PlatPat(特許庁公式サイト)で参照する
関連特許
カヤバ株式会社
緩衝器
3か月前
カヤバ株式会社
減圧弁
5日前
カヤバ株式会社
緩衝器
3か月前
カヤバ株式会社
電動ポンプ
1か月前
カヤバ株式会社
摩擦試験機
7日前
カヤバ株式会社
電動ポンプ
3日前
カヤバ株式会社
ベーンポンプ
2か月前
カヤバ株式会社
高所作業装置
3日前
カヤバ株式会社
冗長システム
1か月前
カヤバ株式会社
モータ制御装置
2か月前
カヤバ株式会社
チェックバルブ
7日前
カヤバ株式会社
電磁リリーフ弁
2か月前
カヤバ株式会社
流体圧制御装置
19日前
カヤバ株式会社
モータ制御装置
2か月前
カヤバ株式会社
回転機の製造方法
3日前
カヤバ株式会社
バルブおよび緩衝器
7日前
カヤバ株式会社
バルブおよび緩衝器
7日前
カヤバ株式会社
反力アクチュエータ
27日前
カヤバ株式会社
ステアバイワイヤ装置
1か月前
カヤバ株式会社
ブッシュ及び液圧回転機
3日前
カヤバ株式会社
アクチュエータユニット
17日前
カヤバ株式会社
ステアバイワイヤユニット
3日前
カヤバ株式会社
粒子検出装置及びプログラム
2か月前
カヤバ株式会社
モータ制御装置、及びプログラム
4日前
カヤバ株式会社
インレットブロック及びバルブ装置
17日前
個人
自走手摺
2か月前
ユニパルス株式会社
吊具
4か月前
個人
海上コンテナ昇降装置
9か月前
ユニパルス株式会社
荷役装置
9か月前
ユニパルス株式会社
吊具装置
10か月前
水戸工業株式会社
吊り具
6か月前
株式会社いうら
車椅子用昇降機
2か月前
株式会社豊田自動織機
産業車両
25日前
株式会社豊田自動織機
荷役車両
9か月前
ユニパルス株式会社
リフト装置
4か月前
株式会社豊田自動織機
荷役車両
8か月前
続きを見る
他の特許を見る