TOP
|
特許
|
意匠
|
商標
特許ウォッチ
Twitter
他の特許を見る
10個以上の画像は省略されています。
公開番号
2025154635
公報種別
公開特許公報(A)
公開日
2025-10-10
出願番号
2024057750
出願日
2024-03-29
発明の名称
苗木植付装置
出願人
カヤバ株式会社
代理人
弁理士法人グランダム特許事務所
主分類
A01G
23/04 20060101AFI20251002BHJP(農業;林業;畜産;狩猟;捕獲;漁業)
要約
【課題】安定した苗木の植え付け作業を容易に行うことができる苗木植付装置を提供する。
【解決手段】苗木植付装置1は、任意の軸(植付軸P)上の地面に苗木Sを植え付ける。苗木植付装置1は、穴形成部50と、植付部60と、姿勢保持部80と、を備えている。穴形成部50は、任意の軸上の地面Gに穴Dを形成する。植付部60は、苗木Sを任意の軸上で移動させて穴Dに植え付ける。姿勢保持部80は、任意の軸が鉛直をなすように、苗木取出部30、穴形成部50、及び植付部60の姿勢を保持する。
【選択図】図1
特許請求の範囲
【請求項1】
任意の軸上の地面に苗木を植え付けるための苗木植付装置であって、
前記軸上の前記地面に穴を形成する穴形成部と、
前記苗木を前記軸上で移動させて前記穴に植え付ける植付部と、
前記軸が鉛直をなすように、前記穴形成部及び前記植付部の姿勢を保持する姿勢保持部と、
を備えている、苗木植付装置。
続きを表示(約 1,300 文字)
【請求項2】
前記地面を走行する走行部を備えており、
水平面上にある状態の前記走行部の走行方向を前後方向とした場合に、
前記姿勢保持部は、前記軸が鉛直をなすように、前記走行部に対してのロール方向の傾きを調整して前記穴形成部及び前記植付部の姿勢を保持する、請求項1に記載の苗木植付装置。
【請求項3】
前記地面を走行する走行部を備えており、
水平面上にある状態の前記走行部の走行方向を前後方向とした場合に、
前記姿勢保持部は、前記軸が鉛直をなすように、前記走行部に対してのピッチ方向の傾きを調整して前記穴形成部及び前記植付部の姿勢を保持する、請求項1に記載の苗木植付装置。
【請求項4】
前記地面を走行する走行部を備えており、
水平面上にある状態の前記走行部の走行方向を前後方向とした場合に、
ロール方向及びピッチ方向のうちのいずれか一方の方向である第1方向に、所定の第1軸周りに回転自在に前記走行部に連結された第1連結部と、
ロール方向及びピッチ方向のうちのいずれか他方の方向である第2方向に、所定の第2軸周りに回転自在に前記第1連結部に連結されるとともに、前記穴形成部及び前記植付部と連結する第2連結部と、
を備えており、
前記姿勢保持部は、前記走行部に対して前記第1連結部を前記第1方向に回転させる第1傾き調整部と、前記第1連結部に対して前記第2連結部を前記第2方向に回転させる第2傾き調整部と、を有し、
前記第1傾き調整部は、
前記第1連結部の前記走行部に対する前記第1軸周りの回転を軸支する第1軸支部と、
前記第1軸支部から第1所定距離離れた位置において前記走行部に固定された走行部側ブラケットと、
前記第1軸支部から第2所定距離離れた位置且つ前記走行部側ブラケットから前記第1軸周りに第1所定角度離れた位置において、前記第1連結部に固定された第1連結部側第1ブラケットと、
前記走行部側ブラケット及び前記第1連結部側第1ブラケットに両端を連結されるとともに、前記走行部側ブラケットと前記第1連結部側第1ブラケットとの間で伸縮して、前記走行部に対して前記第1連結部を前記第1軸周りに回転させる第1シリンダと、
を有しており、
前記第2傾き調整部は、
前記第2連結部の前記第1連結部に対する前記第2軸周りの回転を軸支する第2軸支部と、
前記第2軸支部から第3所定距離離れた位置において前記第1連結部に固定された第1連結部側第2ブラケットと、
前記第2軸支部から第4所定距離離れた位置且つ前記第1連結部側第2ブラケットから前記第2軸周りに第2所定角度離れた位置において、前記第2連結部に固定された第2連結部側ブラケットと、
前記第1連結部側第2ブラケット及び前記第2連結部側ブラケットに両端を連結されるとともに、前記第1連結部側第2ブラケットと前記第2連結部側ブラケットとの間で伸縮して、前記第1連結部に対して前記第2連結部を前記第2軸周りに回転させる第2シリンダと、
を有している、
請求項1に記載の苗木植付装置。
発明の詳細な説明
【技術分野】
【0001】
本発明は苗木植付装置に関する。
続きを表示(約 2,600 文字)
【背景技術】
【0002】
特許文献1は従来の苗木植付装置を開示している。この装置は、苗木を地面に植え付けるにあたり、架台上に配置した植え付け前の苗木をロボットハンドによって把持して取り出す。取り出された苗木は、オーガによって形成された穴に植え付けられる。
【先行技術文献】
【特許文献】
【0003】
国際公開第2016/171111号
【発明の概要】
【発明が解決しようとする課題】
【0004】
この種の苗木植付装置は、山地等の傾斜地における作業を求められる。このため、苗木の植え付け作業においては、安定性の確保が求められる。特許文献1の場合、苗木を植え付ける地面が傾斜していると、苗木が配置される架台も傾斜する。この場合、苗木は、地面の傾斜に応じた傾斜姿勢で架台に配置されるため、取り出し毎に苗木の姿勢が変化してしまい、ロボットアームによる苗木の把持精度が安定しないおそれがある。また、特許文献1の場合、地面が傾斜していると、オーガによって形成される穴や、この穴に植え付けられる苗木も、地面の傾斜に応じて傾いてしまい、苗木を安定して植え付けることができないおそれがある。
【0005】
本発明は、上記従来の実情に鑑みてなされたものであって、安定した苗木の植え付け作業を容易に行うことができる苗木植付装置を提供することを解決すべき課題としている。
【課題を解決するための手段】
【0006】
本発明に係る苗木植付装置は、任意の軸上の地面に苗木を植え付ける。苗木植付装置は、穴形成部と、植付部と、姿勢保持部と、を備えている。穴形成部は、任意の軸上の地面に穴を形成する。植付部は、苗木を任意の軸上で移動させて穴に植え付ける。姿勢保持部は、任意の軸が鉛直をなすように、穴形成部、及び植付部の姿勢を保持する。
【0007】
このような構成によって、苗木植付装置は、穴形成部による穴の形成と、この穴への植付部による苗木の植え付けと、を安定して行うことができる。苗木植付装置は、姿勢保持部を備えたことによって、地面の傾斜によって装置に傾きが生じた場合でも、穴形成部及び植付部の姿勢は、任意の軸が鉛直をなすように姿勢保持される。これによって、穴形成部及び植付部は、苗木の植え付け時において、地面の傾斜の度合に関わらず、苗木を鉛直方向に沿った姿勢で植え付けることができる。したがって、本発明に係る苗木植付装置は、苗木の植え付け作業を安定して行うことができる。
【0008】
苗木植付装置は、地面を走行する走行部を備え得る。姿勢保持部は、水平面上にある状態の走行部の走行方向を前後方向とした場合に、上記軸が鉛直をなすように、走行部に対してのロール方向の傾きを調整して穴形成部及び植付部の姿勢を保持する。この場合、苗木植付装置は、例えば、傾斜する地面に対して水平方向を前後方向として配置されることによって、上記軸の鉛直を保持できる。
【0009】
苗木植付装置は、地面を走行する走行部を備え得る。姿勢保持部は、水平面上にある状態の走行部の走行方向を前後方向とした場合に、上記軸が鉛直をなすように、走行部に対してのピッチ方向の傾きを調整して穴形成部及び植付部の姿勢を保持する。この場合、苗木植付装置は、例えば、傾斜する地面に対して傾斜方向を前後方向として配置されることによって、上記軸の鉛直を保持できる。
【0010】
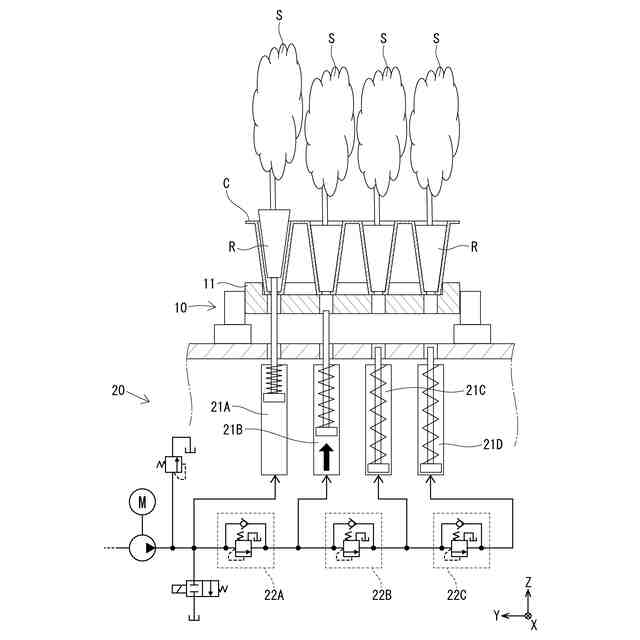
苗木植付装置は、地面を走行する走行部を備え得る。苗木植付装置は、第1連結部及び第2連結部を備え得る。第1連結部は、水平面上にある状態の走行部の走行方向を前後方向とした場合に、ロール方向及びピッチ方向のうちのいずれか一方の方向である第1方向に、所定の第1軸周りに回転自在に前記走行部に連結される。第2連結部は、ロール方向及びピッチ方向のうちのいずれか他方の方向である第2方向に、所定の第2軸周りに回転自在に第1連結部に連結されるとともに、穴形成部及び植付部と連結する。姿勢保持部は、第1傾き調整部及び第2傾き調整部を有する。第1傾き調整部は、走行部に対して第1連結部を第1方向に回転させる。第2傾き調整部は、第1連結部に対して第2連結部を第2方向に回転させる。第1傾き調整部は、第1軸支部と、走行部側ブラケットと、第1連結部側第1ブラケットと、第1シリンダと、を有する。第1軸支部は、第1連結部の走行部に対する第1軸周りの回転を軸支する。走行部側ブラケットは、第1軸支部から第1所定距離離れた位置において走行部に固定されている。第1連結部側第1ブラケットは、第1軸支部から第2所定距離離れた位置且つ走行部側ブラケットから第1軸周りに第1所定角度離れた位置において、第1連結部に固定されている。第1シリンダは、走行部側ブラケット及び第1連結部側第1ブラケットに両端を連結するとともに、走行部側ブラケットと第1連結部側第1ブラケットとの間で伸縮して、走行部に対して第1連結部を第1軸周りに回転させる。第2傾き調整部は、第2軸支部と、第1連結部側第2ブラケットと、第2連結部側ブラケットと、第2シリンダと、を有する。第2軸支部は、第2連結部の第1連結部に対する第2軸周りの回転を軸支する。第1連結部側第2ブラケットは、第2軸支部から第3所定距離離れた位置において第1連結部に固定されている。第2連結部側ブラケットは、第2軸支部から第4所定距離離れた位置且つ第1連結部側第2ブラケットから第2軸周りに第2所定角度離れた位置において、第2連結部に固定されている。第2シリンダは、第1連結部側第2ブラケット及び第2連結部側ブラケットに両端を連結するとともに、第1連結部側第2ブラケットと第2連結部側ブラケットとの間で伸縮して、第1連結部に対して第2連結部を第2軸周りに回転させる。この場合、苗木植付装置は、地面の傾斜の度合に関わらず苗木を鉛直方向に沿った姿勢で植え付けることができる構成を容易に実現できる。苗木植付装置は、傾斜面に対して如何様な方向を向いて配置された場合でも、上記軸の鉛直を保持できる。
【図面の簡単な説明】
(【0011】以降は省略されています)
この特許をJ-PlatPat(特許庁公式サイト)で参照する
関連特許
カヤバ株式会社
緩衝器
1か月前
カヤバ株式会社
緩衝器
1か月前
カヤバ株式会社
ミキサ車
28日前
カヤバ株式会社
防水構造
28日前
カヤバ株式会社
ミキサ車
28日前
カヤバ株式会社
ミキサ車
28日前
カヤバ株式会社
電動ポンプ
今日
カヤバ株式会社
展開デッキ
28日前
カヤバ株式会社
ギヤポンプ
28日前
カヤバ株式会社
ギヤポンプ
28日前
カヤバ株式会社
ギヤポンプ
28日前
カヤバ株式会社
シリンダ装置
1日前
カヤバ株式会社
苗木植付装置
28日前
カヤバ株式会社
高所作業装置
1か月前
カヤバ株式会社
苗木植付装置
28日前
カヤバ株式会社
苗木植付装置
28日前
カヤバ株式会社
苗木抜出装置
28日前
カヤバ株式会社
苗木植付装置
28日前
カヤバ株式会社
苗木植付装置
28日前
カヤバ株式会社
筒部材及び緩衝器
1か月前
カヤバ株式会社
ポンプの取付構造
1か月前
カヤバ株式会社
筒型リニアモータ
1か月前
カヤバ株式会社
筒部材及び緩衝器
1か月前
カヤバ株式会社
筒部材及び緩衝器
1か月前
カヤバ株式会社
ブッシュ及び液圧回転機
1か月前
カヤバ株式会社
ステアバイワイヤユニット
1か月前
カヤバ株式会社
ミキサ車及び状態検出装置
29日前
カヤバ株式会社
ミキサドラムのシール構造
28日前
カヤバ株式会社
ソレノイドバルブおよび緩衝器
1か月前
カヤバ株式会社
ソレノイドバルブおよび緩衝器
1か月前
カヤバ株式会社
ダンパ減衰力特性生成装置、ダンパ提示装置、及びプログラム
28日前
個人
草刈り鋏
21日前
個人
蠅捕獲器
17日前
個人
蜜蜂保護装置
8日前
個人
草刈機用回転刃
17日前
個人
種子の製造方法
14日前
続きを見る
他の特許を見る