TOP
|
特許
|
意匠
|
商標
特許ウォッチ
Twitter
他の特許を見る
公開番号
2025145131
公報種別
公開特許公報(A)
公開日
2025-10-03
出願番号
2024045157
出願日
2024-03-21
発明の名称
回転機の製造方法
出願人
カヤバ株式会社
代理人
弁理士法人後藤特許事務所
主分類
F04C
15/00 20060101AFI20250926BHJP(液体用容積形機械;液体または圧縮性流体用ポンプ)
要約
【課題】位置決めを改善する。
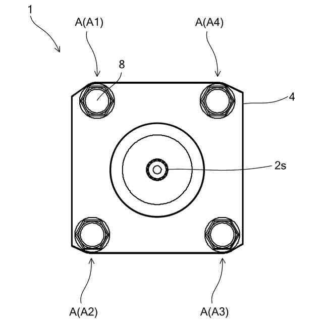
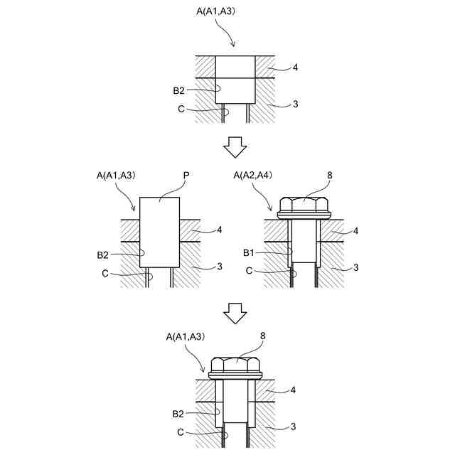
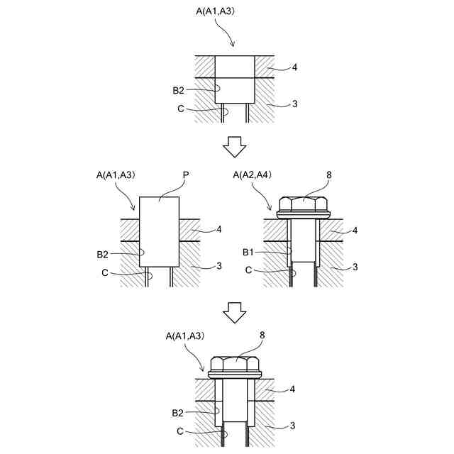
【解決手段】ポンプ1の製造方法は、複数のボルト締結箇所Aのうちボルト締結箇所A1,A3を、ボディ3とポンプカバー4との位置決め穴B2がボルト挿通穴を兼ねるかたちで形成された複数の位置決め締結箇所A1,A3とし、複数の位置決め締結箇所A1,A3において位置決め穴B2に位置決めピンPを挿入して、ポンプカバー4をボディ3に位置決めし、位置決めピンPによりポンプカバー4をボディ3に位置決めした状態で、複数の位置決め締結箇所A1,A3以外のボルト締結箇所Aをボルト締結し、位置決めピンPを外して複数の位置決め締結箇所A1,A3をボルト締結する。
【選択図】図3
特許請求の範囲
【請求項1】
ハウジングと、前記ハウジングに位置決め及びボルト止めされるカバーと、前記ハウジングから前記カバーに亘って回転自在に支持されるシャフトと、を有し、前記ハウジング及び前記カバーは、3つ以上の複数のボルト締結箇所を有する回転機の製造方法であって、
前記複数のボルト締結箇所のうち一部のボルト締結箇所であって少なくとも2つのボルト締結箇所を、前記ハウジングと前記カバーとの位置決め穴がボルト挿通穴を兼ねるかたちで形成された複数の位置決め締結箇所とし、
前記複数の位置決め締結箇所において前記位置決め穴に位置決めピンを挿入して、前記カバーを前記ハウジングに位置決めし、
前記位置決めピンにより前記カバーを前記ハウジングに位置決めした状態で、前記複数の位置決め締結箇所以外の前記ボルト締結箇所をボルト締結し、
前記位置決めピンを外して前記複数の位置決め締結箇所をボルト締結する、
ことを特徴とする回転機の製造方法。
続きを表示(約 200 文字)
【請求項2】
請求項1に記載の回転機の製造方法であって、
前記複数の位置決め締結箇所は、前記シャフトを挟んで対向配置された2つの位置決め締結箇所を含む、
ことを特徴とする回転機の製造方法。
【請求項3】
請求項2に記載の回転機の製造方法であって、
前記回転機は液圧回転機であり、前記カバーには流路が形成されている、
ことを特徴とする回転機の製造方法。
発明の詳細な説明
【技術分野】
【0001】
本発明は回転機の製造方法に関する。
続きを表示(約 1,200 文字)
【背景技術】
【0002】
特許文献1には、ケースと、ケースにボルト止めされるカバーと、ケースとカバーとにブッシュを介して回転可能に支持される軸と、ケースとカバーとに係合するノックピンと、を有する歯車ポンプが開示されている。
【先行技術文献】
【特許文献】
【0003】
特開平10-68389号公報
【発明の概要】
【発明が解決しようとする課題】
【0004】
カバーの位置決めにノックピンを用いると、ノックピンの分、部品コストが高くなる。また、ノックピンの圧入工程が必要になると共に、ノックピンのピン穴を設置するスペースを確保する必要がある。
【0005】
本発明はこのような課題に鑑みてなされたもので、位置決めを改善することを目的とする。
【課題を解決するための手段】
【0006】
本発明は、ハウジングと、ハウジングに位置決め及びボルト止めされるカバーと、ハウジングからカバーに亘って回転自在に支持されるシャフトと、を有し、ハウジング及びカバーは、3つ以上の複数のボルト締結箇所を有する回転機の製造方法であって、複数のボルト締結箇所のうち一部のボルト締結箇所であって少なくとも2つのボルト締結箇所を、ハウジングとカバーとの位置決め穴がボルト挿通穴を兼ねるかたちで形成された複数の位置決め締結箇所とし、複数の位置決め締結箇所において位置決め穴に位置決めピンを挿入して、カバーをハウジングに位置決めし、位置決めピンによりカバーをハウジングに位置決めした状態で、複数の位置決め締結箇所以外のボルト締結箇所をボルト締結し、位置決めピンを外して複数の位置決め締結箇所をボルト締結する、ことを特徴とする。
【0007】
この発明によれば、治具としての位置決めピンを位置決めに用いるので、回転機が位置決めピンを備えずに済む分、コストを低減できる。また、治具としての位置決めピンは、位置決め穴に挿入された後に外されるので、圧入工程も不要になる。さらに、位置決め穴はボルト挿通穴と一体化されるので、位置決め穴を設置するスペースを確保する必要はない。従って、コスト面や、製造面、スペースの面で有利な位置決め構成が得られ、位置決めを改善できる。
【0008】
また、本発明は、複数の位置決め締結箇所は、シャフトを挟んで対向配置された2つの位置決め締結箇所を含む、ことを特徴とする。
【0009】
この発明によれば、2つの位置決め締結箇所が周方向において分散して配置されるため、ボルトの軸力のバランス悪化を抑制できる。
【0010】
また、本発明は、回転機は液圧回転機であり、カバーには流路が形成されている、ことを特徴とする。
(【0011】以降は省略されています)
この特許をJ-PlatPat(特許庁公式サイト)で参照する
関連特許
個人
海流製造装置。
1か月前
株式会社スギノマシン
圧縮機
20日前
株式会社ツインバード
送風装置
1か月前
株式会社ツインバード
送風装置
1か月前
日機装株式会社
遠心ポンプ
12日前
樫山工業株式会社
真空ポンプ
21日前
サンデン株式会社
スクロール圧縮機
26日前
サンデン株式会社
スクロール圧縮機
26日前
サンデン株式会社
スクロール圧縮機
26日前
株式会社アイシン
ポンプケース
1か月前
株式会社島津製作所
真空ポンプ
1か月前
エドワーズ株式会社
真空ポンプ
1か月前
株式会社ナノバブル研究所
気液駆動装置
1か月前
NTN株式会社
電動オイルポンプ
27日前
テラル株式会社
ポンプ
20日前
株式会社ミクニ
電動ポンプ
12日前
株式会社ミクニ
電動ポンプ
12日前
已久工業股ふん有限公司
エアコンプレッサ
27日前
株式会社吉野工業所
吐出ポンプ
19日前
サンデン株式会社
スクロール式コンプレッサ
27日前
株式会社鶴見製作所
水中ポンプ
12日前
株式会社荏原製作所
ポンプ装置
12日前
有限会社 宮脇工房
往復ポンプ
22日前
株式会社鶴見製作所
水中ポンプ
1か月前
株式会社ミツバ
非容積型ポンプ
1か月前
株式会社三井E&S
ガス圧縮機
1か月前
株式会社鶴見製作所
水中ポンプ
12日前
株式会社豊田自動織機
回転圧縮機
22日前
株式会社荏原製作所
モータポンプ
26日前
株式会社豊田自動織機
回転圧縮機
22日前
株式会社荏原製作所
往復動ポンプ
2日前
大成技研株式会社
クライオポンプ
14日前
伏虎金属工業株式会社
スクリューポンプ
5日前
株式会社酉島製作所
液化ガス昇圧ポンプ
1か月前
日立建機株式会社
油圧機器
21日前
株式会社豊田自動織機
スクロール型圧縮機
26日前
続きを見る
他の特許を見る