TOP
|
特許
|
意匠
|
商標
特許ウォッチ
Twitter
他の特許を見る
公開番号
2025145402
公報種別
公開特許公報(A)
公開日
2025-10-03
出願番号
2024045563
出願日
2024-03-21
発明の名称
スクロール型圧縮機
出願人
株式会社豊田自動織機
代理人
個人
,
個人
主分類
F04C
29/12 20060101AFI20250926BHJP(液体用容積形機械;液体または圧縮性流体用ポンプ)
要約
【課題】スクロール型圧縮機の圧縮効率を向上させること。
【解決手段】固定基板25aとサブリード弁57との接触によってサブ凹部43をシールするシール面積は、固定基板25aとメインリード弁55との接触によってメイン凹部42をシールするシール面積よりも大きい。これによれば、例えば、固定基板25aとサブリード弁57との接触によってサブ凹部43をシールするシール面積が、固定基板25aとメインリード弁55との接触によってメイン凹部42をシールするシール面積以下である場合に比べると、固定基板25aとサブリード弁57との接触によってサブ凹部43をシールするシール性能が向上する。
【選択図】図7
特許請求の範囲
【請求項1】
流体を吸入するハウジング吸入ポート、及び流体を吐出するハウジング吐出ポートを有するハウジングと、
前記ハウジング内に収容され、回転軸心周りで回転可能に前記ハウジングに支持された回転軸と、
前記ハウジング内に収容され、前記ハウジングに固定された固定スクロール、及び前記回転軸の回転によって公転する旋回スクロールを有する圧縮機構と、を備え、
前記ハウジング内には、前記ハウジング吸入ポートから流体が吸入される吸入室、前記吸入室と連通するとともに前記固定スクロールと前記旋回スクロールとの噛み合わせによって流体を圧縮する圧縮室、及び前記圧縮室と連通可能であるとともに前記圧縮室から吐出された流体が吐出される吐出室が区画され、
前記固定スクロールは、円盤状の固定基板、及び前記固定基板から起立するとともに渦巻状の固定渦巻壁を有し、
前記旋回スクロールは、前記固定基板と対向する円盤状の旋回基板、及び前記旋回基板から前記固定基板に向けて起立するとともに渦巻状の旋回渦巻壁を有し、
前記固定基板の中央には、圧縮された流体を前記吐出室に吐出するメイン吐出ポートが形成され、
前記固定基板における前記メイン吐出ポートとは異なる部位には、前記圧縮室の圧力が設定圧力以上となった時に前記圧縮室内の流体を前記吐出室に吐出するサブ吐出ポートが形成され、
前記固定基板には、前記メイン吐出ポートを開閉する板状のメインリード弁、及び前記サブ吐出ポートを開閉する板状のサブリード弁が設けられているスクロール型圧縮機であって、
前記メイン吐出ポートには、前記メインリード弁に向けて吐出される流体の流路の断面積が大きくなるように前記メインリード弁に向けて開口するメイン凹部が形成されており、
前記サブ吐出ポートには、前記サブリード弁に向けて吐出される流体の流路の断面積が大きくなるように前記サブリード弁に向けて開口するサブ凹部が形成されており、
前記固定基板と前記サブリード弁との接触によって前記サブ凹部をシールするシール面積は、前記固定基板と前記メインリード弁との接触によって前記メイン凹部をシールするシール面積よりも大きいことを特徴とするスクロール型圧縮機。
続きを表示(約 630 文字)
【請求項2】
前記サブ凹部の開口面積は、前記メイン凹部の開口面積よりも小さいとともに、前記サブリード弁の面積は、前記メインリード弁の面積よりも大きいことを特徴とする請求項1に記載のスクロール型圧縮機。
【請求項3】
前記メインリード弁と前記固定基板との間には、互いを接続するアーム状のメインアーム部が設けられ、
前記固定基板には、前記メインアーム部の延在方向に対して交差するとともに、前記メインアーム部とは接触しない凹状のメイン溝が設けられ、
前記固定基板と前記メインリード弁との接触によって前記メイン凹部をシールするシール面積は、前記メイン溝よりも前記メイン吐出ポート側における前記固定基板と前記メインリード弁との接触によって区画されていることを特徴とする請求項1又は請求項2に記載のスクロール型圧縮機。
【請求項4】
前記サブリード弁と前記固定基板との間には、互いを接続するアーム状のサブアーム部が設けられ、
前記固定基板には、前記サブアーム部の延在方向に対して交差するとともに、前記サブアーム部とは接触しない凹状のサブ溝が設けられ、
前記固定基板と前記サブリード弁との接触によって前記サブ凹部をシールするシール面積は、前記サブ溝よりも前記サブ吐出ポート側における前記固定基板と前記サブリード弁との接触によって区画されていることを特徴とする請求項1又は請求項2に記載のスクロール型圧縮機。
発明の詳細な説明
【技術分野】
【0001】
本発明は、スクロール型圧縮機に関する。
続きを表示(約 2,800 文字)
【背景技術】
【0002】
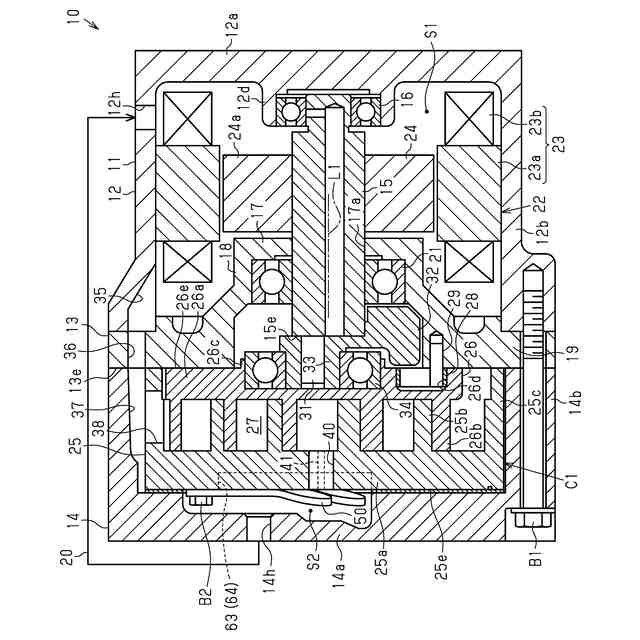
スクロール型圧縮機は、ハウジングと、回転軸と、圧縮機構と、を備えている。ハウジングは、ハウジング吸入ポート、及びハウジング吐出ポートを有している。ハウジング吸入ポートは、流体を吸入する。ハウジング吐出ポートは、流体を吐出する。回転軸は、ハウジング内に収容されている。回転軸は、回転軸心周りで回転可能にハウジングに支持されている。圧縮機構は、ハウジング内に収容されている。圧縮機構は、固定スクロール、及び旋回スクロールを有している。固定スクロールは、ハウジングに固定されている。旋回スクロールは、回転軸の回転によって公転する。
【0003】
ハウジング内には、吸入室、圧縮室、及び吐出室が区画されている。吸入室には、ハウジング吸入ポートから流体が吸入される。圧縮室は、吸入室と連通する。圧縮室は、固定スクロールと旋回スクロールとの噛み合わせによって流体を圧縮する。吐出室は、圧縮室と連通可能である。吐出室には、圧縮室から吐出された流体が吐出される。
【0004】
固定スクロールは、円盤状の固定基板、及び渦巻状の固定渦巻壁を有している。固定渦巻壁は、固定基板から起立している。旋回スクロールは、円盤状の旋回基板、及び渦巻状の旋回渦巻壁を有している。旋回基板は、固定基板と対向している。旋回渦巻壁は、旋回基板から固定基板に向けて起立している。固定基板の中央には、メイン吐出ポートが形成されている。メイン吐出ポートは、圧縮された流体を吐出室に吐出する。
【0005】
このようなスクロール型圧縮機においては、例えば、液冷媒のような液化した流体が圧縮室内に吸入されると、圧縮室内で液圧縮が発生する場合がある。このように、圧縮室内で液圧縮が発生すると、圧縮室内の圧力が異常に高圧となってしまう虞がある。このような過圧縮が圧縮室内で発生してしまうと、例えば、固定渦巻壁及び旋回渦巻壁が変形してしまう等の不具合が生じてしまうため、スクロール型圧縮機の信頼性が悪化してしまう。
【0006】
そこで、例えば特許文献1のように、サブ吐出ポートを備えたスクロール型圧縮機が知られている。特許文献1のスクロール型圧縮機では、サブ吐出ポートは、圧縮室の圧力が設定圧力以上となった時に圧縮室内の流体を吐出する。これによれば、例えば、圧縮室内に液化した流体が吸入されたとしても、圧縮室内の圧力が異常な高圧となる前に、液化した流体がサブ吐出ポートから吐出される。したがって、圧縮室内の圧力が異常に高圧となってしまうことが回避される。
【先行技術文献】
【特許文献】
【0007】
特開昭61-223288号公報
【発明の概要】
【発明が解決しようとする課題】
【0008】
ところで、このようなサブ吐出ポートが固定基板におけるメイン吐出ポートとは異なる部位に形成されている場合、スクロール型圧縮機においては、固定基板に、板状のメインリード弁、及び板状のサブリード弁が設けられている。メインリード弁は、メイン吐出ポートを開閉する。サブリード弁は、サブ吐出ポートを開閉する。このとき、スクロール型圧縮機が通常運転を行っている際に、圧縮室の圧力が設定圧力以上となっていないにもかかわらず、圧縮室内の圧力変動によって、サブリード弁が開弁してしまう場合がある。すると、圧縮室の圧力が設定圧力以上となっていないにもかかわらず、圧縮室内で圧縮されている途中の流体がサブ吐出ポートを介して吐出室に洩れてしまうため、スクロール型圧縮機の圧縮効率の悪化を招く虞がある。
【課題を解決するための手段】
【0009】
上記課題を解決するスクロール型圧縮機は、流体を吸入するハウジング吸入ポート、及び流体を吐出するハウジング吐出ポートを有するハウジングと、前記ハウジング内に収容され、回転軸心周りで回転可能に前記ハウジングに支持された回転軸と、前記ハウジング内に収容され、前記ハウジングに固定された固定スクロール、及び前記回転軸の回転によって公転する旋回スクロールを有する圧縮機構と、を備え、前記ハウジング内には、前記ハウジング吸入ポートから流体が吸入される吸入室、前記吸入室と連通するとともに前記固定スクロールと前記旋回スクロールとの噛み合わせによって流体を圧縮する圧縮室、及び前記圧縮室と連通可能であるとともに前記圧縮室から吐出された流体が吐出される吐出室が区画され、前記固定スクロールは、円盤状の固定基板、及び前記固定基板から起立するとともに渦巻状の固定渦巻壁を有し、前記旋回スクロールは、前記固定基板と対向する円盤状の旋回基板、及び前記旋回基板から前記固定基板に向けて起立するとともに渦巻状の旋回渦巻壁を有し、前記固定基板の中央には、圧縮された流体を前記吐出室に吐出するメイン吐出ポートが形成され、前記固定基板における前記メイン吐出ポートとは異なる部位には、前記圧縮室の圧力が設定圧力以上となった時に前記圧縮室内の流体を前記吐出室に吐出するサブ吐出ポートが形成され、前記固定基板には、前記メイン吐出ポートを開閉する板状のメインリード弁、及び前記サブ吐出ポートを開閉する板状のサブリード弁が設けられているスクロール型圧縮機であって、前記メイン吐出ポートには、前記メインリード弁に向けて吐出される流体の流路の断面積が大きくなるように前記メインリード弁に向けて開口するメイン凹部が形成されており、前記サブ吐出ポートには、前記サブリード弁に向けて吐出される流体の流路の断面積が大きくなるように前記サブリード弁に向けて開口するサブ凹部が形成されており、前記固定基板と前記サブリード弁との接触によって前記サブ凹部をシールするシール面積は、前記固定基板と前記メインリード弁との接触によって前記メイン凹部をシールするシール面積よりも大きい。
【0010】
これによれば、例えば、固定基板とサブリード弁との接触によってサブ凹部をシールするシール面積が、固定基板とメインリード弁との接触によってメイン凹部をシールするシール面積以下である場合に比べると、固定基板とサブリード弁との接触によってサブ凹部をシールするシール性能を向上させることができる。したがって、スクロール型圧縮機が通常運転を行っている際に、圧縮室の圧力が設定圧力以上となっていないにもかかわらず、圧縮室内の圧力変動によって、サブリード弁が開弁してしまうといった問題を回避し易くすることができる。よって、圧縮室の圧力が設定圧力以上となっていないにもかかわらず、圧縮室内で圧縮されている途中の流体がサブ吐出ポートを介して吐出室に洩れてしまうことを抑制することができる。その結果、スクロール型圧縮機の圧縮効率を向上させることができる。
(【0011】以降は省略されています)
この特許をJ-PlatPat(特許庁公式サイト)で参照する
関連特許
個人
海流製造装置。
2か月前
株式会社スギノマシン
圧縮機
2か月前
株式会社ツインバード
送風装置
2か月前
株式会社ツインバード
送風装置
2か月前
カヤバ株式会社
電動ポンプ
1か月前
日機装株式会社
遠心ポンプ
1か月前
株式会社不二越
電動油圧ポンプ
3日前
ビッグボーン株式会社
送風装置
3か月前
株式会社不二越
電動油圧ポンプ
3日前
株式会社ノーリツ
ロータリ圧縮機
3か月前
サンデン株式会社
スクロール圧縮機
2か月前
樫山工業株式会社
真空ポンプ
2か月前
サンデン株式会社
スクロール圧縮機
2か月前
サンデン株式会社
スクロール圧縮機
2か月前
サンデン株式会社
可変容量型圧縮機
1か月前
エドワーズ株式会社
真空ポンプ
2か月前
株式会社豊田自動織機
流体機械
3か月前
株式会社島津製作所
真空ポンプ
2か月前
株式会社アイシン
ポンプケース
2か月前
株式会社ニクニ
縦型スクリューポンプ
4日前
株式会社クボタ
作業機
1か月前
株式会社チロル
送風機、送風機付衣服
3か月前
株式会社島津製作所
真空ポンプ
3か月前
株式会社ナノバブル研究所
気液駆動装置
2か月前
株式会社豊田自動織機
電動圧縮機
3か月前
サンデン株式会社
ヘリカルコンプレッサ
5日前
株式会社豊田自動織機
電動圧縮機
3か月前
株式会社豊田自動織機
電動圧縮機
3か月前
株式会社豊田自動織機
電動圧縮機
3か月前
サンデン株式会社
ヘリカルコンプレッサ
5日前
サンデン株式会社
ヘリカルコンプレッサ
5日前
株式会社豊田自動織機
電動圧縮機
3か月前
NTN株式会社
電動オイルポンプ
2か月前
已久工業股ふん有限公司
エアコンプレッサ
3か月前
株式会社ミクニ
電動ポンプ
1か月前
リンナイ株式会社
遠心ファン
3か月前
続きを見る
他の特許を見る