TOP
|
特許
|
意匠
|
商標
特許ウォッチ
Twitter
他の特許を見る
公開番号
2025175451
公報種別
公開特許公報(A)
公開日
2025-12-03
出願番号
2024081577
出願日
2024-05-20
発明の名称
ヘリカルコンプレッサ
出願人
サンデン株式会社
代理人
個人
主分類
F04C
18/344 20060101AFI20251126BHJP(液体用容積形機械;液体または圧縮性流体用ポンプ)
要約
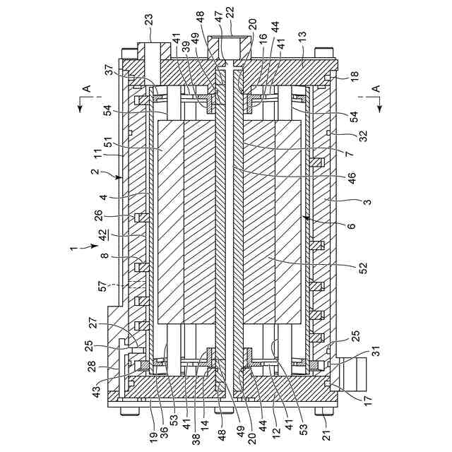
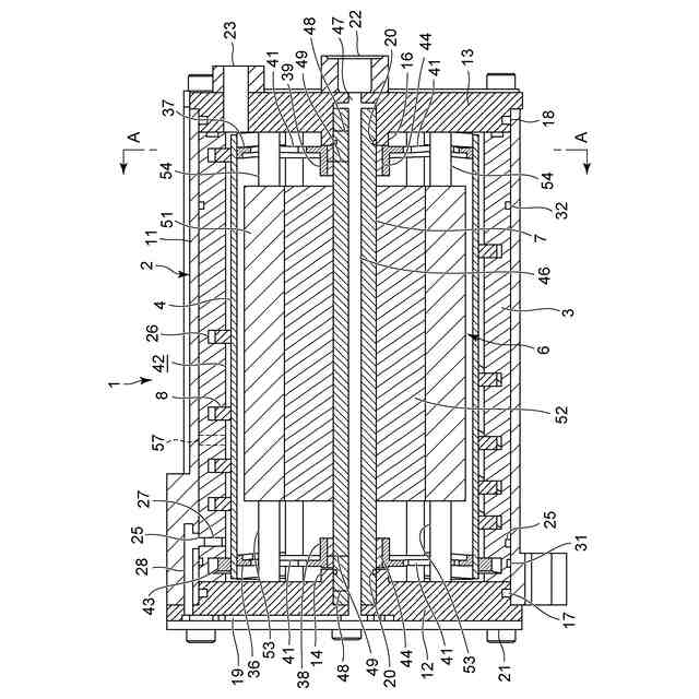
【課題】組立作業性と運転効率の改善を図ったヘリカルコンプレッサを提供する。
【解決手段】ヘリカルコンプレッサ1は、シリンダ3と、シリンダ3の内側に配置され、当該シリンダ3に対して公転されるローラ4と、シリンダ3とローラ4の間に構成される圧縮室42を区画する螺旋状のブレード8を備え、圧縮室42の容積が、ローラ4の公転によってシリンダ3のスラスト方向に進行しながら減少することで、圧縮室42に吸入された冷媒が圧縮される。シリンダ3及びローラ4を内部に密閉収容する外側ケーシング2を備え、シリンダ3は、外側ケーシング2の内側において、少なくともラジアル方向に移動可能に配設される。
【選択図】図1
特許請求の範囲
【請求項1】
シリンダと、該シリンダの内側に配置され、当該シリンダに対して公転されるローラと、前記シリンダと前記ローラの間に構成される圧縮室を区画する螺旋状のブレードを備え、前記圧縮室の容積が、前記ローラの公転によって前記シリンダのスラスト方向に進行しながら減少することで、前記圧縮室に吸入された作動流体が圧縮されるヘリカルコンプレッサにおいて、
前記シリンダ及び前記ローラを内部に密閉収容する外側ケーシングを備え、
前記シリンダは、前記外側ケーシングの内側において、少なくともラジアル方向に移動可能に配設されていることを特徴とするヘリカルコンプレッサ。
続きを表示(約 1,400 文字)
【請求項2】
前記シリンダの内面に形成された螺旋状溝を備え、
前記ブレードは、前記螺旋状溝に出没可能に嵌め込まれていることを特徴とする請求項1に記載のヘリカルコンプレッサ。
【請求項3】
前記シリンダに形成され、前記圧縮室の作動流体を前記シリンダと前記外側ケーシング間に供給する作動流体供給流路を備えたことを特徴とする請求項1に記載のヘリカルコンプレッサ。
【請求項4】
前記シリンダと前記外側ケーシング間を、スラスト方向において区画するガスケットを備えたことを特徴とする請求項3に記載のヘリカルコンプレッサ。
【請求項5】
前記ガスケットは、所定の弾性を有する部材にて構成されていることを特徴とする請求項4に記載のヘリカルコンプレッサ。
【請求項6】
シャフトを介して前記ローラを駆動するモータと、
前記外側ケーシングのスラスト方向両端に位置するケーシング側板を備え、
前記シャフトは前記ローラ内を通過して、前記各ケーシング側板にそれぞれ形成された軸受部に軸支されると共に、
前記シャフトには、前記圧縮室にて圧縮された作動流体が通過する吐出ガス経路と、該吐出ガス経路と前記軸受部を連通する給油用オリフィスが形成されていることを特徴とする請求項1に記載のヘリカルコンプレッサ。
【請求項7】
前記ローラのスラスト方向両端に位置し、前記シャフトが貫通するローラホイールと、
前記シャフトに設けられ、前記ローラホイールに摺動自在に当接して前記ローラを公転させるカムリングを備え、
前記シャフトには、前記吐出ガス経路と前記カムリングの摺動部を連通する給油用オリフィスが形成されていることを特徴とする請求項6に記載のヘリカルコンプレッサ。
【請求項8】
前記ケーシング側板に形成され、前記シリンダ及び前記ローラ間の圧縮室と前記シャフトの吐出ガス経路とを連通するオイル分離用の吐出ガス経路を備えたことを特徴とする請求項6に記載のヘリカルコンプレッサ。
【請求項9】
前記オイル分離用の吐出ガス経路は、何れか一方の前記ケーシング側板に形成されると共に、
前記作動流体を前記シリンダ及び前記ローラ間の圧縮室に吸入する吸入ポートと、前記シャフトの吐出ガス経路から作動流体を吐出する吐出ポートは、他方の前記ケーシング側板に設けられていることを特徴とする請求項8に記載のヘリカルコンプレッサ。
【請求項10】
前記ローラのスラスト方向両端に位置するローラホイールと、
各ローラホイールを貫通して前記ローラ内を通過するシャフトと、
該シャフトに設けられ、前記ローラを公転させるカムリングと、
前記ローラ内に設けられ、前記シャフトを介して前記ローラを駆動するモータを備え、
該モータは、固定子と、前記シャフトに取り付けられて前記固定子の内側で回転する回転子を有し、
前記固定子を前記外側ケーシングに保持し、前記固定子に給電する固定脚が設けられ、
前記ローラホイールには、前記固定脚を通過させる通過部が形成されていることを特徴とする請求項1に記載のヘリカルコンプレッサ。
(【請求項11】以降は省略されています)
発明の詳細な説明
【技術分野】
【0001】
本発明は、シリンダと、このシリンダの内側で公転するローラとの間の圧縮室を螺旋状のブレードで区画することで作動流体を圧縮するヘリカルコンプレッサに関するものである。
続きを表示(約 1,400 文字)
【背景技術】
【0002】
従来よりヘリカルコンプレッサは、シリンダと、このシリンダの内側に設けられたローラと、シリンダとローラの間の圧縮室を区画するブレードを有しており、シリンダに対してローラを公転させ、それにより圧縮室の容積をシリンダのスラスト方向に進行しながら減少させることで、圧縮室に吸入された作動流体を圧縮する構造とされていた(例えば、特許文献1参照)。
【0003】
その場合、シリンダの内面に螺旋状溝を形成し、この螺旋状溝にブレードを出没可能に嵌め込むものや(例えば、特許文献2参照)、逆にローラの外面に螺旋状溝を形成して、ブレードを出没可能に嵌め込むものが開発されていた(例えば、特許文献3参照)。
【先行技術文献】
【特許文献】
【0004】
特許第6024487号公報
特開2003-28084号公報
特開2006-77745号公報
【発明の概要】
【発明が解決しようとする課題】
【0005】
しかしながら、何れの構造においてもシリンダは固定されており、その内側で公転されるローラやブレードの位置だしを厳密に行わないと、ローラとシリンダ間に隙間が発生し、作動流体の逆流が生じて圧縮効率が低下してしまうことになる。
【0006】
また、特許文献1や特許文献3ではブレードが出没可能に嵌め込まれる螺旋状溝がローラの外面に形成されているため、ローラの厚さ寸法を大きくする必要があり、重量が増大して動力ロスが発生する。特に、螺旋状溝をローラに形成する場合、圧縮室内の作動流体の圧力でブレードを介し、ローラがスラスト方向に押されるため、これによっても動力ロスが発生する。
【0007】
更に、特許文献1や特許文献2ではローラが自転するため、ローラとブレードの摺動速度が速くなる。この場合、ブレードは変形が前提となっており、材質には柔軟性が要求される(例えば、PTFE等)。そのため、ローラとブレードの摺動速度が速くなると、ブレードの摩耗が急激に進行して、ローラとブレード間に隙間が発生し、作動流体の逆流が生じることで圧縮効率が低下する。更にまた、ローラとブレード間の摺動抵抗が大きくなって動力ロスが発生してしまうという問題があった。
【0008】
本発明は、係る従来の技術的課題を解決するために成されたものであり、組立作業性と運転効率の改善を図ったヘリカルコンプレッサを提供することを目的とする。
【課題を解決するための手段】
【0009】
本発明のヘリカルコンプレッサは、シリンダと、このシリンダの内側に配置され、当該シリンダに対して公転されるローラと、シリンダとローラの間に構成される圧縮室を区画する螺旋状のブレードを備え、圧縮室の容積が、ローラの公転によってシリンダのスラスト方向に進行しながら減少することで、圧縮室に吸入された作動流体が圧縮されるものであって、シリンダ及びローラを内部に密閉収容する外側ケーシングを備え、シリンダは、外側ケーシングの内側において、少なくともラジアル方向に移動可能に配設されていることを特徴とする。
【0010】
請求項2の発明のヘリカルコンプレッサは、上記発明においてシリンダの内面に形成された螺旋状溝を備え、ブレードは、螺旋状溝に出没可能に嵌め込まれていることを特徴とする。
(【0011】以降は省略されています)
この特許をJ-PlatPat(特許庁公式サイト)で参照する
関連特許
サンデン株式会社
モータ
今日
サンデン株式会社
モータ
今日
サンデン株式会社
情報処理装置
1か月前
サンデン株式会社
車両用空調装置
6日前
サンデン株式会社
車両用空調装置
6日前
サンデン株式会社
車両用空調装置
6日前
サンデン株式会社
車両用空調装置
6日前
サンデン株式会社
車両用空調装置
6日前
サンデン株式会社
車両用空調装置
1日前
サンデン株式会社
車両用空調装置
1日前
サンデン株式会社
車両用空調装置
1日前
サンデン株式会社
インバータ装置
今日
サンデン株式会社
スクロール圧縮機
2か月前
サンデン株式会社
可変容量型圧縮機
1か月前
サンデン株式会社
スクロール圧縮機
2か月前
サンデン株式会社
車両用熱管理装置
6日前
サンデン株式会社
スクロール圧縮機
2か月前
サンデン株式会社
車両用空気調和装置
1か月前
サンデン株式会社
車両用空気調和装置
1か月前
サンデン株式会社
車両用空気調和装置
1か月前
サンデン株式会社
ヘリカルコンプレッサ
1日前
サンデン株式会社
ヘリカルコンプレッサ
1日前
サンデン株式会社
ヘリカルコンプレッサ
1日前
サンデン株式会社
熱マネジメントシステム
1か月前
サンデン株式会社
充電制御システム及び配車管理システム
1か月前
個人
海流製造装置。
2か月前
株式会社スギノマシン
圧縮機
1か月前
株式会社ツインバード
送風装置
2か月前
株式会社ツインバード
送風装置
2か月前
カヤバ株式会社
電動ポンプ
27日前
日機装株式会社
遠心ポンプ
1か月前
ビッグボーン株式会社
送風装置
3か月前
株式会社ノーリツ
ロータリ圧縮機
3か月前
サンデン株式会社
スクロール圧縮機
2か月前
サンデン株式会社
スクロール圧縮機
2か月前
サンデン株式会社
可変容量型圧縮機
1か月前
続きを見る
他の特許を見る