TOP
|
特許
|
意匠
|
商標
特許ウォッチ
Twitter
他の特許を見る
10個以上の画像は省略されています。
公開番号
2025137078
公報種別
公開特許公報(A)
公開日
2025-09-19
出願番号
2024036073
出願日
2024-03-08
発明の名称
送風装置
出願人
株式会社ツインバード
代理人
主分類
F04D
25/08 20060101AFI20250911BHJP(液体用容積形機械;液体または圧縮性流体用ポンプ)
要約
【課題】コンパクトに折り畳むことができる送風装置において、送風装置の収納時の安全性の向上と無駄な電力消費を抑えることができる送風装置を提供することを目的とする。
【解決手段】
送風部2と、モータ部3と、送風部2を支持する本体4と支持部材5からなる送風装置1において、モータ部3が第一接続部17を有し、本体4が第二接続部21と第三接続部22を有し、支持部材5が第四接続部30を有し、本体4が第一接地部29を有し、支持部材5が第二接地部34を有し、第一接続部17と前記第二接続部21が揺動可能に接続された第一揺動部23を有し、前記第三接続部22と前記第四接続部30が揺動可能に接続された第二揺動部35を有し、本体4と支持部材5が所定の角度開いた状態で送風部2が支持され、本体4と支持部材5が所定の角度開いたことを検知する検出部42を本体4に設けた送風装置。
【選択図】図10
特許請求の範囲
【請求項1】
前ガードと、後ガードと、前記前ガードと前記後ガードで画定される空間内に配置されるファンからなる送風部と、
前記送風部の背面に配置され、前記ファンを駆動するモータと、前記モータを収納するモータ部と、前記送風部を支持する本体と支持部材からなる送風装置において、
前記モータ部が第一接続部を有し、
前記本体が第二接続部と第三接続部を有し、
前記支持部材が第四接続部を有し、
前記本体が第一接地部を有し、
前記支持部材が第二接地部を有し、
前記第一接続部と前記第二接続部が揺動可能に接続された第一揺動部を有し、
前記第三接続部と前記第四接続部が揺動可能に接続された第二揺動部を有し、
前記第二揺動部によって前記本体と前記支持部材が所定の角度開いた状態で、設置面上に前記第一接地部と前記第二接地部を接地させることで、前記送風部が支持されるように構成し、
前記本体と前記支持部材が所定の角度開いたことを検出する検出部を前記本体に設けることを特徴とする送風装置。
発明の詳細な説明
【技術分野】
【0001】
本発明は、サーキュレーターなどの送風装置に関するものである。
続きを表示(約 2,000 文字)
【背景技術】
【0002】
従来、送風装置として、ファン部(本発明の送風部に相当する)と、床面上に載置されるベース部と、前記ファン部の左右両側に回動可能に取り付けられるとともに前記ベース部の左右両側に揺動自在に支持される一対のアーム有するフレーム部を備え、前記ベース部から前記アームが立ち上がって前記ファン部を揚げる自立姿勢と、前記アームと前記ベース部とが平行になり、全体として平板状となる折り畳み姿勢となる扇風機が知られている(例えば、特許文献1参照。)。
【先行技術文献】
【特許文献】
【0003】
実用新案登録第3191871号 公報
【発明の概要】
【発明が解決しようとする課題】
【0004】
しかしながら、このような扇風機の場合、折り畳み姿勢であっても、扇風機の電源を入れることができてしまうため、使用者が予期せぬときに羽根車が駆動してしまうという問題があった。また、扇風機の電源が入った状態で収納されてしまう可能性もあるため、無駄な電力を消費してしまうという問題もあった。また、扇風機がバッテリー駆動の仕様だった場合、折り畳み姿勢で収納されているときに誤って電源が入ってしまうとバッテリーが消費されてしまい、本来使用したいときにバッテリーが切れてしまっていて使用できないという問題もあった。
【0005】
本発明は以上の問題点を解決し、折り畳み状態のときに、使用者が誤って操作部を操作しても電源を入らないため安全性が向上し、また、収納時に電源が入らないようにすることで、無駄な電力消費を抑えることができる送風装置を提供することを目的とする。
【課題を解決するための手段】
【0006】
本発明の請求項1に記載の送風装置は、前ガードと、後ガードと、前記前ガードと前記後ガードで画定される空間内に配置されるファンからなる送風部と、前記送風部の背面に配置され、前記ファンを駆動するモータと、前記モータを収納するモータ部と、前記送風部を支持する本体と支持部材からなる送風装置において、前記モータ部が第一接続部を有し、前記本体が第二接続部と第三接続部を有し、前記支持部材が第四接続部を有し、前記本体が第一接地部を有し、前記支持部材が第二接地部を有し、前記第一接続部と前記第二接続部が揺動可能に接続された第一揺動部を有し、前記第三接続部と前記第四接続部が揺動可能に接続された第二揺動部を有し、前記第二揺動部によって前記本体と前記支持部材が所定の角度開いた状態で、設置面上に前記第一接地部と前記第二接地部を接地させることで、前記送風部が支持されるように構成し、前記本体と前記支持部材が所定の角度開いたことを検出する検出部を前記本体に設けるものである。
【発明の効果】
【0007】
本発明に記載の送風装置は、以上のように構成することにより、前記前本体と前記支持部材が所定の角度開いたことを検出する検出部を設けることで、前記本体と前記支持部材が閉じた状態のとき、すなわち収納状態のときに前記送風装置の電源が入らないようにすることができる。これにより、収納状態のときに使用者が誤って操作部を操作してしまっても、前記ファンが駆動せず安全性を向上させることができる。また、収納時に誤って前記送風装置の電源が入ってしまい無駄に電力を消費することを避けることができる。
【図面の簡単な説明】
【0008】
本発明の実施形態を示す送風装置の前方斜視図である。
同、送風装置の後方斜視図である。
同、送風方向を真上に向けたときの送風装置の前方斜視図である。
同、収納状態の送風装置の前方斜視図である。
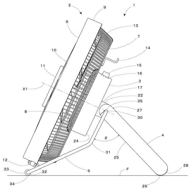
同、本体と支持部材を所定の角度開いた状態で送風方向が横の場合の送風装置の側面図である。
同、本体と支持部材を所定の角度開いた状態で送風方向が上の場合の送風装置の側面図である。
同、収納状態の送風装置の側面図である。
同、収納状態の送風装置の平面図である。
同、検出部の分解立体図である。
同、収納状態の送風装置の検出部の断面図である。
同、本体と支持部材を所定の角度開いた状態での検出部の断面図である。
同、電気回路のブロック図である。
【発明を実施するための形態】
【0009】
以下、本発明の実施形態について、図1から図12を用いて説明する。なお、実施形態の説明において、図1の左下方向を前、右上方向を後、右下方向を右、左上方向を左とする。
【0010】
1は本発明の送風装置である。この送風装置1は、送風部2と、モータ部3と、本体4と、支持部材5で構成される。
(【0011】以降は省略されています)
この特許をJ-PlatPat(特許庁公式サイト)で参照する
関連特許
個人
海流製造装置。
1か月前
株式会社スギノマシン
圧縮機
19日前
株式会社ツインバード
送風装置
1か月前
ダイニチ工業株式会社
空調装置
4か月前
株式会社ツインバード
送風装置
1か月前
日機装株式会社
遠心ポンプ
11日前
カヤバ株式会社
電動ポンプ
2か月前
ビッグボーン株式会社
送風装置
2か月前
株式会社不二越
蓄圧装置
2か月前
株式会社ノーリツ
ロータリ圧縮機
1か月前
株式会社酉島製作所
ポンプ
3か月前
株式会社ニクニ
液封式ポンプ装置
4か月前
個人
携帯型扇風機用の送風ノズル
4か月前
サンデン株式会社
スクロール圧縮機
25日前
サンデン株式会社
スクロール圧縮機
25日前
サンデン株式会社
スクロール圧縮機
25日前
株式会社不二越
ベーンポンプ
3か月前
樫山工業株式会社
真空ポンプ
20日前
株式会社ノーリツ
ロータリー圧縮機
3か月前
小倉クラッチ株式会社
ルーツブロア
3か月前
株式会社坂製作所
スクロール圧縮機
3か月前
株式会社アイシン
ポンプケース
1か月前
株式会社チロル
送風機、送風機付衣服
2か月前
株式会社島津製作所
真空ポンプ
1か月前
株式会社豊田自動織機
流体機械
1か月前
株式会社島津製作所
真空ポンプ
2か月前
エドワーズ株式会社
真空ポンプ
1か月前
株式会社コスメック
ピストン型ポンプ
4か月前
個人
連結式螺旋翼体及び流体移送装置
4か月前
株式会社豊田自動織機
電動圧縮機
2か月前
株式会社豊田自動織機
電動圧縮機
2か月前
株式会社豊田自動織機
電動圧縮機
2か月前
株式会社豊田自動織機
遠心圧縮機
4か月前
株式会社ナノバブル研究所
気液駆動装置
1か月前
NTN株式会社
電動オイルポンプ
26日前
株式会社豊田自動織機
遠心圧縮機
4か月前
続きを見る
他の特許を見る