TOP
|
特許
|
意匠
|
商標
特許ウォッチ
Twitter
他の特許を見る
公開番号
2025098538
公報種別
公開特許公報(A)
公開日
2025-07-02
出願番号
2023214739
出願日
2023-12-20
発明の名称
ポンプ
出願人
株式会社酉島製作所
代理人
個人
,
個人
主分類
F04D
29/60 20060101AFI20250625BHJP(液体用容積形機械;液体または圧縮性流体用ポンプ)
要約
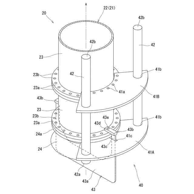
【課題】ポンプケーシングに対する渦抑制装置の固定位置の調整作業性を向上できるポンプを提供する。
【解決手段】ポンプ20は、下端に吸込口24bが形成された筒状の揚水管22と、揚水管22の下流側に間隔をあけて配置されて軸線Aに沿って延びる第1渦抑制部材42と、揚水管22の下側に配置された板状の第2渦抑制部材43と、揚水管22に着脱可能に取り付けられた板状の中間プレート41とを備える。第1渦抑制部材42と第2渦抑制部材43は、揚水管22に対して中間プレート41とともに移動可能に取り付けられている。
【選択図】図2
特許請求の範囲
【請求項1】
吸水槽内を上下方向に延び、下端に吸込口が形成された筒状の揚水管と、
前記吸水槽の最低水位に対応する前記揚水管の下部において、前記吸水槽内に水が流入する向きの下流側に間隔をあけて配置され、前記揚水管の軸線に沿って延びる第1渦抑制部材と、
前記吸込口を横断するように前記揚水管の下側に配置された板状の第2渦抑制部材と、
前記下流側へ突出するように前記揚水管に着脱可能に取り付けられ、前記軸線に対して交差する方向に延びる板状の中間プレートと
を備え、
前記第1渦抑制部材と前記第2渦抑制部材は、前記揚水管に対して前記中間プレートとともに移動可能に取り付けられている、ポンプ。
続きを表示(約 780 文字)
【請求項2】
前記揚水管は、第1フランジ部を含む直管と、第2フランジ部及び前記吸込口を含む吸込ベルとを有し、前記第1フランジ部と前記第2フランジ部の締結によって前記直管の下側に前記吸込ベルを連設した構成であり、
前記中間プレートは、前記第1フランジ部及び前記第2フランジ部と一緒に締結されている、請求項1に記載のポンプ。
【請求項3】
前記中間プレートは、前記揚水管に対して上下方向に間隔をあけて複数固定されており、
前記第1渦抑制部材は、複数の前記中間プレートに貫通して取り付けられ、
前記第2渦抑制部材は、最も下側に位置する前記中間プレートに係着されている、
請求項1又は2に記載のポンプ。
【請求項4】
前記第1渦抑制部材は、前記中間プレートに対して前記軸線まわりの周方向に間隔をあけて複数取り付けられている、請求項1又は2に記載のポンプ。
【請求項5】
前記周方向に隣り合う前記第1渦抑制部材は、60度以上120度以下の間隔をあけて配置されている、請求項4に記載のポンプ。
【請求項6】
前記揚水管の内周面を直径Dとすると、前記軸線から前記第1渦抑制部材の中心までの距離R1は以下を満たす、請求項1又は2に記載のポンプ。
0.8D≦R1≦1.3D
D:揚水管の内周面の直径
R1:揚水管の軸線から第1渦抑制部材の中心までの距離
【請求項7】
前記揚水管の内周面を直径Dとすると、前記軸線から前記中間プレートの外周縁までの距離R2は以下を満たす、請求項1又は2に記載のポンプ。
1.0D≦R2≦1.5D
D:揚水管の内周面の直径
R2:揚水管の軸線から中間プレートの外周縁までの距離
発明の詳細な説明
【技術分野】
【0001】
本発明は、ポンプに関する。
続きを表示(約 1,900 文字)
【背景技術】
【0002】
ポンプ設備の吸水槽では、排水によって貯留された水量が最低水位に近くなると、ポンプ効率の低下及び振動の原因になる空気吸込渦や水中渦が生じ得る。近年では、吸水槽に対し、ポンプケーシングに向けた水の接近流速を早めること(高流速化)、及び流量増大が要望されているため、ポンプにとって有害な空気吸込渦や水中渦が発生する可能性が高くなっている。空気吸込渦とは、吸水槽内の水面からポンプの吸込口に向かう水流に、空気が連続的又は断続的に含まれた渦のことである。水中渦は、吸水槽の底面や側面から吸込口に向かう水流に、キャビテーションによる気体(泡)が連続的又は断続的に含まれた渦のことである。
【0003】
特許文献1には、ポンプケーシング内への空気吸込渦及び水中渦の流入を抑制する渦抑制装置が取り付けられたポンプが開示されている。渦抑制装置は、ポンプケーシングに対して吸水槽内に水が流入する向きの下流側に配置された複数の縦棒と、ポンプケーシングの下端に配置された+字形状の抑制板とを備える。複数の縦棒は、ポンプケーシングの外側に間隔をあけて固定されてポンプケーシングの軸線に沿って延び、吸込口への空気吸込渦の流入を阻害することによって抑制する。抑制板は、吸込口を横断するようにポンプケーシングの下端に固定され、吸込口への水中渦の流入を阻害することによって抑制する。
【先行技術文献】
【特許文献】
【0004】
特開2020-169626号
【発明の概要】
【発明が解決しようとする課題】
【0005】
吸水槽の形状は、ポンプ設備によって異なることがある。空気吸込渦及び水中渦が発生する場所は、吸水槽の形状によって異なり、予測困難である。そのため、特許文献1の渦抑制装置では、ポンプケーシングに対する縦棒と抑制板の固定位置を、実際の吸水槽の形状、つまり空気吸込渦と水中渦が発生する場所に応じて、個別に位置調整する必要がある。よって、特許文献1には、渦抑制装置の固定位置の調整作業性について、改善の余地がある。
【0006】
本発明は、ポンプケーシングに対する渦抑制装置の固定位置の調整作業性を向上できるポンプを提供することを課題とする。
【課題を解決するための手段】
【0007】
本発明は、吸水槽内を上下方向に延び、下端に吸込口が形成された筒状の揚水管と、前記吸水槽の最低水位に対応する前記揚水管の下部において、前記吸水槽内に水が流入する向きの下流側に間隔をあけて配置され、前記揚水管の軸線に沿って延びる第1渦抑制部材と、前記吸込口を横断するように前記揚水管の下側に配置された板状の第2渦抑制部材と、前記下流側へ突出するように前記揚水管に着脱可能に取り付けられ、前記軸線に対して交差する方向に延びる板状の中間プレートとを備え、前記第1渦抑制部材と前記第2渦抑制部材は、前記揚水管に対して前記中間プレートとともに移動可能に取り付けられている、ポンプを提供する。
【0008】
このポンプでは、揚水管の下流側に間隔をあけて配置された第1渦抑制部材によって、吸水槽内の水面から吸込口に向かう空気吸込渦の流れを阻害し、吸込口への空気吸込渦の流入を抑制できる。また、吸込口を横断するように揚水管の下側に配置された板状の第2渦抑制部材によって、吸水槽の壁面(底壁、側壁、下側端壁)から吸込口に向かう水中渦の流れを阻害し、吸込口への水中渦の流入を抑制できる。しかも、揚水管から下流側へ突出した板状の中間プレートによって、吸込口への空気吸込渦と水中渦の流入を補助的に抑制できる。そのため、有害な空気及びキャビテーションを含むことなく、吸水槽内の水を効率的に排出できる。
【0009】
一方で、第1渦抑制部材と第2渦抑制部材は、揚水管に対して中間プレートとともに移動可能に取り付けられている。よって、揚水管に対する中間プレートの固定位置を調整することによって、吸水槽に対する第1渦抑制部材の配置及び第2渦抑制部材の姿勢を一緒に調整できる。その結果、第1渦抑制部材及び第2渦抑制部材の固定位置の調整作業性を向上できるうえ、吸込口への空気吸込渦と水中渦の流入を効果的に抑制できる。
【発明の効果】
【0010】
本発明では、ポンプケーシングに対する渦抑制装置の固定位置の調整作業性を向上できる。
【図面の簡単な説明】
(【0011】以降は省略されています)
この特許をJ-PlatPat(特許庁公式サイト)で参照する
関連特許
株式会社酉島製作所
多段式流体機械
4日前
株式会社酉島製作所
液化ガス昇圧ポンプ
1か月前
個人
海流製造装置。
1か月前
株式会社スギノマシン
圧縮機
25日前
株式会社ツインバード
送風装置
1か月前
株式会社ツインバード
送風装置
1か月前
日機装株式会社
遠心ポンプ
17日前
カヤバ株式会社
電動ポンプ
2か月前
株式会社不二越
蓄圧装置
3か月前
ビッグボーン株式会社
送風装置
2か月前
株式会社ノーリツ
ロータリ圧縮機
2か月前
株式会社不二越
ベーンポンプ
3か月前
サンデン株式会社
スクロール圧縮機
1か月前
小倉クラッチ株式会社
ルーツブロア
3か月前
サンデン株式会社
スクロール圧縮機
1か月前
サンデン株式会社
可変容量型圧縮機
4日前
樫山工業株式会社
真空ポンプ
26日前
サンデン株式会社
スクロール圧縮機
1か月前
株式会社豊田自動織機
流体機械
1か月前
株式会社アイシン
ポンプケース
1か月前
株式会社島津製作所
真空ポンプ
1か月前
株式会社チロル
送風機、送風機付衣服
2か月前
株式会社島津製作所
真空ポンプ
2か月前
エドワーズ株式会社
真空ポンプ
1か月前
NTN株式会社
電動オイルポンプ
1か月前
株式会社豊田自動織機
電動圧縮機
2か月前
株式会社豊田自動織機
電動圧縮機
1か月前
株式会社豊田自動織機
電動圧縮機
3か月前
株式会社豊田自動織機
電動圧縮機
1か月前
株式会社豊田自動織機
電動圧縮機
3か月前
株式会社豊田自動織機
電動圧縮機
2か月前
株式会社ナノバブル研究所
気液駆動装置
1か月前
株式会社豊田自動織機
電動圧縮機
1か月前
已久工業股ふん有限公司
空気圧縮機構造
3か月前
株式会社豊田自動織機
電動圧縮機
3か月前
株式会社豊田自動織機
圧縮機
3か月前
続きを見る
他の特許を見る